于2021年6月2日向证券交易委员会提交。
注册号333-254909
美国
证券交易委员会
华盛顿特区20549
修正案1
到
表格F-1
注册声明
下
1933年证券法
香颂国际控股
(其章程中指定的注册人的确切名称)
| 开曼群岛 | 2000 | 不适用 | ||
| (州或其他司法管辖区 公司成立或组织) |
(主要标准工业 分类代码编号) |
(I.R.S.雇主 识别号) |
天山区文化路26号
中国新疆乌鲁木齐
+86-0991-2302709
(注册人主要执行办公室的地址(包括邮政编码)和电话号码(包括区号)
乔治·尚森(纽约)公司
西23街20号
纽约,纽约10010
917-545-1575
(服务代理商的名称,地址(包括邮政编码)和电话号码(包括区号))
并抄送至:
| 李颖,Esq。 纪尧姆·德·桑皮尼(Guillaume de Sampigny) Hunter Taubman Fischer&Li LLC |
Mengyi“Jason”Ye,等 Ortoli Rosenstadt LLP 麦迪逊大街366号3楼 纽约,纽约10017 212-588-0022 |
拟议向公众出售的大概日期:在本注册声明生效之日后立即。
| 如果要根据1933年《证券法》第415条的规定,以延迟或连续的方式提供在此表格上注册的任何证券,请选中以下框。 | ☒ |
| 如果根据《证券法》第462(b)条提交此表格以注册要约的其他证券,请选中以下框并列出同一要约的较早有效注册声明的《证券法》注册声明编号。 | ☐ |
| 如果此表格是根据《证券法》第462(c)条提交的生效后修正案,请选中以下框并列出同一产品的较早有效注册声明的《证券法》注册声明编号。 | ☐ |
| 如果此表格是根据《证券法》第462(d)条提交的生效后修正案,请选中以下框并列出同一产品的较早有效注册声明的《证券法》注册声明编号。 | ☐ |
| 用复选标记表示注册人是否是1933年《证券法》第405条所定义的新兴成长型公司。 | |
| 新兴成长公司 | ☒ |
| 如果新兴成长型公司按照美国公认会计原则编制财务报表,请用复选标记表示注册人是否选择不使用延长的过渡期来遵守根据第7(a)条提供的任何新的或经修订的财务会计准则)(2)(B)。 | ☒ |
注册费的计算
| 待登记证券的各类名称 | 金额为 BE 已注册 |
拟议中 最大 产品 每价格 分享 |
拟议中 最大 集合体 产品 价格(1) |
金额 注册 费用(2)(5) |
||||||||||||
| A类普通股,每股面值$0.00 1(3) | 3,450,000 | 6.00 | $ | 20,700,000 | $ | 2,258.37 | ||||||||||
| 承销商认股权证(4) | — | — | — | — | ||||||||||||
| 包销商认股权证所涉及的A类普通股 | 120,000 | 7.50 | $ | 900,000 | $ | 98.19 | ||||||||||
| 总计 | 3,570,000 | — | $ | 21,600,000 | $ | 2,356.56 | ||||||||||
| (1) | 仅根据根据1933年《证券法》(经修订)(“证券法”)第457(a)条确定注册费的金额进行估算。包括Univest Securities,LLC(“承销商”)可选择购买的最多450,000股额外股份的发行价,以弥补超额配售(如有)。 |
| (2) | 根据《证券法》第457(a)条的规定,根据对拟议的最高总发行价的估计计算得出。 |
| (3) | 根据规则416(a),我们还将注册不确定数量的其他A类普通股,这些普通股将根据规则416发行,以防止因股份分割,股利或类似交易而摊薄。 |
| (4) | 注册人将向承销商发行认股权证,以购买总计相当于发行中出售的A类普通股(“承销商认股权证”)的4%的A类普通股,不包括因行使承销商的超额配股权而出售的任何A类普通股。承销商认股权证的行使价等于特此发行的A类普通股发行价的125%。承销商认股权证可在发售开始之日起五年内随时不时全部或部分行使。 |
| (5) | 先前已付款。 |
在此,注册人应在可能延迟其生效日期的某个或多个日期修改此注册声明,直到注册人应提交进一步的修订,其中明确指出此注册声明应自此之后根据《证券法》第8(a)条生效。证券法,或直至注册声明书在证券交易委员会根据第8(a)条决定的日期生效为止。
本招股说明书中的信息不完整,可能会更改。在向证券交易委员会提交的注册声明生效之前,我们可能不会出售证券。本招股说明书不是要约出售这些证券,也不是在不允许该要约或出售的任何司法管辖区征求任何要约购买这些证券的要约。 |
待完成
2021年6月2日的初步招股说明书
3,000,000股A类普通股

香颂国际控股
这是我们每股面值0.00 1美元的A类普通股(“A类普通股”)的首次公开募股。Univest Securities,LLC(以下简称“承销商”)正在坚定的承诺基础上进行A类普通股的发行。请参阅“包销。”在此次发行之前,我们的每股面值0.00 1美元的A类普通股或B类普通股(“B类普通股”)没有公开市场。我们目前预计,A类普通股的首次公开发行价格将在每股4.00美元至6.00美元之间。
我们的法定股本为50,000美元,分为44,000,000股A类普通股和6,000,000股B类普通股,我们分别拥有3,060,000股A类普通股和5,940,000股B类普通股。A类普通股和B类普通股的持有人享有相同的权利,但投票权和转换权除外。对于需要所有股东投票的事项,每位A类普通股持有人将有权每一A类普通股获得一票,而每位B类普通股持有人将有权每一B类普通股获得10票。A类普通股不可转换为任何其他类别的股份。持有人可以选择在发行后随时一对一地将B类普通股转换为A类普通股。
为了使我们的A类普通股在纳斯达克资本市场上市,我们保留了股票代码“CHSN”,并申请在纳斯达克资本市场上市我们的A类普通股。本次发行完成的条件是,我们的A类普通股有资格在国家证券交易所上市。
投资我们的A类普通股涉及高度风险,包括损失全部投资的风险。请参阅从第11页开始的“风险因素”,以了解在购买我们的A类普通股之前应考虑的因素。
我们是联邦证券法所定义的“新兴成长型公司”,将受到减少的上市公司报告要求的约束。有关更多信息,请阅读本招股说明书第8页开始的披露。
此次发行完成后,假设不行使超额配股权,我们的最大股东将作为一个整体实益拥有我们已发行和流通的A类普通股和B类普通股总投票权的约86.62%,假设充分行使超额配股权,则约为86.03%。因此,根据纳斯达克市场规则5615(c),我们将被视为“受控公司”。但是,即使我们被视为“受控公司”,我们也不打算利用纳斯达克市场规则赋予“受控公司”的公司治理豁免。请参阅“风险因素”和“管理-受控公司”。”
| 每股 | 总计无超额配股权 | 有超额配股权的总计 | ||||||||||
| 首次公开发行价格 | $ | $ | $ | |||||||||
| 承销商的折扣(1) | $ | $ | $ | |||||||||
| 扣除费用前向我们公司的收益(2) | $ | $ | $ | |||||||||
| (1) | 有关我们与承销商的薪酬安排的更多信息,请参见“承销”。 |
| (2) | 与此次发行有关的估计总费用在“包销-折扣和费用”中列出。” |
我们已授予承销商选择权在本次发行完成后的45天内,购买我们根据本次发行将要发行的A类普通股总数的15%(不包括受此期权约束的A类普通股),仅出于弥补超额配售的目的,以公开发行价减去承销折扣。
我们已同意向承销商发行认股权证,可在发行之日起五年内行使,以等于公开发行价(“包销商认股权证”)125%的每股价格购买本次发行中出售的A类普通股总数的4%的A类普通股。本招股说明书所包含的注册声明还涵盖承销商认股权证和行使认股权证后可发行的A类普通股。
承销商希望按照第145页“承销”中的规定,以付款方式交付A类普通股。
证券交易委员会或任何国家证券委员会或任何其他监管机构均未批准或拒绝批准这些证券,也未确定本招股说明书是否真实或完整。任何与此相反的陈述都是刑事犯罪。

招股说明书日期【】
目录
| 页面 | |
| 招股说明书摘要 | 1 |
| 风险因素 | 11 |
| 有关前瞻性陈述的披露 | 43 |
| 民事责任的可执行性 | 44 |
| 所得款项用途 | 45 |
| 股息政策 | 46 |
| 大写 | 47 |
| 稀释 | 48 |
| 公司历史和结构 | 50 |
| 管理层对财务状况和经营成果的讨论和分析 | 56 |
| 行业 | 74 |
| 业务 | 82 |
| 法规 | 99 |
| 管理 | 111 |
| 主要股东 | 116 |
| 关联交易 | 118 |
| 股本说明 | 119 |
| 符合未来出售条件的股票 | 135 |
| 重大所得税注意事项 | 137 |
| 包销 | 145 |
| 与本次发行有关的费用 | 152 |
| 法律事项 | 153 |
| 专家 | 153 |
| 在哪里可以找到更多信息 | 153 |
| 财务报表索引 | F-1 |
i
关于本招股说明书
除本招股说明书或我们或代表我们编写或已转介给您的任何自由书面招股说明书中所包含的内容外,我们和承销商均未授权任何人提供任何信息或作出任何陈述。对于他人可能提供给您的任何其他信息,我们不承担任何责任,也不能提供任何保证。本招股说明书仅是出售特此提供的A类普通股的要约,但仅在合法的情况下和司法管辖区内出售。我们不会在不允许要约或出售或要约或出售的人没有资格这样做的任何司法管辖区提出要约出售这些证券的要约或不允许向其提出要约或出售的任何人。为免生疑问,开曼群岛不向公众提出要约或邀请认购A类普通股。本招股说明书中包含的信息仅在招股说明书封面上的日期有效。自该日起,我们的业务,财务状况,经营成果和前景可能已发生变化。
适用于本招股说明书的公约
除非另有说明或上下文另有要求,否则本招股说明书中提及:
| ● | “关联实体”是指我们的子公司,分支机构和VIE(定义见下文); | |
| ● | “香颂23街”是指香颂23街有限责任公司,一家纽约有限责任公司,由香颂纽约(定义见下文)全资拥有; | |
| ● | “Chanson Greenwich”是指纽约有限责任公司Chanson355Greenwich LLC,由Chanson NY(定义见下文)全资拥有; | |
| ● | “香颂国际”是指香颂国际控股,一家根据开曼群岛法律注册成立的获豁免有限责任公司,前身为Ron Holding Limited; | |
| ● | “Chanson NY”是指纽约公司George Chanson(NY)Corp.,由新疆和睦家(定义见下文)全资拥有; | |
| ● | “中国”或“中国”仅就本招股说明书而言指中华人民共和国,但不包括台湾以及香港和澳门特别行政区; | |
| ● | “A类普通股”是指香颂国际的A类普通股,每股面值$0.00 1; | |
| ● | “B类普通股”是指香颂国际的B类普通股,每股面值$0.00 1; | |
| ● | “Deen Global”是指我们的全资子公司Deen Global Limited,一家英属维尔京群岛公司; | |
| ● | “Jenyd”是指Deen Global的全资子公司,香港公司Jenyd Holdings Limited; | |
| ● | “普通股”是指A类普通股和B类普通股; | |
| ● | “VIE”是指可变利益实体; | |
| ● | “我们”,“我们”,“我们的公司”或“公司”是指香颂国际及其关联实体(视情况而定)中的一个或多个;和 |
|
| ● | “新疆和睦家”是指新疆和睦家贸易有限公司,这是根据中国法律组建的有限责任公司,由Jenyd全资拥有。 |
除非上下文另有说明,否则本招股说明书中的所有信息均假定承销商不行使其超额配股权。
我们在中国的全资间接子公司新疆和睦家及其23个VIE的功能货币为人民币(“人民币”),中国货币以及我们的全资子公司香颂23街和香颂格林威治的功能货币纽约市的间接子公司为美元。我们的合并财务报表以美元表示。在本招股说明书中,我们在合并财务报表中以美元提及资产,义务,承诺和负债。这些美元参考是基于人民币对美元的汇率,该汇率是在特定日期或特定时期确定的。汇率的变化将影响我们的债务额和资产的美元价值,这可能导致我们的债务额(以美元表示)和资产价值的增加或减少,包括应收账款(以美元表示)。
ii
招股说明书摘要
以下摘要受本招股说明书其他部分所包含的更详细信息和财务报表的整体限定,并应与之结合阅读。除本摘要外,我们敦促您在决定是否购买我们的A类普通股之前,仔细阅读整个招股说明书,尤其是在“风险因素”下讨论的投资A类普通股的风险。
除非另有说明,本招股说明书中的所有股份金额和每股金额均已提出,以1,000比1的比例对普通股进行远期拆分,并于3月27日经股东和董事会批准向现有股东发行额外股份2021年。
概述
我们公司
我们制造和销售各种烘焙产品,季节性产品(即在特定节日期间出售的产品)和饮料产品;我们还在某些商店提供外卖服务。我们目前将业务重点放在中国新疆维吾尔自治区(“新疆”)和纽约市,并计划扩展到中国和美国的其他地区,目标是在未来五年内每年在中国开设三到五家新店,并在美国开设十家新店。我们的目标是通过先进的设施和行业研究来制作健康,营养和即食的食品,并创造一个舒适但可区分的商店环境,使客户可以享受我们的产品。
我们主要通过(i)由新疆和睦家及其VIE经营的27家商店(“中国商店”)组成的烘焙连锁店,以我们在新疆的“George ChansonTM”品牌销售产品,以及(ii)通过Chanson23Rd Street在纽约市。我们目前还在翻新空间,以在纽约市开设新店。通过自己的商店进行销售使我们能够更有效地运营整个业务,并对产品质量和品牌介绍进行更大的控制,并更好地管理商店中的客户体验。我们还在数字平台上以及通过第三方在线订餐平台销售产品。我们目前的客户群包括个人和公司客户。为了扩大我们的客户群,我们制定了各种营销和销售策略,例如增加我们在社交媒体平台上的影响力,设计定价和折扣计划以及改善客户的店内体验。
对于我们的中国商店,我们在位于新疆乌鲁木齐的中心工厂生产大多数烘焙产品,在商店内准备饮料产品,并与第三方制造商签订合同生产季节性产品。对于香颂23街,我们烘焙烘焙产品,准备早餐,午餐和全天早午餐,酒吧食品和其他便餐供进餐,并在商店的厨房内制作饮料产品。为了确保产品的质量和安全,我们从知名供应商那里采购原材料,包括面粉,鸡蛋和牛奶,这些供应商在食品行业几十年来一直提供高质量的原材料。此外,我们还实施了涵盖整个运营流程的严格质量控制体系,并要求进行内部培训,以提高员工的食品安全意识和知识。
我们拥有一支敬业且经验丰富的产品开发团队,不断创造出能反映市场趋势并能满足客户需求的新产品。截至2021年5月,我们在中国商店出售的烘焙产品和季节性产品超过590种,其中包括自2020年以来推向市场的28种新产品,以及香颂23街(Chanson23rd Street)出售的83种外卖菜单项和烘焙产品,包括自2020年以来推向市场的28种新产品。我们还在中国商店和香颂23街提供大量饮料产品,并根据季节和不断变化的客户需求更新饮料菜单。通过不断提供新产品并完善我们的产品配方以增强现有产品,我们相信我们能够稳定地吸引新客户,并增加现有客户访问我们的商店,数字平台和第三方商店页面的频率。第三方平台。
截至2020年12月31日和2019年12月31日的财政年度,我们的总收入分别为10,313,512美元和12,577,135美元,净亏损164,029美元和净收入945,468美元。在该财政年度,我们的中国商店分别占我们总收入的87.0%和81.1%,香颂23街分别占13.0%和18.9%。
我们的中国商店主要通过销售烘焙产品,季节性产品和饮料产品来产生收入。截至2020年12月31日和2019年12月31日的财政年度,烘焙产品的销售收入分别占我们中国商店收入的91.8%和90.7%,季节性产品的销售收入分别占我们中国商店收入的6.6%和6.9%,饮料产品的销售收入分别占我们中国商店收入的1.6%和2.4%。
1
香颂23街主要通过提供外卖服务以及烘焙产品和饮料产品的销售来产生收入。截至2020年12月31日和2019年12月31日的财政年度,提供餐饮服务的收入分别占香颂23街收入的37.9%和45.5%,烘焙产品的销售收入分别占香颂23街的44.6%和40.3%。街的收入,饮料产品的销售收入分别占香颂23街收入的17.5%和14.2%。
竞争优势
我们认为,以下竞争优势为我们的成功做出了贡献,并使我们与竞争对手有所不同:
| ● | 体现健康食品理念的时尚品牌; | |
| ● | 严格的质量控制; | |
| ● | 先进的产业研究与持续的产品创新; | |
| ● | 有利的信息管理系统; | |
| ● | 在新疆发展良好的分销网络;和 | |
| ● | 经验丰富的管理团队和专业团队。 |
增长策略
我们打算通过以下策略来发展业务和加强品牌忠诚度:
| ● | 通过开设新店扩展到新市场; | |
| ● | 增强店内客户体验和客户服务; | |
| ● | 在产品开发中继续贯彻健康和营养的饮食原则;以及 | |
| ● | 提高品牌知名度。 |
我们的证券
2021年3月27日,我们的股东和董事会批准(i)按1,000比1的比例对流通在外的普通股进行远期拆分,(ii)创建A类普通股和B类普通股,(iii)向现有股东发行额外股份,以将本次发行完成前已发行和流通在外的普通股总数从100,000股增加到9,000,000股。2021年3月29日,我们向开曼群岛公司注册处(“开曼注册处”)提交了第二份经修订和重述的组织章程大纲和细则,以实施此类公司行动,该文件于2021年3月31日生效。除非另有说明,否则对普通股,购买普通股的期权,股份数据,每股数据和相关信息的所有引用均已在适用的情况下进行了追溯调整,在本招股说明书中反映了我们普通股的远期拆分以及向现有股东发行的额外股票,就好像它们发生在所介绍的较早时期的开始一样。
我们的法定股本分为A类普通股和B类普通股。A类普通股和B类普通股的持有人享有相同的权利,但投票权和转换权除外。对于需要所有股东投票的事项,每位A类普通股持有人将有权每一A类普通股获得一票,而每位B类普通股持有人将有权每一B类普通股获得10票。由于B类普通股的投票权,B类普通股的持有人目前并且可能继续拥有集中的投票权,这限制了A类普通股的持有人影响公司事务的能力。持有人可随时将每股B类普通股转换为一股A类普通股。在任何情况下,A类普通股均不可转换为B类普通股。请参阅“股本说明。”
除非上下文另有要求,否则所有提及首次公开募股后将发行在外的A类普通股和B类普通股的数量均基于已发行和流通的3,060,000股A类普通股和5,940,000股B类普通股。
2
企业信息
我们的主要执行办公室位于中国新疆乌鲁木齐天山区文化路26号,我们的电话是+86-0991-2302709。我们在开曼群岛的注册办事处位于开曼群岛KY1-1002大开曼岛邮政信箱10240南教堂街103号海港广场4楼,注册办事处的电话是+1-345-949-8599。我们维护公司网站www.xson.com.cn,www.chanson-international.com,www.patisseriechanson.com和www.thymebarnyc.com。我们的网站或任何其他网站中包含的信息或可从其访问的信息不构成本招股说明书的一部分。我们在美国的流程服务代理商是George Chanson(NY)Corp.,位于纽约州西23街20号,纽约州10010。
公司结构
我们目前通过以下方式开展业务:
| (i) | 新疆和睦家与23家由VIE组成的独立企业之间的协会,称为“和睦家集团”或“UFG”:组成UFG的22个实体(每个实体都是“UFG实体”,统称为“UFG实体”)由我们的董事会主席(“主席”)独立拥有,李刚先生和其中一个实体是由新疆和睦家营销总监王辉女士独立拥有的。我们与UFG的隶属关系是通过新疆和睦家,每个UFG实体与该UFG实体的唯一所有者之间的几项独家协议来管理的。由于我们与所有UFG实体的安排,我们有效地控制了每个UFG实体。有关和睦家集团的更多详细信息,请参阅“公司历史和结构-和睦家集团”; | |
| (ii) | 新疆和睦家及其三个分支机构;和 | |
| (iii) | 香颂23街(Chanson23rd Street)和香颂格林威治(Chanson Greenwich)(目前正在翻新,计划于2021年夏季开业)。 |
以下是截至本招股说明书发布之日新疆和睦家商店的完整列表,以及其公认的商业名称和与新疆和睦家的关系。
| 实体的法定名称 | 商业名称 | 实体性质 | ||||
| 1 | 乌鲁木齐市米东区George Chanson面包店 | 米东 | UFG的一部分–由李先生拥有100%,并根据该实体与新疆和睦家之间的VIE协议运营 | |||
| 2 | 沙伊巴克区伊宁路George Chanson面包店 | 德辉万达 | 与上述相同 | |||
| 3 | 昌吉George Chanson优豪超市面包店 | 昌吉优豪 | 与上述相同 | |||
| 4 | 昌吉George Chanson面包店 | 昌吉惠佳 | 与上述相同 | |||
| 5 | 天山区新华北路George Chanson面包店 | 洪山 |
与上述相同 |
3
| 6 | 山东平顶沙一烘焙区第二George Chanson烘焙坊 | 中阳君 | 与上述相同 | |||
| 7 | 天山区新民路George Chanson面包店 | 北门 | 与上述相同 | |||
| 8 | 天山区民主路George Chanson面包店 | 闽珠 | 与上述相同 | |||
| 9 | 天山区建泉三号George Chanson面包店 | 日月星光 | 与上述相同 | |||
| 10 | 天山区解放北路George Chanson面包店 | 万延城 | 与上述相同 | |||
| 11 | 乌鲁木齐市经济技术开发区喀什西路乔治香颂面包店。 | 华润万家 | 与上述相同 | |||
| 12 | 新市区荔玉山南路George Chanson面包店 | 医学院 | 与上述相同 | |||
| 13 | 长春市新市区南路George Chanson面包店 | 长春 | 与上述相同 | |||
| 14 | 北京市新市区中路和睦家香颂面包店 | 汇佳三楼 | 与上述相同 | |||
| 15 | 苏州市新时区香颂面包店东路 | 百上 | 与上述相同 | |||
| 16 | 苏州市新市区小溪沟香颂面包店 | 小西沟 | 与上述相同 | |||
| 17 | 新市区南区3号香颂面包店 | 铁路局 | 与上述相同 | |||
| 18 | 乌鲁木齐市经济技术开发区宣武湖路乔治香颂面包店。 | 经济发展万达 | 与上述相同 | |||
| 19 | 沙伊巴克区优浩南路香颂面包店 | 洪山生活方式店 | 与上述相同 |
4
| 20 | 水磨沟区南湖南路George Chanson面包店 | 南湖 | 与上述相同 | |||
| 21 | 河北新市区东路George Chanson面包店 | 河北路华润 | 与上述相同 | |||
| 22 | 乌鲁木齐市头屯河区中亚南路George Chanson面包店。 | 德冈万达 | 与上述相同 | |||
| 23 | 石河子和美家面包店1号 | 石河子 | UFG的一部分–由王辉女士拥有100%,并根据该实体与新疆和睦家之间的协议运营 | |||
| 24 | 新疆和睦家贸易有限公司。天山区香颂面包店 | 天白 | 新疆和睦家的分支机构 | |||
| 25 | 新疆和睦家贸易有限公司。尚森面包店乌鲁木齐分公司 | 文华 | 新疆和睦家的分支机构 | |||
| 26 | 新疆和睦家贸易有限公司。乌鲁木齐美美香颂面包店 | 梅梅 | 新疆和睦家的分支机构 | |||
| 27 | 新疆和睦家贸易有限公司。瑞泰香颂面包店 | 瑞泰 | 由新疆和睦家经营的商店,而不是独立的法人实体 | |||
| 28 | 香颂23街有限责任公司 | 香颂23街 | 新疆和睦家全资间接附属公司 | |||
| 29 | Chanson355Greenwich LLC | 尚森·格林威治 | 与上述相同。我们预计Chanson Greenwich将于2021年夏季开业。 |
为了便于参考,除非有必要对上下文进行区分,否则在本招股说明书中,我们将上述所有实体统称为我们的“商店”,并且在一定程度上,我们指的是上表中列出的特定实体,我们以其商业名称指代该实体。
5
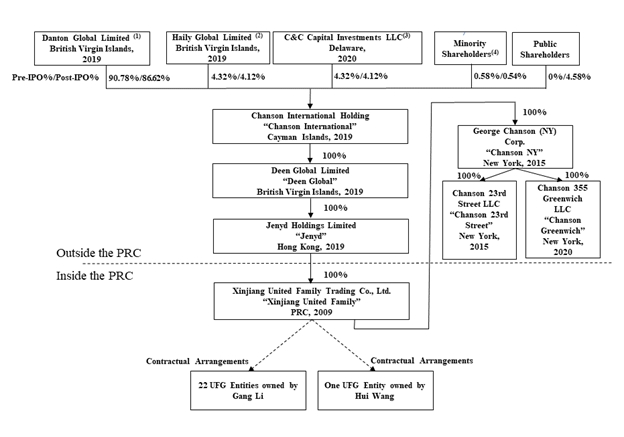
下图说明了重组后(定义见“公司历史和结构-我们的公司历史”)以及根据拟议发行的3,000,000股A类普通股完成本次发行后的公司结构,假设未行使超额配股权:

注:所有百分比均反映有表决权的所有权权益,而不是我们给出的每个股东持有的股权每位B类普通股持有人将有权每一股B类普通股获得10票,而每位A类普通股持有人将有权每一股A类普通股获得一票。
| (1) | 截至本招股说明书日期,代表Danton Global Limited的100%所有者李刚持有的2,700,000股A类普通股和5,400,000股B类普通股。 |
| (2) | 代表截至本招股说明书发布之日,Haily Global Limited100%所有者蔡继红持有的270,000股B类普通股。 |
| (3) | 代表截至本招股说明书发布之日,C&C Capital Investments LLC的100%所有者Cheng Chen持有的270,000股B类普通股。 |
| (4) | 代表截至本招股说明书发布之日,由两个法人股东平均持有的总计360,000股A类普通股,每个股东所持股份少于我们有表决权的所有权权益的5%。 |
风险因素摘要
投资我们的A类普通股涉及重大风险。在投资我们的A类普通股之前,您应该仔细考虑本招股说明书中的所有信息。以下是我们面临的主要风险的摘要,按相关标题组织。这些风险在标题为“风险因素”的部分中进行了更全面的讨论。”
6
与我们业务有关的风险
与我们业务相关的风险和不确定性包括但不限于以下内容:
| ● | 我们的业务受到消费者偏好和可支配支出变化的影响; | |
| ● | 我们的长期成功取决于我们能否成功识别和保护适当的站点,并及时在现有和新市场中发展和扩展我们的业务; | |
| ● | 我们在竞争激烈的市场中运营,我们未能有效竞争可能会对我们的经营成果产生不利影响; | |
| ● | 冠状病毒病2019(“COVID-19”)爆发对我们的财务状况,经营成果和现金流量造成了不利影响; | |
| ● | 我们依靠我们的中央工厂以及数量有限的第三方生产商和供应商。我们中央工厂或此类第三方生产商或供应商的运营中断可能会阻止或限制我们满足产品需求或履行产品订单的能力; | |
| ● | 我们的地理重点使我们特别容易受到新疆和纽约市的经济和其他事件及趋势的影响;和 | |
| ● | 无法维持或提升我们的品牌或形象可能会对我们的业务和经营成果造成重大不利影响。 |
与我们的公司结构有关的风险
我们还面临与公司结构有关的风险和不确定性,包括但不限于以下各项:
| ● | 我们与UFG实体和UFG运营商的VIE安排可能无法有效控制UFG实体; | |
| ● | 我们与UFG实体的合同安排受中国法律管辖,我们可能难以执行根据这些合同安排可能享有的任何权利; | |
| ● | 我们的控股股东与我们公司存在潜在的利益冲突,可能会对我们的业务产生不利影响;和 | |
| ● | 我们依靠UFG持有的批准证书和营业执照,新疆和睦家与UFG之间关系的任何恶化都可能对我们的整体业务运营造成重大不利影响。 |
与在中国开展业务有关的风险
我们总体上面临与在中国开展业务有关的风险和不确定性,包括但不限于以下方面:
| ● | 中国经济,政治或社会状况或政府政策的变化可能会对我们的业务和运营造成重大不利影响; | |
| ● | 中国法律法规的解释和执行方面的不确定性可能会限制您和我们可获得的法律保护; | |
| ● | 有关中国居民离岸投资活动的中国法规可能会使我们的中国居民实益拥有人或我们的中国子公司承担责任或罚款,限制了我们向中国子公司注资的能力,限制我们的中国子公司增加注册资本或向我们分配利润的能力,或可能对我们产生不利影响; | |
| ● | 根据《中国企业所得税法》,出于中国企业所得税目的,我们可能被归类为中国“居民企业”。此类分类可能对我们和我们的非中国股东造成不利的税收后果,并对我们的经营成果和您的投资价值产生重大不利影响;和 | |
| ● | 根据《中国企业所得税法》,与我们的中国子公司的预扣税负债有关存在重大不确定性,我们的中国子公司应付给离岸子公司的股息可能不符合享受某些条约优惠的条件。 |
7
与本次发行和交易市场有关的风险
除上述风险外,我们还面临与本次发行和交易市场有关的一般风险和不确定性,包括但不限于以下各项:
| ● | 在此次发行之前,我们的A类普通股没有公开市场,您可能无法以您所支付的价格或更高的价格转售我们的A类普通股,或者根本无法转售; | |
| ● | 普通股的双重类别结构具有将投票控制权集中于我们的董事长的作用,并且他的利益可能与我们其他股东的利益不符;和 | |
| ● | 在可预见的将来,我们不打算支付股息。 |
COVID-19对我们的运营和财务业绩的影响
由于COVID-19爆发的影响,我们在2020年1月下旬至3月上旬期间暂时关闭了除一家中国商店外的所有中国商店。中国商店于2020年3月8日恢复正常活动。但是,由于新疆COVID-19病例再次出现,所有中国商店于2020年7月17日再次关闭。中国商店于2020年9月恢复正常活动。在美国,纽约市香颂23街仅在2020年2月底至2020年6月底之间提供送货和取货服务,并于2020年6月底恢复了户外餐饮服务,并于2020年9月底恢复了室内餐饮服务。2020。根据纽约州州长发布的室内餐饮禁令,香颂23街在2020年12月14日至2021年2月11日期间再次暂停了室内餐饮服务。香颂23街于2021年2月12日恢复室内餐饮服务,容量为25%,到2021年2月26日增加到35%,到2021年3月19日和2021年5月7日分别增加到50%和75%。从2021年5月19日开始,香颂23街已被允许全力提供室内餐饮服务,但前提是就餐者必须至少相距六英尺,或者桌子被物理障碍隔开。此外,Chanson Greenwich的翻新工程被推迟,我们目前预计该店将于2021年夏季开业。
请参阅“风险因素-与我们业务有关的风险-我们的财务状况,经营成果和现金流量受到COVID-19爆发的不利影响”和“管理层对财务状况和经营成果的讨论和分析-影响我们经营成果的COVID-19”。”
我们成为“新兴成长公司”的含义
作为上一财政年度收入少于10.7亿美元的公司,我们有资格成为2012年Jumpstart Our Business Startups Act或“JOBS Act”所定义的“新兴成长公司”。”“新兴成长型公司”可以利用减少的报告要求,这些要求原本适用于较大的上市公司。特别是,作为一家新兴的成长型公司,我们:
| ● | 可能仅提交两年的经审计财务报表,以及仅两年的相关管理层对财务状况和经营成果的讨论和分析; | |
| ● | 无需提供详细的叙述性披露,以讨论我们的薪酬原则,目标和要素,并分析这些要素如何符合我们的原则和目标,这通常称为“薪酬讨论和分析”; | |
| ● | 无需根据2002年《萨班斯-奥克斯利法案》获得审计师对管理层对财务报告内部控制的评估的证明和报告; |
8
| ● | 无需从我们的股东那里获得有关高管薪酬或黄金降落伞安排的无约束力的咨询投票(通常称为“薪酬说”,“频率说”和“黄金降落伞说”””投票); | |
| ● | 免受某些高管薪酬披露规定的约束,这些规定要求披露绩效薪酬图和CEO薪酬比率; | |
| ● | 根据《JOBS法》第107条,有资格要求更长的分阶段采用新的或经修订的财务会计准则;和 | |
| ● | 在首次公开募股生效后的20-F表第二次年度报告之前,将无需对我们的财务报告内部控制进行评估。 |
我们打算利用所有这些减少的报告要求和豁免,但根据《JOBS法》第107条采用新的或经修订的财务会计准则的过渡期较长。
根据《JOBS法》,在我们不再满足新兴成长型公司的定义之前,我们可以利用上述减少的报告要求和豁免。《乔布斯法案》规定,在根据1933年《证券法》宣布生效的注册声明首次出售普通股五周年的财政年度结束时,我们将不再是“新兴成长公司”,经修订(“证券法”),如果我们的年收入超过10.7亿美元,非关联公司持有的A类普通股的市值超过7亿美元,或发行本金超过10亿美元,则发生三年内不可转换债务的金额。
外国私人发行人身份
我们是1934年《证券交易法》(经修订)(“交易法”)规则所指的外国私人发行人。因此,我们不受适用于美国国内上市公司的某些规定的约束。例如:
| ● | 我们无需提供与国内上市公司一样多或频率的《交易法》报告; | |
| ● | 对于中期报告,我们仅被允许遵守母国的要求,这些要求不如适用于国内上市公司的规则严格; | |
| ● | 我们不需要在某些问题上提供相同水平的披露,例如高管薪酬; | |
| ● | 我们不受旨在防止发行人选择性披露重大信息的FD法规的规定的约束; | |
| ● | 我们无需遵守《交易法》中有关根据《交易法》注册的证券的代理,同意或授权征求的规定;和 | |
| ● | 我们无需遵守《交易法》第16条的规定,该条要求内幕人士提交有关其股权和交易活动的公开报告,并对任何“短线”交易实现的利润确定内幕责任。 |
受控公司
此次发行完成后,假设不行使超额配股权,我们的董事长李刚先生将作为一个整体实益拥有我们已发行的A类普通股和B类普通股总投票权的约86.62%,假设充分行使超额配股权,则为86.03%。因此,就纳斯达克上市规则而言,我们将被视为“受控公司”。作为一家受控公司,我们被允许选择依靠某些豁免义务来遵守某些公司治理要求,包括:
| ● | 要求我们的董事提名仅由独立董事选择或推荐;和 | |
| ● | 要求我们有一个提名和公司治理委员会以及薪酬委员会,该委员会完全由独立董事组成,并有书面章程阐明委员会的目的和职责。 |
尽管即使我们被视为受控公司,我们也不打算依靠纳斯达克上市规则规定的受控公司豁免,但我们可以选择将来依靠这些豁免,如果是,您将无法获得受纳斯达克所有公司治理要求约束的公司股东所享有的保护。
9
产品
| 我们提供的A类普通股 | 3,000,000股A类普通股,或者如果承销商完全行使其超额配股权,则为3,450,000股A类普通股 | |
| 每股A类普通股价格 | 我们目前估计,首次公开募股价格将在每股A类普通股4.00美元至6.00美元之间。 | |
| 本次发行完成前已发行的A类普通股 | 3,060,000股A类普通股 | |
| 此次发行后立即发行在外的A类普通股 | 假设不行使承销商的超额配股权,并且不包括承销商认股权证所涉及的120,000股A类普通股,则为6,060,000股A类普通股
假设充分行使承销商的超额配股权,则为6,510,000股A类普通股,但不包括承销商认股权证所涉及的120,000股A类普通股 |
|
| 上市 | 我们已申请将A类普通股在纳斯达克资本市场上市。 |
|
| 股票代码 | “CHSN” | |
| 转让代理 | Transhare Corporation |
|
| 所得款项用途 | 我们打算将此次发行的收益用于在美国开设新店并在乌鲁木齐建设新的中心工厂。有关更多信息,请参见第45页上的“所得款项用途”。 | |
| 锁定 | 除某些例外情况外,我们所有的董事和高级管理人员以及拥有5%或以上A类普通股的股东均已与承销商达成协议,不得直接或间接出售,转让或处置,自本招股说明书发布之日起六个月内,我们的任何A类普通股或可转换为,可行使或交换为A类普通股的证券。有关更多信息,请参见“有资格出售的股票”和“包销”。 | |
风险因素
投票权 |
特此提供的A类普通股涉及高度风险。您应该阅读从第11页开始的“风险因素”,以讨论在决定投资我们的A类普通股之前要考虑的因素。
A类普通股的持有人有权每一股A类普通股获得一票。
B类普通股的持有人有权每一B类普通股获得10票。
除非法律另有要求,否则我们的A类普通股和B类普通股的持有人通常将作为一个单一类别共同投票。李刚先生,假设承销商未行使超额配股权,则在首次公开募股后将控制约86.62%的流通在外普通股的投票权,或假设充分行使超额配股权,则将控制86.03%的流通在外普通股的投票权承销商的配股权,将有能力控制提交给股东批准的事项的结果,包括选举董事。请参阅“股本说明。” |
10
风险因素
投资我们的A类普通股涉及高度风险。在决定是否投资我们的A类普通股之前,您应该仔细考虑以下风险以及本招股说明书中列出的所有其他信息,包括标题为“管理层对财务状况和经营成果的讨论和分析”的部分以及我们的合并财务报表和相关说明。如果这些风险中的任何实际发生,我们的业务,财务状况,经营成果或现金流量可能受到重大不利影响,这可能导致我们的A类普通股的交易价格下跌,从而导致您的全部或部分投资损失。以下所述以及本招股说明书其他部分讨论的风险并不是我们面临的唯一风险。我们目前未知或我们认为不重要的其他风险也可能影响我们的业务。如果您能够承担全部投资损失的风险,则仅应考虑投资我们的A类普通股。
与我们业务有关的风险
我们的业务受到消费者偏好和可支配支出变化的影响。
我们的成功部分取决于我们烘焙产品的受欢迎程度以及我们开发吸引消费者的新烘焙产品的能力。消费者偏好从我们的面包店或我们的产品系列和组合中转移,我们无法开发吸引消费者的新产品可能会损害我们的业务。我们的成功在很大程度上取决于我们客户的持续信念,即用高质量成分制成的食品,包括不含抗生素的精选蛋白质,我们的手工面包,蛋糕,糕点和其他不含人工防腐剂,香料,甜味剂的烘焙食品,或人工来源的颜色值得在我们的面包店收取的价格相对于某些竞争对手提供的较低价格。我们无法成功地对客户进行有关烘焙产品质量的教育,或者客户拒绝我们的定价方法,可能会导致对我们产品的需求减少,或者要求我们更改定价,营销或促销策略,这可能会对我们的合并财务业绩或我们创建的品牌形象产生重大不利影响。此外,我们的成功在很大程度上取决于可自由支配的消费者支出,这受到总体经济状况和可自由支配收入的影响。因此,在经济低迷或不确定时期,我们可能会遇到销售额下降的情况。可自由支配支出金额的任何重大下降都可能对我们的销售,经营成果,业务和财务状况造成重大不利影响。
我们的长期成功取决于我们能否成功识别和保护适当的站点,并在现有和新市场中及时开发和扩展我们的业务。
在可预见的将来,实现我们的增长战略的关键手段之一将是在盈利的基础上开设和经营新店。截至2020年12月31日,2019年和2018年12月31日的财政年度,我们分别开设了四家,五家和三家新店。我们会考虑许多因素来确定目标市场,例如我们当前商店的位置,人口统计,流量模式以及最近的情况,已知的消费者模式是否将保持在COVID-19爆发之前的水平,以及我们是否需要修改新商店的布局以最大程度地减少与客户的联系。鉴于这些因素的不确定性,我们可能根本无法在预算范围内或及时开设计划中的新店,这可能会对我们的业务,财务状况和经营成果产生不利影响。随着我们经营更多商店,相对于商店基础的规模,我们的扩张速度最终将下降。
在任何给定时期内开设的新商店的数量和时间可能会受到许多因素的负面影响,包括:
| ● | 流行病,例如COVID-19爆发; | |
| ● | 我们在开店地区提高品牌知名度和烘焙产品消费的能力; |
11
| ● | 确定和提供具有适当规模,流量模式,本地零售和商业吸引力以及基础设施的商店位置的站点,这些站点将推动高水平的客户流量和每单位销售额; | |
| ● | 现有和新市场的竞争,包括商店站点的竞争; | |
| ● | 谈判可接受的租赁条款; | |
| ● | 我们及时获得所有必要的政府许可的能力; | |
| ● | 我们控制新店建设和开发成本的能力; | |
| ● | 维持足够的分发能力、信息系统和其他业务系统能力; | |
| ● | 将新商店整合到我们现有的采购,制造,分销和其他支持业务中; | |
| ● | 商店管理人员和其他合格人员的雇用,培训和保留; | |
| ● | 将新店员工纳入我们的企业文化; | |
| ● | 有效管理库存,以及时满足我们商店的需求;和 | |
| ● | 有足够的现金流量和融资水平来支持我们的扩张。 |
缺乏有吸引力的商店位置,购置或开设新商店的延迟,由于资本限制导致商业发展减少而导致的延迟或成本,人员配备和经营新商店位置的困难,或缺乏客户对新市场地区商店的接受程度可能会对我们的新商店增长以及与新商店相关的成本或盈利能力产生负面影响。
此外,客户的趋势,偏好和需求可能会因地区而有很大差异,因此,我们在当前运营所在市场中的经验可能不适用于中国和美国的其他地区,当我们进入新市场时,我们可能无法利用我们的经验扩展到中国和美国的其他地区,我们可能会面临来自在目标地理区域具有更多经验或已建立业务的公司或具有类似扩张目标的其他公司的激烈竞争。此外,我们的业务模式在新的未经测试的市场以及具有不同业务环境的市场中可能不会成功。我们可能无法在进入的新城市中增加收入,但我们将因任何此类扩展而产生大量成本。因此,我们无法向您保证我们将实现计划的增长,或者即使我们能够按计划增长我们的门店基础,任何新的门店都将盈利,这可能会对我们的经营成果产生重大不利影响。
我们在竞争激烈的市场中运营,我们未能有效竞争可能会对我们的经营成果产生不利影响。
烘焙产品的市场竞争激烈。我们目前的竞争对手包括在新疆和纽约市生产和销售烘焙产品的国际和国内公司,并且我们的潜在竞争对手包括在美国其他城市生产和销售烘焙产品的公司。我们主要根据产品的价格和质量,食品安全,品牌知名度和忠诚度,对客户需求和市场需求的响应来竞争客户趋势,客户体验,能够准确估计销售指标并控制库存,生产能力以及连锁店的运营和管理。我们可能无法成功与现有竞争对手竞争,新的竞争对手可能会进入市场。
12
此外,我们无法预测竞争对手的定价或促销行动,或它们对客户感知的影响或我们自己的广告和促销工作的成功。我们的竞争对手可能会开发和推出旨在与我们的产品直接竞争的产品,并且我们的一些竞争对手可能拥有比我们大得多的财务,营销和其他资源。这造成了竞争压力,可能导致我们失去市场份额或要求我们降低价格,增加广告支出或增加折扣或促销活动的使用。这些竞争因素也可能会限制我们提高价格的能力,包括响应商品和其他成本上涨的能力。如果我们无法继续有效地应对这些和其他竞争压力,我们的客户可能会减少购买我们的产品,或者可能坚持降低我们利润率的价格。这些或其他发展可能对我们的销售量和利润率产生重大不利影响,并导致我们的经营业绩下降,从而可能对我们的业务,财务状况和经营成果产生重大不利影响。
COVID-19爆发对我们的财务状况,经营成果和现金流量造成了不利影响。
COVID-19爆发已遍及全球,尤其是在中国,美国和欧洲。2020年3月11日,世界卫生组织宣布COVID-19为大流行病——这是冠状病毒引起的第一次大流行。疫情导致政府采取了重要措施,包括封锁,关闭,隔离和旅行禁令,旨在控制病毒的传播。中美两国政府均已下令隔离,旅行限制以及暂时关闭商店和设施。公司也在采取预防措施,例如要求员工远程工作,实施旅行限制以及暂时关闭业务。
由于COVID-19爆发的影响,我们在2020年1月下旬至3月上旬期间暂时关闭了除一家中国商店外的所有中国商店。中国商店于2020年3月8日恢复正常活动。但是,由于新疆COVID-19病例再次出现,所有中国商店于2020年7月17日再次关闭。中国商店于2020年9月恢复正常活动。在美国,纽约市香颂23街仅在2020年2月底至2020年6月底之间提供送货和取货服务,并于2020年6月底恢复了户外餐饮服务,并于2020年9月底恢复了室内餐饮服务。2020。根据纽约州州长发布的室内餐饮禁令,香颂23街在2020年12月14日至2021年2月11日期间再次暂停了室内餐饮服务。香颂23街于2021年2月12日恢复室内餐饮服务,容量为25%,到2021年2月26日增加到35%,到2021年3月19日和2021年5月7日分别增加到50%和75%。从2021年5月19日开始,香颂23街已被允许全力提供室内餐饮服务,但前提是就餐者必须至少相距六英尺,或者桌子被物理障碍隔开。此外,Chanson Greenwich的翻新工程被推迟,我们目前预计该店将于2021年夏季开业。请参阅“管理层对财务状况和经营成果的讨论和分析-影响我们经营成果的COVID-19。”
因此,COVID-19爆发对我们的业务运营以及2020年的状况和经营业绩造成了重大不利影响,包括但不限于对我们的总收入和净收入的重大负面影响。COVID-19爆发对我们2021年经营成果的影响程度将取决于爆发的未来发展,包括有关爆发的全球严重程度和为遏制爆发而采取的行动的新信息,这些信息高度不确定且不可预测。
我们产品的销售可能会受到客户偏好变化的影响。如果我们没有正确地预期到这种变化,我们的销售和盈利能力可能会下降。
客户偏好方面存在许多趋势,这些趋势对我们和整个烘焙行业都产生了影响。除其他外,这些包括对即食,天然和健康产品的偏好。对某些烘焙产品的健康影响和营养价值的担忧可能会越来越多地导致鼓励或要求烘焙产品制造商生产盐,糖和脂肪水平降低的产品,并消除反式脂肪酸和某些其他成分。消费者的偏好还受到对产品环境影响的关注的影响。我们业务的成功取决于我们产品的持续吸引力,并且鉴于客户群的不同背景和口味,我们有能力提供足够多的产品来满足广泛的偏好。我们经营所在市场中客户偏好的任何变化都可能对我们的业务造成重大不利影响。顾客的口味也很容易发生变化。因此,我们的竞争力取决于我们预测和快速适应客户趋势的能力,利用有利可图的机会进行产品开发,而不会疏远我们现有的客户群,也不会将过多的资源或注意力集中在无利可图或短暂的趋势上。如果我们无法及时,适当地应对需求或客户偏好的变化,则可能会对我们的销售量和利润率造成不利影响。
13
我们未来的业绩和竞争地位取决于新产品的成功开发和现有产品的改进,这会受到许多困难和不确定性的影响。
我们未来的业绩以及维持或改善竞争地位的能力取决于我们预测关键市场变化以及在这些变化的市场中成功识别,开发,制造,营销和销售新产品或改进产品的能力。我们的目标是及时推出新产品,重新推出和扩展现有产品线,以抵消现有产品的过时和销售减少,并增加我们产品的整体销售。新产品或改良产品的推出和成功本质上是不确定的,尤其是在产品对客户的吸引力方面,并且不能保证我们开发和推出成功的新产品或现有产品变体的持续能力。未能成功推出产品可能会导致库存冲销和其他成本,并可能影响客户对我们其他产品的看法。市场因素以及开发和提供改性或替代产品的需要也可能增加成本。此外,如果客户购买新产品来代替我们现有产品,则推出新产品或改良产品可能会导致我们现有产品的销售被蚕食。如果我们未能以有效,经济的方式响应客户需求或偏好的变化而开发新产品,或者竞争对手的反应比我们更有效,则对我们产品的需求可能会减少,这可能会对我们的业务产生重大不利影响,财务状况,和经营成果。
我们无法找到可接受类型或质量的原材料或其他投入,可能会对我们的经营成果产生不利影响。
我们使用大量的食品成分和包装材料,因此容易受到食品成分,包装材料,能源和其他供应的可用性和价格波动的影响。特别是牛奶,黄油,鸡蛋,面粉和糖等原材料历来在我们的收益成本中占很大比例,因此,原材料价格的不利变化将影响我们的经营成果。
具体地说,牛奶,鸡蛋和其他农业商品的可用性和价格可能会波动。我们还受到优质原材料可用性的影响。总体经济状况,意外需求,制造或分销问题,自然灾害,生长和收获季节的天气状况,植物和牲畜疾病以及地方,国家或国际隔离也可能对商品的可用性和价格产生不利影响。长期和短期。
尽管我们试图与供应商协商长达一整年的某些材料的固定价格,但我们与供应商的大多数合同都没有固定价格,因此,如果价格长期上涨,我们不能保证我们将成功管理投入成本。此外,没有对冲某些原材料价格波动的市场,因此这些原材料以市场上的即期汇率购买。
我们避免原材料价格显著持续上涨的不利影响的能力有限。我们产品所需的任何价格上涨或成分或包装材料短缺都可能增加我们的成本并破坏我们的运营。如果由于任何原因限制了我们任何投入的可用性,我们可能无法以优惠条件或根本无法获得足够的供应或适当质量的供应。此类短缺可能对我们的市场份额,业务,财务状况和经营成果造成重大不利影响。
我们无法将材料或其他投入的价格上涨转嫁给客户,可能会对我们的经营成果产生不利影响。
我们将原材料价格上涨转嫁给客户的能力取决于(其中包括)我们经营所在市场中的现行竞争条件和定价方法,并且我们可能无法将这种价格上涨转嫁给客户。即使我们能够转嫁价格上涨,影响我们业务的成本上涨与实施产品价格上涨之间通常也会有时间间隔,在此期间,我们的毛利率可能会受到负面影响。在我们进行调整以提高价格以收回成本增加的过程中,客户可能会采取加剧此类成本增加影响的行动,例如,停止购买我们的产品或推迟订单直到调整结束。我们无法通过原材料价格上涨来保持未来的利润率,可能会对我们的业务,财务状况和经营成果造成重大不利影响。
14
我们依靠我们的中央工厂以及数量有限的第三方生产商和供应商。我们中央工厂或此类第三方生产商或供应商的任何运营中断都可能阻止或限制我们满足产品需求或履行产品订单的能力。
我们在乌鲁木齐经营一家中心工厂,该工厂生产所有包装的烘焙产品,以及生日蛋糕的半成品和中国商店的店内糕点。由于任何原因(包括法规要求,认证或批准的丢失,技术困难,劳资纠纷,断电或其他基础设施故障,火灾,地震或其他自然力量或恐怖袭击)对我们中央工厂造成的任何重大破坏,可能会中断我们中国商店的产品供应,并严重损害我们的经营成果和财务业绩。
此外,我们中央工厂的《房地使用协议》将于2028年到期,我们可能无法以商业上合理的条件续签该协议或找到新的设施。如果我们无法或不愿意以建议的费率续订,则搬迁我们的制造工厂将涉及与关键制造设备的移动和安装以及与监管机构的任何必要重新认证有关的大量费用,并且我们无法向您保证,这样的举动不会延迟或以其他方式对我们的制造活动或经营业绩产生不利影响。如果我们的行动损害了我们的制造能力,我们可能无法及时制造和运输我们的产品,这将对我们的业务产生不利影响。
我们还依靠数量有限的第三方生产商来为我们的中国商店生产所有季节性产品。在截至2020年12月31日和2019年12月31日的财政年度中,我们的四家最大第三方供应商分别占中国商店原材料采购的约59%和47%,我们的三家最大第三方供应商分别占62%和香颂23街原材料采购的76%。这些第三方生产商和供应商由独立实体运营,这些实体承受着自己独特的运营和财务风险,这是我们无法控制的。我们与关键供应商的某些合同,例如我们在产品中使用的原材料,可以由供应商在一定期限内发出通知后终止。如果这些生产商或供应商中的任何一个违反或终止了与我们的合同或遇到了运营的重大中断,我们将被要求与一个或多个替代生产商或供应商找到并达成安排。寻找替代生产商可能会导致重大延误和其他成本,并且我们可能无法以合理的条件或根本无法获得这些生产商。生产或包装的任何中断都可能延迟我们产品的交付,这可能损害我们的业务和财务业绩,并导致损失或递延收入。
我们的地理重点使我们特别容易受到新疆和纽约市的经济和其他事件及趋势的影响。
我们目前在中国的业务在地理上仅限于新疆的三个城市,我们的27家中国商店中有24家位于新疆省会乌鲁木齐。在截至2020年12月31日和2019年12月31日的财政年度中,我们分别从乌鲁木齐的商店获得了75%和75%的收入。此外,我们目前在美国的业务仅限于纽约市。我们未来的增长将取决于新疆经济的增长和稳定,特别是乌鲁木齐和纽约。新疆或纽约市的经济下滑,为应对COVID-19爆发而采取的政府措施,或执行不利于烘焙行业的省级或地方政策可能会导致对我们产品的需求减少,并可能对我们的盈利能力和业务产生负面影响。
新疆复杂的民族构成在乌鲁木齐和新疆其他地区引起了民族紧张和其他紧张局势。恐怖主义和族裔极端分子袭击以及骚乱等事件以及由此导致的新疆政治动荡,经济停滞和对安全的担忧可能会对我们的业务,财务状况和经营业绩造成重大不利影响。
无法维持或提升我们的品牌或形象可能会对我们的业务和经营成果造成重大不利影响。
我们相信,我们的“George Chanson”,“Patisserie ChansonTM”和“Chanson”品牌在我们经营的本地市场中的客户和其他食品行业参与者(例如其他烘焙产品制造商和烘焙连锁店)中得到了广泛认可。我们的品牌是我们销售与市场营销努力不可或缺的一部分。我们在维持和增强品牌和形象方面的持续成功在很大程度上取决于我们通过进一步开发和维持产品质量来满足客户需求的能力,以及我们应对竞争压力的能力。如果我们无法满足客户的需求,或者如果我们的公众形象或声誉受到损害,我们与客户的业务交易可能会下降,进而可能对我们的经营成果产生不利影响。
15
与整个食品行业或我们自己的产品的安全性或质量有关的健康问题或不利发展可能会损害我们的声誉,增加我们的运营成本并减少对我们产品的需求。
食品安全以及公众对我们产品安全健康的看法对于我们的形象和业务至关重要。我们出售供人类食用的食品,这使我们面临安全风险,例如产品污染,变质,品牌不当或产品篡改。产品污染,包括存在异物,物质,化学物质或其他试剂或残留物,或引入转基因生物,可能需要撤回或召回产品或销毁库存,并可能导致负面宣传,临时工厂关闭,以及合规或补救的大量成本。有关我们的产品引起疾病或伤害的任何断言的宣传也可能会影响我们。此外,我们可能会受到与产品污染或任何其他损害我们产品安全和质量的事件引起的实际或据称疾病有关的索赔或诉讼。任何重大诉讼或广泛的产品召回或其他事件导致客户对我们产品的安全性和质量失去信心,都可能损害我们的品牌,声誉和形象,并对我们的销售,盈利能力和增长前景产生负面影响。此外,产品召回很难预见和准备,并且,如果我们被要求召回一种或多种产品,由于无法获得我们的产品,此类召回可能会导致销售损失,并可能占用我们管理层的大量时间和精力。我们维护旨在监视食品安全风险的系统,并仔细选择我们的第三方生产商和供应商。但是,我们的努力可能不会成功,这种风险可能会成为现实。此外,尽管我们试图通过合同关系和定期检查来控制与我们外包的制造过程有关的第三方污染风险,但我们的努力可能不会成功,第三方对我们产品的污染可能会成为现实。
我们还面临影响整个食品行业的进一步风险,包括广泛污染以及不断发展的营养和健康相关问题带来的风险。监管机构可能会出于公共卫生考虑而限制某些类型的食品的供应,并且客户可能会认为某些产品不安全或不健康。因此,我们或我们的供应商将被要求在要求的时间内找到可能以商业上合理的价格提供或可能无法提供的替代供应或成分。此外,政府法规可能会要求我们确定要提供给客户的替代产品,或者中止某些产品或限制我们提供的产品范围。我们可能无法找到对我们的客户群具有吸引力的替代品,或者此类替代品可能无法广泛获得,或者只能以增加的成本获得。此类替代或限制也可能减少对我们产品的需求。
我们还可能受到与因消费错误品牌,更改,污染或变质产品而导致的实际或据称疾病或伤害或死亡有关的索赔或诉讼,这可能会对我们的业务产生负面影响。此类索赔产生的损害赔偿,和解金额以及费用和支出的裁决以及任何此类索赔的公共关系影响可能会对我们的业务产生不利影响。我们目前没有保险来承保损害赔偿,如果我们选择购买此类保险,则承保损害赔偿的保险的可用性和价格取决于我们无法控制的市场力量,并且此类保险可能无法涵盖此类索赔的所有费用,也无法涵盖对我们声誉的损害。即使针对我们的产品责任索赔未成功或未得到充分追究,这些索赔也可能既昂贵又费时,并将我们管理层的时间和资源转移到捍卫它们而不是运营我们的业务上。此外,有关此类索赔的任何不利宣传,即使没有根据,也可能导致客户对我们产品的安全性和质量失去信心,并损害我们的声誉和品牌形象。
16
我们可能会产生物质成本,以解决违反健康,安全和环境法规的行为或承担的责任。
我们在中国的设施和运营受众多健康,安全和环境法规的约束,包括有关供水和使用,水排放,空气排放,化学安全,污染清理,能源使用,噪声污染以及工作场所健康与安全的地方和国家法律。随着时间的推移,中国的健康,安全和环境立法通常变得更加全面,限制性更强,并且执行变得更加严格。不遵守适用的要求或所需许可证的条款,可能会导致罚款或罚款,清理费用,第三方财产损失和人身伤害索赔,这可能会对我们的品牌,业务,财务状况和经营成果造成重大不利影响。此外,如果将来中国以及我们经营业务或从其采购原材料和成分的其他国家/地区的健康,安全和环境法律法规变得更加严格,维持合规性所需的投资范围和时间可能会超出我们的预算或估计,并可能限制其他投资的资金可用性。
此外,根据某些环境法,即使污染是由与我们无关的一方或不是由我们造成的,我们也可能对调查或补救我们拥有或占用的物业的污染所产生的费用承担责任,即使造成污染的活动在发生时是合法的。发现先前未知的污染,或施加新的或更繁重的义务来调查或补救我们财产或第三方场所的污染,可能会导致大量无法预料的成本,从而可能对我们的业务,财务状况和经营成果造成重大不利影响。
香颂23街和我们将来可能在美国开设的任何商店均受联邦,州和地方法律法规的约束,这些法律法规涉及废物处置,污染,环境保护以及存在,排放,存储,处理,释放和处置以及暴露于有害或有毒物质。这些环境法规定了对违规行为的巨额罚款和处罚以及补救责任,有时不考虑财产的所有者或经营者是否知道或应对有害有毒物质的释放或存在负责。第三方也可能因与在我们商店内,商店内或从我们商店释放或实际或据称暴露于此类有害或有毒物质有关的人身伤害和财产损失而向财产所有者或经营者提出索赔。与先前,现有或将来的商店场所释放有害物质有关的环境条件可能会对我们的业务,财务状况或经营成果造成重大不利影响。此外,环境法及其管理,解释和执行可能会发生变化,并且将来可能会变得更加严格,每一项法律都可能对我们的业务,财务状况或经营成果产生重大不利影响。
分销成本增加或产品运输中断可能会对我们的业务和财务业绩产生不利影响。
分销成本历来会随着时间的推移而大幅波动,尤其是与油价相关的成本,而此类成本的增加可能会导致利润减少。此外,影响分销成本的某些因素由第三方运营商控制。如果燃料或运费的市场价格或承运人的数量或可用性发生波动,我们的分销成本可能会受到影响。此外,由于与天气相关的问题,罢工,停工或其他事件而导致产品运输的暂时或长期中断可能会损害我们以负担得起的价格及时或根本不提供产品的能力。未能及时交付易腐食品也可能导致库存变质以及无法满足我们商店客户的需求。运输成本的任何增加以及运输的任何中断都可能对我们的业务,财务状况和经营成果造成重大不利影响。
未能获得和维护所需的许可证和执照,或者未能遵守酒精饮料或食品控制法规,可能会导致我们香颂23街的酒类和食品服务许可证丢失,从而损害其业务,财务状况或经营成果。
食品零售业受各种联邦,州和地方政府法规的约束,包括与食品和酒精饮料销售有关的法规。此类法规可能会不时更改。未能获得和维护与此类法规相关的许可证,执照和批准可能会对香颂23街的业务,财务状况或经营成果产生不利影响。通常,如果政府机构确定我们的行为违反了适用法规,则许可证必须每年续签一次,并且可能会随时因原因被撤销,暂停或拒绝续签。困难或无法维持或获得所需的许可证和批准可能会对香颂23街产生不利影响,并延迟或导致我们取消开设新店的决定,这将对我们的业务,财务状况或经营成果产生不利影响。
17
酒精饮料控制法规通常要求香颂23街(Chanson23rd Street)向州当局以及在某些地方的县或市政当局申请许可证,该许可证必须每年更新一次,并且可以随时因原因被撤销或暂停。酒精饮料控制法规涉及香颂23街日常运营的许多方面,包括顾客和员工的最低年龄,运营时间,广告,贸易惯例,批发采购,与酒精制造商,批发商和分销商的其他关系,库存控制以及酒精饮料的处理,存储和分配。未来任何不遵守这些规定并获得或保留酒类许可证的行为都可能对香颂23街的业务,财务状况或经营成果产生不利影响。
信息技术系统的任何中断都会损害我们的业务并降低我们的盈利能力。
我们依靠我们的信息技术系统,尤其是在中国商店中的企业资源计划管理信息系统(“ERP系统”),提供与库存管理,生产,产品运输,销售点以及会计和财务相关的各种服务管理。我们的表现取决于能否从关键软件应用程序中获得准确,及时的数据和其他信息,以帮助日常业务和决策流程。如果我们旨在管理信息技术运营风险的控制措施未能遏制此类风险,则可能会对我们造成不利影响。如果我们不分配和有效管理建立和维护适当的技术基础架构以及维护相关的自动和手动控制流程所需的资源,我们可能会受到不利影响,包括计费和收款错误,业务中断,特别是关于我们的制造和物流功能以及安全漏洞。由我们的信息技术基础设施设备或通信网络故障引起的任何中断都可能延迟或以其他方式影响我们的日常业务和决策流程,并对我们的业绩产生负面影响。此外,我们依靠第三方来服务部分IT基础架构。他们未能提供良好和及时的服务可能会对我们的信息技术网络产生不利影响。此外,我们不控制供应商的设施或运营。其任何设施的运营中断或他们未能履行合同承诺可能会对我们的业务,财务状况和经营成果产生不利影响。
数据安全漏洞及其尝试可能会对我们的声誉,信誉和业务产生负面影响。
我们收集和存储与客户和员工有关的个人信息,包括他们的个人身份信息,并依靠第三方提供我们作为营销策略一部分使用的各种社交媒体工具和网站。客户越来越关注通过互联网(或通过其他机制)传输的个人信息的安全性,消费者身份盗用以及用户隐私。任何感知的,企图的或实际未经授权的披露有关我们的员工,客户或网站访问者的个人身份信息的行为都可能损害我们的声誉和信誉,减少我们的电子商务销售,损害我们吸引网站访问者的能力,降低我们吸引和留住客户的能力,并可能导致对我们提起诉讼或处以巨额罚款或罚款。我们无法向您保证,我们可以访问此类个人身份信息的任何第三方服务提供商都将遵守所有适用法律,维护有关数据隐私和安全的政策和惯例,或他们不会遇到可能对我们的业务造成相应不利影响的数据安全漏洞或尝试。
最近,知名公司和机构遭受的数据安全漏洞吸引了大量媒体的关注,促使外国,国家,省或州以及地方制定了新的法律和立法提案,以解决数据隐私和安全问题,并增加了数据保护信用卡发行人对商家施加的义务。结果,我们可能会受到更广泛的要求,以保护我们在购买产品时处理的客户信息,从而导致合规成本增加。
违反与我们的信用卡和借记卡交易电子处理相关的机密客户信息的安全性可能会严重影响我们的声誉,业务,财务状况和经营成果。
香颂23街的很大一部分销售是通过信用卡或借记卡进行的。其他零售商也遇到了安全漏洞,信用卡和借记卡信息被盗。香颂23街将来可能会因实际或涉嫌盗窃信用卡或借记卡信息而涉嫌欺诈交易而受到索赔,香颂23街也可能会受到与这些类型的交易有关的诉讼或其他诉讼。事件。香颂23街最终可能会对在非法活动中未经授权使用持卡人的卡号承担责任,并被发卡机构要求支付回扣费用。此外,大多数州已颁布立法,要求通知涉及个人信息(包括信用卡和借记卡信息)的安全漏洞。任何此类索赔或程序都可能导致香颂23街产生大量计划外费用,这可能对其业务,财务状况或经营成果产生不利影响。此外,这些指控引起的不利宣传可能会对香颂23街产生重大不利影响,并可能严重影响其声誉和业务,财务状况或经营成果。
18
政府监管可能会对我们在美国开设新店的能力产生不利影响,或者对我们的业务,财务状况或经营成果产生不利影响。
香颂23街以及我们可能在美国开设的任何一家或多家商店均受州和地方卫生,酒精饮料,卫生,食品和职业安全以及其他机构的许可和监管。我们可能会在为每家商店获得必要的许可证,批准或许可证方面遇到重大困难或失败,这可能会延迟未来的商店开业或影响在美国的运营。此外,当地监管机构对分区的严格而多样的要求,土地使用,并且环境因素可能会延迟或阻止在特定位置开发新商店。
我们受《美国残疾人法》和类似的州法律的约束,这些法律在就业,公共住宿和其他领域(包括香颂23街)中为残疾人提供了公民权利保护。将来,我们可能必须修改我们的商店,例如,增加出入坡道或重新设计某些建筑固定装置,以向残疾人提供服务或为他们提供合理的便利。与这些修改相关的费用可能是重大的。
香颂23街(Chanson23rd Street)以及我们可能在美国开设的任何一家或多家商店的运营还受《美国职业安全与健康法》(适用于工人健康与安全),《美国公平劳动标准法》(适用于以下事项:最低工资和加班,以及管理这些和其他就业法事项的各种类似的联邦,州和地方法律。此外,与带薪病假或类似事项有关的联邦,州和地方提案如果实施,可能会对我们的业务,财务状况或经营成果造成重大不利影响。
披露我们的食谱和其他专有信息,或者未能充分保护这些信息,可能会导致竞争加剧,并对我们的业务和财务业绩造成重大不利影响。
我们有效竞争的能力部分取决于我们获取,维护和保护专有信息的能力。我们依靠商业秘密法律和惯例,包括实体安全,有限的传播和访问以及与我们的员工,顾问,业务合作伙伴和其他人的保密协议,来保护我们的食谱,专有流程和其他专有信息。但是,商业秘密很难保护,我们经营所在司法管辖区以外的法院可能不太愿意保护我们的商业秘密。我们的保护措施可能无法有效防止泄露或未经授权使用专有信息,或者在盗用,侵权或其他侵犯我们专有信息的情况下提供足够的补救措施。
现有法律仅为我们的所有权提供有限的保护。尽管我们付出了努力,但我们可能无法保护我们的某些专有信息,或者我们获得的保护可能不够。我们面临其他风险,即我们的保护措施可能证明不足,包括:
| ● | 我们为防止规避,盗用或侵犯我们的所有权而采取的步骤可能不会成功; | |
| ● | 保密协议可能有意或无意地被违反,被视为无法执行或无法向披露方提供足够的追索权; | |
| ● | 知识产权法可能不足以支持我们的所有权,或者将来可能会以不利于我们的方式发生变化;和 | |
| ● | 在我们运营或计划开展业务的某些国家/地区,可能无法获得或限制对知识产权的有效保护。 |
19
我们可能会不时寻求对第三方执行我们的所有权。对未经授权使用专有信息的行为进行监管可能既困难又昂贵。我们针对第三方执行所有权的尝试可能不会成功。任何此类诉讼都可能导致财务和管理资源的大量转移,如果对我们不利,则可能对我们的业务和财务业绩造成重大不利影响。
我们承受与租赁大量空间相关的风险,并需要根据我们的经营租赁支付大量租赁付款。任何未能在到期时支付这些租赁款项都可能损害我们的业务,财务状况和经营成果。
我们不拥有任何房地产。取而代之的是,我们在乌鲁木齐和纽约市租赁了所有商店位置以及公司办公室和中心工厂。我们的许多租赁协议都定义了在初始期限和任何延期期间不断升级的租金规定。随着我们的商店成熟以及我们扩大商店基础,我们的租赁费用和租赁协议项下的租金现金支出将增加。我们的重大经营租赁义务可能会产生重大负面影响,包括:
| ● | 要求将经营活动产生的现金和可用现金的更多部分用于支付我们的租赁义务,从而减少可用于其他目的的流动性; | |
| ● | 增加我们对不利的总体经济和工业状况的脆弱性; | |
| ● | 限制了我们计划或应对业务或竞争行业变化的灵活性;和 | |
| ● | 限制了我们获得额外融资的能力。 |
如果现有或将来的商店不盈利,并且我们决定关闭它,则我们仍可能继续致力于履行适用租赁项下的义务,其中包括(其中包括)为租赁期的余额支付基本租金。此外,即使租赁有提前取消条款,我们也可能无法满足该租赁下提前取消的合同要求。
我们依靠经营活动产生的现金流量来支付租赁费用,为我们的增长资本需求提供资金以及满足我们的其他现金需求。如果我们的业务无法从经营活动中产生足够的现金流量来满足这些要求,则我们可能无法实现增长计划,为我们的其他流动性和资本需求提供资金或最终为我们的租赁费用提供服务,这将损害我们的业务。
意外终止租赁,未能续签我们现有房屋的租赁或未能以可接受的条件续签此类租赁可能会对我们的业务造成重大不利影响。
我们为所有商店以及公司办公室和中央工厂租赁房屋。因此,我们可能会被强制收购,关闭或拆除我们商店所在的任何物业。尽管如果我们的租赁意外终止,我们可能会收到违约金或赔偿金,但我们可能会被迫暂停相关商店的运营,并将管理层的注意力,时间和成本转移到寻找新地点和搬迁我们的商店上,这将对我们的业务和经营成果产生负面影响。
我们签订了约一至15年的租赁,并可以选择为我们的商店续订。我们的租赁租金通常是固定金额,并根据租赁协议的规定每年或每两年递增一次。我们无法向您保证,在没有大量额外费用或我们应付的租金增加的情况下,我们将能够续签相关的租赁协议。如果以大大高于当前租金的租金续签租赁协议,或者出租人授予的现有优惠条件未延长,则可能对我们的业务和经营成果造成重大不利影响。如果我们无法续签商店站点的租约,我们将不得不关闭或搬迁商店,这可能使我们面临装修和其他成本与风险,以及现有客户的流失,并可能对我们的业务和经营成果造成重大不利影响。此外,重新定位的商店的性能可能不如现有的商店。
20
如果我们无法有效和高效地管理我们的增长,我们的经营成果或盈利能力可能会受到不利影响。
尽管由于COVID-19爆发的影响,我们截至2020年12月31日的财政年度的收入从截至2019年12月31日的财政年度的12,577,135美元下降了18.0%至10,313,512美元,但我们仍打算继续通过以下方式扩大业务:开设新店。这种扩展已经并将继续对我们的管理,运营,技术和其他类型的资源提出大量需求。我们计划的扩张还将对我们提出重大要求,要求我们保持产品和客户服务的质量,以确保我们的品牌不会因产品和客户服务质量的任何实际或感知偏差而受到损害。为了管理和支持我们的增长,我们必须继续改善现有的运营,行政和技术系统以及财务和管理控制,并招募,培训和留住更多合格的烘焙行业专业人员以及其他行政和销售与市场营销人员,特别是当我们扩展到新市场并推出新的业务计划时。我们可能无法有效,高效地管理我们的业务增长,招募和留住合格人员以及将新的扩展整合到我们的业务中。结果,我们的服务质量可能会恶化,我们的经营成果或盈利能力可能会受到不利影响。
我们商店所在的购物中心或其他地点的客流量任何减少都可能导致我们的销售额低于预期。
我们的商店位于购物中心,其他购物中心和繁忙的街道位置。这些商店的销售在很大程度上来自这些地点和周围地区的客户流量。我们的商店受益于购物中心和购物中心作为购物目的地的当前受欢迎程度,以及它们在商店附近产生客流量的能力。我们的销售量和客户流量可能会受到以下因素的不利影响:
| ● | 新疆或纽约的经济低迷; | |
| ● | 高昂的燃料价格; | |
| ● | 客户人口统计的变化; | |
| ● | 我们大量商店所在的购物中心或中心的受欢迎程度下降; | |
| ● | 流行病,例如COVID-19爆发,以及政府或购物中心为应对此类流行病而采取的措施,包括限制购物中心的客户数量; | |
| ● | 关闭购物中心或中心的“锚”商店或其他主要租户的商店;要么 | |
| ● | 购物中心和中心运营商或开发商的财务状况恶化,例如可能会限制其维护和改善设施的能力。 |
由于这些或任何其他因素而导致的客户流量减少可能会对我们造成重大不利影响。
此外,在我们拥有商店的地区,恶劣的天气条件和其他灾难性事件可能会对我们的经营成果造成重大不利影响。此类状况可能会导致我们的商店受到实物损害,库存损失,客户流量减少以及我们的一家或多家商店关闭。这些因素中的任何一个都可能破坏我们的业务,并对我们的财务状况和经营成果造成重大不利影响。
21
如果我们无法吸引,培训,吸收和留住体现我们文化的员工,包括商店人员,商店和地区经理,高级经理和技术人员,则我们可能无法发展或成功运营我们的业务。
我们的成功部分取决于我们吸引,培训,吸收和留住足够数量的员工(包括商店人员,商店经理和地区经理)的能力,这些员工了解和欣赏我们的文化,并能够有效地代表我们的品牌并建立我们在客户中的信誉。如果我们无法雇用和留住能够始终如一地提供高水平客户服务的商店人员,这表现在他们对我们的文化的热情,对客户的了解以及对我们提供的面包店和其他产品的了解上,我们开设新店的能力可能会受到损害,现有和新店的业绩可能会受到重大不利影响,我们的品牌形象可能会受到负面影响。此外,烘焙行业的员工流失率通常很高,要找到合格的候选人来填补职位可能很困难。我们计划中的增长将要求我们吸引,培训和吸收更多的人员。任何未能满足我们的人员需求或团队成员更替率的任何重大增加都可能对我们的业务或经营成果产生重大不利影响。
我们非常依赖烘焙行业的经验和高级管理团队的知识,以及他们与其他行业参与者的关系。李刚先生(我们的董事长)和蔡继红女士(我们的首席财务官)对我们未来的成功尤为重要,因为他们在烘焙市场拥有丰富的经验和声誉。我们没有,也不打算在我们的任何高级管理团队中购买关键人物保险。我们的高级管理团队的一名或多名成员因离职或其他原因而失去服务,可能会阻碍我们有效管理业务和实施增长战略的能力。可能很难为我们目前的高级管理层找到合适的替代者,并且具有类似经验的此类人员的竞争非常激烈。如果我们无法留住我们的高级管理人员,我们的业务和经营成果可能会受到重大不利影响。
技术人员和其他具有所需技术专长的个人在我们的业务中取得成功的市场竞争激烈。在我们开展业务的中国某些城市和我们打算扩展到的其他城市中,合格个人的供应可能有限。我们必须及时雇用和培训合格的技术人员和其他员工,以跟上我们的快速增长,同时在各个地理位置的运营中保持稳定的产品质量。我们还必须为我们的技术人员和其他员工提供持续培训,以使他们掌握我们运营各个方面的最新知识,并能够满足我们对高质量产品的需求。如果我们未能做到这一点,则我们经营所在的一个或多个市场的产品质量可能会下降,进而可能导致对我们品牌的负面看法,并对我们的业务产生不利影响。
无法维持客户服务的质量可能会损害我们的声誉以及我们留住现有客户和吸引新客户的能力,这可能对我们的业务,财务状况和经营成果造成重大不利影响。
我们的业务受到客户群整体规模的重大影响,这又取决于(其中包括)他们对我们客户服务的体验。因此,客户服务的质量对于保留我们的现有客户和吸引新客户至关重要。如果我们无法提供优质的客户服务,我们的客户可能不太愿意访问我们的商店并购买我们的产品或向新客户推荐我们,并且可能会转向竞争对手。无法维持客户服务的质量可能会损害我们的声誉,并可能对我们的业务,财务状况和经营成果造成重大不利影响。
我们商店持续的装修和其他资本改善需求可能会对我们造成重大不利影响,包括我们的财务状况,流动性和经营成果。
为了改善客户的店内体验,我们的商店不断需要维护和翻新以及其他资本改进,包括不时更换家具,固定装置和设备。这些资本改善可能会带来以下风险:
| ● | 可能的环境责任; | |
| ● | 建设成本超支和延误; | |
22
| ● | 由于资本改善项目而导致商店停止服务时的收入下降; | |
| ● | 可能缺乏可用现金来为资本改善提供资金,以及相关的可能性,即我们可能无法以优惠条件或根本无法获得这些资本改善的融资; | |
| ● | 市场需求的不确定性或资本改善开始后市场需求的损失;和 | |
| ● | 承包方在基本建设改造项目或其他使其无法完成工作的情况下破产或资不抵债。 |
所有这些资本改善的成本或上述任何注意因素都可能对我们造成重大不利影响,包括我们的财务状况,流动性和经营成果。
未来的收购可能会对我们管理业务的能力产生不利影响。
我们可能会收购与我们的核心烘焙产品制造和零售业务互补的业务,技术,服务或产品。未来的收购可能使我们面临潜在风险,包括与新运营,服务和人员整合相关的风险,不可预见或隐藏的负债,从我们现有业务和技术中转移资源,我们可能无法产生足够的收入来抵消新的收入成本,收购费用,或由于我们整合新业务而导致与员工和客户关系的潜在损失或损害。
上面列出的任何潜在风险都可能对我们管理业务,收入和净收入的能力产生重大不利影响。我们可能需要筹集更多债务资金或出售更多股本证券来进行此类收购。如果需要,我们筹集额外的债务资金将导致偿债义务增加,并可能导致额外的运营和融资契约或对我们资产的留置权,从而限制我们的运营。出售其他股本证券可能会对我们的股东造成额外稀释。
与我们的公司结构有关的风险
我们的公司结构,尤其是我们的VIE安排(“VIE安排”),面临以下风险因素所述的重大风险。李刚先生和王辉女士在本文中分别称为“UFG运营商”和“UFG运营商”。”
我们与UFG实体和UFG运营商的VIE安排可能无法有效地控制UFG实体。
我们当前收入和净收入的很大一部分来自UFG实体。我们在任何UFG实体中都没有所有权权益,而是依靠与他们的合同安排来控制和运营其业务。但是,VIE安排可能无法有效地为我们提供对每个UFG实体及其运营的必要控制。这些合同安排中的任何缺陷都可能导致我们失去对UFG实体的管理和运营的控制,从而导致对公司投资价值的重大损失。我们通过VIE安排依靠合同权利来实现对UFG实体的控制和管理,这使我们面临UFG运营商潜在违约的风险。此外,由于我们的董事长李刚先生和新疆和睦家的营销总监王辉女士在本次发行结束前分别拥有22家和1家UFG实体的100%股权,如果此类UFG运营商拒绝与我们合作,我们可能很难改变公司结构。
23
我们与UFG实体的合同安排受中国法律管辖,我们可能难以执行根据这些合同安排可能享有的任何权利。
由于我们与UFG实体的所有合同安排均受中国法律管辖,并规定在中国通过仲裁解决争议,因此它们将根据中国法律进行解释,任何争议将根据中国法律程序解决。我们与UFG实体之间因这些合同安排而产生的争议将在中国通过仲裁解决,尽管这些争议不包括根据美国联邦证券法提出的索赔,因此不会阻止您根据美国联邦证券法提出索赔。中国的法律环境不如美国发达。因此,中国法律制度的不确定性可能会进一步限制我们通过仲裁,诉讼和其他法律程序在中国执行这些合同安排的能力,这可能会限制我们执行这些合同安排并对UFG实体施加有效控制的能力。此外,如果中国政府机构或法院认为这些合同违反中国法律法规或由于公共政策原因而无法执行,则这些合同可能无法在中国执行。如果我们无法执行这些合同安排,我们可能无法对UFG实体施加有效控制,并且我们开展业务的能力可能受到重大不利影响。
我们可能无法合并某些关联公司的财务业绩,或者这种合并可能对我们的经营业绩和财务状况造成重大不利影响。
我们很大一部分业务是通过UFG实体开展的,出于会计目的,UFG实体目前被视为VIE,我们被视为主要受益人,使我们能够将财务业绩合并到合并财务报表中。如果将来我们作为VIE持有的公司不再符合VIE的定义,或者我们被视为不是主要受益人,出于中国目的,我们将无法在我们的合并财务报表中逐项合并该实体的财务业绩。此外,如果将来关联公司成为VIE,而我们成为主要受益人,则出于中国目的,我们将被要求将该实体的财务业绩合并到我们的合并财务报表中。如果该实体的财务业绩为负,则可能会对我们在中国的经营业绩产生相应的负面影响。但是,与美国和SEC会计法规普遍接受的原则,惯例和方法相比,为中国目的编制财务报表所使用的会计原则,惯例和方法的任何重大变化都必须进行讨论,量化,并出于美国公认会计原则和SEC目的在财务报表中进行对帐。
新疆和睦家与UFG之间的合同安排可能会导致不利的税收后果。
中国法律法规强调关联方之间转让定价安排必须以公平为基础。法律法规还要求有关联交易的企业编制转让定价文件,说明定价依据、计算方法和详细说明。关联方安排和交易可能会受到中国税务机关的质疑或税务检查。
在税务检查下,如果我们将新疆和睦家与UFG之间的转让定价安排判断为避税,或者相关文件不符合要求,则新疆和睦家和UFG可能会受到重大不利税收后果的影响,例如转让定价调整。出于中国税收目的,转让价格调整可能会导致新疆和睦家记录的调整减少,这可能会通过以下方式对我们产生不利影响:(i)增加UFG的税收负债而不减少我们子公司的税收负债,这可能进一步导致向我们征收未缴税款的利息;(ii)限制我们的中国公司维持优惠税收待遇和其他财务激励措施的能力。
我们的控股股东与我们公司存在潜在的利益冲突,这可能会对我们的业务产生不利影响。
李刚先生是我们的控股股东兼董事长。UFG的22个实体由李先生独立拥有。鉴于他对我们公司的重大利益,存在这样的风险:当发生利益冲突时,李先生将不会完全符合我们股东的最大利益(而不是他的个人利益),或者利益冲突将在以下方面得到解决:我们有利。例如,他可能会确定切断与我们的合同安排符合UFG的利益,无论这种行为可能对我们产生什么影响。李先生已为新疆和睦家的某些贷款担任担保人,这可能会与我们公司产生利益冲突。此外,他可能会通过将业务机会从我们转移到他人而违反其信托义务,从而影响UFG根据咨询服务协议有义务汇给我们的付款金额。
我们的董事会将由大多数独立董事组成。这些独立董事可能能够阻止和抵制我们的高级管理人员或非独立董事(可能包括李先生)违反我们利益的行为。但是,我们无法保证独立董事在任何给定情况下将如何行事。此外,如果我们或独立董事无法解决我们与作为我们在中国的关联公司管理成员的高级管理人员和董事之间的任何利益冲突,我们将不得不依靠法律程序,这可能会导致中断我们的业务。
24
如果您认为由于上述任何一种情况而导致您的权利受到证券法或其他方面的侵犯,您可能很难或不可能对我们或居住在中国境内的我们的高级职员或董事提起诉讼。即使您成功提起诉讼,中国法律也可能使您无法对我们的资产和管理层执行判决,这些资产和管理层大多位于中国。
我们依靠UFG持有的批准证书和营业执照,新疆和睦家与UFG之间关系的任何恶化都可能对我们的整体业务运营造成重大不利影响。
根据VIE安排,我们在中国的大部分业务将根据每个UFG实体持有的批准,证书,营业执照和其他必要的许可证进行。不能保证每个UFG实体都能够在其任期届满时以与当前持有的条款基本相似的条款续签其许可证或证书。
此外,我们与每个UFG实体的关系均受VIE安排约束,旨在通过我们对新疆和睦家的间接所有权,为我们提供对每个UFG实体业务运营的有效控制。但是,VIE安排可能无法有效控制我们业务运营所需许可证的申请和维护。任何UFG实体都可能违反VIE安排,破产,遭受业务困难或无法履行VIE安排下的义务,因此,我们的运营,声誉,业务和股价可能受到严重损害。
行使我们的选择权以根据看涨期权协议购买任何UFG实体的部分或全部资产可能需要获得中国政府的批准。我们未能获得此批准可能会损害我们实质上控制UFG实体的能力,并可能导致UFG实体采取与我们利益相抵触的行动。
我们与UFG的认购期权协议赋予新疆和睦家购买UFG全部或部分资产的选择权。但是,如果行使会违反中国的任何适用法律和法规,或导致UFG持有的,运营UFG所必需的任何执照或许可证被取消或无效,则不得行使该选择权。如果我们决定行使该认购期权,并且需要获得中国政府的批准,而我们没有或无法获得该批准,则我们可能无法购买该认购期权标的的资产。
由于我们的收入依靠与每个UFG实体的独家服务协议,因此这些协议的终止将严重不利地影响我们在当前公司结构下的持续业务生存能力。
我们是一家控股公司,在截至2020年12月31日和2019年12月31日的年度中,我们收入的约76%和53%分别来自UFG实体。因此,在新疆和睦家根据独家服务协议从UFG实体收到付款后,我们目前的收入依靠新疆和睦家的股息支付。独家服务协议的期限为10年,除非新疆和睦家提前30天通知提前终止。UFG无权单方面终止该协议。该协议将在到期后10年内自动续签,续签时间没有限制。由于我们和我们的子公司均不拥有UFG的股权,因此独家服务协议的终止将切断我们在当前控股公司结构下继续从UFG实体收取款项的能力。尽管我们目前尚不知道任何可能导致独家服务协议终止的事件或原因,但将来可能会发生此类事件或原因。如果独家服务协议被终止,这可能会对我们在当前公司结构下的持续业务生存能力产生严重不利影响,进而可能影响您的投资价值。
25
与在中国开展业务有关的风险
中国经济,政治或社会状况或政府政策的变化可能会对我们的业务和运营造成重大不利影响。
我们目前的大部分资产和业务位于中国。因此,我们的业务,财务状况,经营成果和前景可能会在很大程度上受到中国总体政治,经济和社会状况的影响。中国经济在政府参与程度、发展水平、增长速度、外汇管制和资源配置等方面与大多数发达国家经济存在较大差异。尽管中国政府已采取措施,强调利用市场力量进行经济改革,包括减少生产性资产的国家所有和建立完善的企业法人治理结构,但中国仍有很大一部分生产性资产为政府所有。此外,中国政府通过实施产业政策,在规范产业发展方面继续发挥重要作用。中国政府还通过分配资源,控制外币计价债务的支付,制定货币政策以及为特定行业或公司提供优惠待遇来对中国的经济增长进行重大控制。
尽管中国经济在过去几十年中经历了显著增长,但无论是在地理上还是在经济的各个部门之间,增长都是不均衡的。中国经济状况,中国政府政策或中国法律法规的任何不利变化都可能对中国的整体经济增长产生重大不利影响。此类发展可能会对我们的业务和经营业绩产生不利影响,减少对我们产品的需求并削弱我们的竞争地位。中国政府采取各种措施鼓励经济增长,引导资源配置。其中一些措施可能会使中国整体经济受益,但可能会对我们产生负面影响。例如,我们的财务状况和经营成果可能会受到政府对资本投资的控制或税收法规变更的不利影响。此外,过去中国政府采取了一些措施,包括调整利率,以控制经济增长的步伐。这些措施可能导致中国经济活动减少,从而可能对我们的业务和经营业绩产生不利影响。
中国法律法规的解释和执行方面的不确定性可能会限制您和我们可获得的法律保护。
中国的法律制度以成文法为基础。与英美法系不同,这是一种法律案件作为先例的价值有限的制度。20世纪70年代末,中国政府开始颁布全面的经济法律法规体系。过去三十年的立法大大加强了对在中国的各种形式的外国或私营部门投资的保护。我们的中国关联实体受通常适用于中国公司的各种中国法律和法规的约束。由于这些法律法规相对较新,并且中国法律体系继续快速发展,因此,许多法律,法规和规则的解释并不总是统一的,并且这些法律,法规和规则的执行存在不确定性。
我们可能会不时诉诸行政和法院程序来执行我们的合法权利。但是,由于中国行政和法院当局在解释和执行法定和合同条款方面拥有很大的酌处权,与较发达的法律体系相比,评估行政和法院程序的结果以及我们在中国法律体系中享有的法律保护水平可能更加困难。此外,中国法律制度部分基于可能具有追溯效力的政府政策和内部规则。结果,我们可能直到违反后的某个时间才意识到我们违反了这些政策和规则。此类不确定性,包括对我们的合同,财产(包括知识产权)和程序权利的范围和影响的不确定性,以及对中国监管环境变化的任何不响应,都可能对我们的业务造成重大不利影响,并阻碍我们继续开展业务的能力我们的运营。
26
根据外国法律,您在提供法律程序服务,执行外国判决或在中国对我们或招股说明书中提及的我们的管理层提起诉讼时可能会遇到困难。对于您或海外监管机构而言,在中国境内进行调查或收集证据也可能很困难。
我们是一家根据开曼群岛法律注册成立的公司,我们在中国开展大部分业务,大部分资产位于中国。此外,我们几乎所有的高级执行官都居住在中国境内,每年很大一部分时间都在中国,并且是中国国民。因此,您可能很难向我们或中国内地的人员提供流程服务。此外,开曼群岛或中国的法院是否会承认或执行美国法院针对我们或基于美国证券法或任何美国州的民事责任规定的此类人员的判决尚不确定。
《中华人民共和国民事诉讼法》规定了外国判决的承认和执行。中国法院可以根据《中华人民共和国民事诉讼法》的要求,根据中国与作出判决的国家之间的条约或司法管辖区之间的对等原则,承认和执行外国判决。中国与美国没有任何条约或其他形式的书面安排规定相互承认和执行外国判决。此外,根据《中华人民共和国民事诉讼法》,如果中国法院认为该判决违反了中国法律的基本原则或国家主权,安全或公共利益,则不会对我们或我们的董事和高级管理人员执行外国判决。因此,尚不确定中国法院是否以及在什么基础上执行美国法院作出的判决。请参阅“民事责任的可执行性”。”
对于您或海外监管机构而言,在中国境内进行调查或收集证据也可能很困难。例如,在中国,获取在中国境外或与外国实体有关的股东调查或诉讼所需的信息存在重大的法律和其他障碍。尽管中国当局可能会与另一个国家或地区的同行建立监管合作机制,以监控和监督跨境证券活动,但在缺乏有效监管的情况下,与美国证券监管机构的此类监管合作可能不会有效。实用的合作机制。此外,根据2020年3月生效的《中国证券法》第177条或“第177条”,任何海外证券监管机构均不得在中国境内直接进行调查或取证活动。第一百七十七条进一步规定,未经中华人民共和国国务院证券监督管理机构和中华人民共和国国务院有关部门同意,中国的单位和个人不得向外国机构提供与证券经营活动有关的文件或者资料。尽管尚未颁布第177条的详细解释或实施规则,但海外证券监管机构无法在中国境内直接进行调查或取证活动可能会进一步增加您在保护自己的利益方面面临的困难。
SEC和上市公司会计监督委员会(美国)或“PCAOB”最近发表的联合声明,建议纳斯达克提交规则变更,《外国公司责任法案》(Holding Foreign Companies Accountability Act)都要求在评估其审计师(尤其是未经PCAOB检查的非美国审计师)的资格时,对新兴市场公司适用更多更严格的标准。这些发展可能会给我们的产品增加不确定性。
2020年4月21日,SEC主席杰伊·克莱顿(Jay Clayton)和PCAOB主席威廉·D·杜恩克三世(William D.Duhnke III)以及其他SEC高级工作人员发布了一份联合声明,强调了与投资位于新兴市场(包括中国)或在新兴市场拥有大量业务的公司相关的风险。联合声明强调了与PCAOB无法在中国检查审计师和审计工作底稿相关的风险,以及新兴市场更高的欺诈风险。
2020年5月18日,纳斯达克向SEC提交了三项提案,以(i)对主要在“限制性市场”中运营的公司适用最低发行规模要求,(ii)采用与管理层或董事会资格有关的新要求限制性市场公司的董事,(iii)根据公司审计师的资格,对申请人或上市公司适用更多更严格的标准。
2020年5月20日,美国参议院通过了《控股外国公司责任法》,要求如果PCAOB由于公司使用不受PCAOB检查的外国审计师而无法对特定报告进行审计,则外国公司必须证明其不是外国政府拥有或控制的。如果PCAOB连续三年无法检查公司的审计师,则禁止发行人的证券在国家交易所交易。2020年12月2日,美国众议院批准了《控股外国公司责任法》。2020年12月18日,《控股外国公司责任法》签署成为法律。
27
由于无法获得PCAOB在中国的检查,PCAOB无法全面评估在中国的审计师的审计和质量控制程序。结果,投资者可能会被剥夺此类PCAOB检查的好处。PCAOB无法在中国对审计师进行检查,因此,与接受PCAOB检查的中国境外审计师相比,评估这些会计师事务所的审计程序或质量控制程序的有效性更加困难,这可能导致A类普通股的投资者和潜在投资者对我们的审计程序,报告的财务信息和财务报表的质量失去信心。
我们的审计师是发行本招股说明书其他部分所载审计报告的独立注册公共会计师事务所,是在美国公开交易的公司和在PCAOB注册的公司的审计师,受美国法律的约束,根据该法律,PCAOB进行定期检查以评估其是否符合适用的专业标准。我们的审计师总部位于纽约曼哈顿,并已接受PCAOB的定期检查,最后一次检查于2018年5月进行。但是,最近的发展将给我们的发行增加不确定性,在考虑了审计师的审计程序和质量控制程序的有效性之后,我们无法向您保证我们申请上市的国家证券交易所或监管机构是否会对我们适用更多更严格的标准,与我们的审计有关的人员和培训的充分性,资源的充分性,地理范围或经验。
未能获得必要的批准,执照或许可证,或不遵守中国法律,法规和政策的任何要求,可能会对我们的日常运营造成重大不利影响,并阻碍我们的增长。
我们的运营受到广泛的法律和法规要求的约束。在开始运营之前,我们必须持有与我们的运营有关的许多许可证和许可证,主要包括食品生产许可证和食品经营许可证。未能获得此类许可证或丢失或未能续签将违反适用的法律和法规。如果我们被发现违反了适用的法律法规,我们可能会受到行政处罚,包括罚款,禁令,资产扣押以及强制停业,其中任何一项都可能对我们的业务,财务状况,经营成果造成重大不利影响,和前景。截至本招股说明书发布之日,所有UFG实体均已获得《食品经营许可证》,尽管其中一些实体在开业时尚未获得《食品经营许可证》。这些实体在开业时未获得食品经营许可证可能会使我们受到罚款或其他处罚,例如没收收入,尽管我们没有收到任何警告通知,也没有受到相关政府机构关于在没有上述许可的情况下开展业务的处罚或其他处罚。我们将在许可证到期日前30个工作日提出续签申请。一般来说,只要一个商业实体合法经营,信誉良好,其续展申请就会获得批准。我们将尽最大努力续签上述许可证,但我们无法向您保证我们将能够续签此类许可证,或者将来不会受到任何处罚。请参阅“法规-中国法规-食品生产和食品经营法规-食品生产许可证和食品经营许可证”。”
《中华人民共和国环境保护法》第四十五条规定,在中国实施排污许可证管理的企业事业单位和其他生产经营者,应当按照排污许可证的要求排放污染物。根据我们中心工厂的情况,以及我们的生产设备和生产过程,至少需要进行污水登记。截至本招股说明书日期,我们仍在申请污水注册。因此,我们可能会因未获得排污许可证或未填写排污登记表而排放污染物而受到环境保护部门或其他相关部门的行政处罚,这可能会对我们的业务和经营成果造成不利影响。请参阅“法规-中国法规-食品生产和食品经营法规-污染物排放许可证”。”
中国劳动力成本的增加可能会对我们的业务和盈利能力产生不利影响。
近年来,中国经济经历了劳动力成本的上升。预计中国的整体经济和平均工资将继续增长。近年来,我们员工的平均工资水平也有所提高。我们预计我们的人工成本(包括工资和员工福利)将继续增加。除非我们能够通过提高产品价格将这些增加的劳动力成本转嫁给客户,否则我们的盈利能力和经营成果可能会受到重大不利影响。
28
此外,在与员工签订劳动合同以及向员工支付各种法定员工福利(包括养老金,住房基金,医疗保险,工伤保险,失业保险和生育保险)方面,我们受到了更严格的监管要求。指定的政府机构,以使我们的员工受益。根据2008年1月生效并于2012年12月28日修订的《中国劳动合同法》或《劳动合同法》及其2008年9月生效的实施细则,雇主在以下方面受到更严格的要求:签订劳动合同,最低工资,支付报酬,确定员工试用期,单方面终止劳动合同。如果我们决定终止某些员工或以其他方式更改我们的雇用或劳动惯例,则《劳动合同法》及其实施规则可能会限制我们以理想或具有成本效益的方式进行这些更改的能力,这可能会对我们的业务和经营成果产生不利影响。
由于与劳工有关的法律法规的解释和实施仍在发展中,因此我们无法向您保证我们的雇佣惯例不会也不会违反中国与劳工有关的法律法规,这可能会使我们遭受劳资纠纷或政府调查。如果我们被认为违反了相关的劳动法律法规,我们可能会被要求向我们的员工提供额外的补偿,我们的业务,财务状况和经营成果可能会受到重大不利影响。
我们的中国关联实体尚未按照中国法规的要求为所有员工提供足够的社会保险和住房基金供款,这可能会使我们受到处罚。
根据《中国社会保险法》和《住房公积金管理条例》,在中国经营的公司必须参加养老保险,工伤保险,医疗保险,失业保险,生育保险(统称为“社会保险”)和住房基金计划,用人单位必须为职工缴纳全部或者部分社会保险费和住房公积金。有关更多详细信息,请参阅“法规-中国法规-就业和社会福利法规-社会保险和住房基金”。“鉴于不同地区的经济发展水平不同,中国地方政府对社会保险和住房公积金的要求并没有始终如一地执行。我们的中国关联实体尚未为所有员工提供足够的社会保险和住房基金供款。自到期日起,我们可能需要补足社会保险费,并按未偿还金额的每天0.05%的费率支付滞纳金。如果我们未能在规定的期限内弥补不足,有关行政机关将对我们处以未偿还金额一至三倍的罚款。但是,考虑到(i)新疆和睦家的部分员工超过了应缴纳社会保险费的年龄限制;(ii)部分员工选择不领取新疆和睦家存入的社会保险费,而是决定参加自己的自愿社会保险计划,并承诺不要求新疆和睦家补缴;(三)根据人力资源和社会保障部9月21日发布的《关于贯彻国务院常务会议精神稳定社会保险费征收工作的紧急通知》,2018年,地方当局被禁止从企业追回未缴纳的社会保险费,逾期社会保险费不太可能被新疆和睦家勒令偿还。关于住房公积金计划,我们可能会被要求在规定的期限内按时足额缴纳住房公积金。如果我们不这样做,有关当局可以向主管法院提出强制执行付款和存款的申请。
有关中国居民离岸投资活动的中国法规可能会使我们的中国居民实益拥有人或我们的中国子公司承担责任或罚款,限制了我们向中国子公司注资的能力,限制我们的中国子公司增加注册资本或向我们分配利润的能力,否则可能会对我们产生不利影响。
2014年7月4日,国家外汇管理局(“国家外汇管理局”)发布了《关于境内居民通过专用工具进行境外投融资和往返投资外汇管理有关问题的通知》或“国家外汇管理局第37号通知”。”根据国家外汇管理局第37号通知,中国居民(包括中国个人和中国法人实体以及出于外汇管理目的被视为中国居民的外国个人)必须事先在当地国家外汇管理局分支机构注册,与其直接或间接将国内资产或权益贡献给离岸特殊目的工具或“SPV”有关。”国家外汇管理局第37号通知进一步要求,如果离岸SPV的基本信息发生任何变化,例如中国个人股东,名称和经营期限发生变化,或者离岸SPV发生任何重大变化,例如增加或减少出资,股份转让或交换,或合并或分立。国家外汇管理局第37号通函适用于我们的中国居民股东,也可能适用于我们将来进行的任何离岸收购。2015年2月,国家外汇管理局发布了《关于进一步简化和完善直接投资外汇管理政策的通知》或“国家外汇管理局第13号通知”,自2015年6月起生效。根据国家外汇管理局第13号通知,入境外国直接投资和出境海外直接投资的外汇注册申请(包括国家外汇管理局第37号通知要求的申请)将向合格的银行而不是国家外汇管理局提交。符合条件的银行将在国家外汇管理局的监督下直接审核申请并接受注册。
除国家外汇管理局第37号通知和国家外汇管理局第13号通知外,我们在中国开展外汇活动的能力可能还取决于国家外汇管理局于2007年1月颁布的《个人外汇管理办法实施细则》(经修订和补充,“个人外汇规则”)。根据《个人外汇规则》,任何寻求在海外进行直接投资或从事在海外发行或交易可转让证券或衍生工具的中国个人必须按照国家外汇管理局的规定进行适当的注册,否则可能会对该中国个人处以警告,罚款或其他负债。
29
我们受国家外汇管理局第37号通函和个人外汇规则约束的现有股东已按照法规的要求在合格银行完成了初始注册。但是,我们可能不会被告知持有公司直接或间接权益的所有中国居民的身份,并且我们无法控制任何未来的实益拥有人。因此,我们无法保证我们未来的中国居民实益拥有人将遵守我们进行或获得任何适用注册的要求,或持续遵守这些SAFE法规中规定的所有注册程序。我们的中国居民实益拥有人未能或无法遵守这些国家外汇管理局法规,可能会使我们或我们的中国居民实益拥有人受到罚款和法律制裁,限制我们的跨境投资活动或限制我们的中国子公司向其分配股息的能力,或从我们公司获得外汇主导的贷款,或阻止我们进行分配或支付股息,结果可能对我们的业务运营和向您分配利润的能力造成重大不利影响。
中国对母公司/子公司贷款以及离岸控股公司对中国实体的直接投资的监管可能会延迟或阻止我们将此次发行的收益用于向我们的中国运营子公司提供贷款或额外出资,这可能对我们的流动性以及我们为业务提供资金和扩展业务的能力产生重大不利影响。
根据中国法律法规,在适用的政府注册,法定金额限制和批准要求的前提下,我们可以通过向中国子公司提供贷款或向中国子公司提供额外的出资来利用此次发行的收益为中国子公司提供资金。未经国家外汇管理局或其他政府机构的批准,我们可能向新疆和睦家提供的出资额为人民币6,000,000元(约合857,143美元)。此外,新疆和睦家可增加注册资本以收取我们的额外出资,目前在满足适用的政府和备案要求的前提下,增加注册资本没有法定限制。根据中国相关规定,我们可向新疆和睦家提供不超过(i)新疆和睦家注册总投资额与注册资本之间的较大金额的贷款,或(ii)根据中国人民银行第9号通知计算的新疆和睦家净资产金额的两倍,但须满足适用的政府注册或批准要求。对于我们可能向新疆和睦家提供的任何金额的贷款,此类贷款必须在国家外汇管理局的当地对口单位注册。有关更多详细信息,请参阅“法规-中国法规-外汇法规”。”这些中国法律法规可能会严重限制我们使用从此次发行所得款项净额转换的人民币为我们的中国子公司在中国建立新实体提供资金或通过我们的中国子公司投资或收购任何其他中国公司的能力。此外,我们无法向您保证,对于我们向中国子公司的未来贷款或我们向中国子公司的未来出资,我们将能够及时完成必要的注册或获得必要的政府批准。如果我们未能完成此类注册或获得此类批准,则我们使用从离岸发行中获得或预期从离岸发行中获得的收益以及资本化或以其他方式为我们的中国业务提供资金的能力可能会受到负面影响,这可能会对我们产生重大不利影响业务,包括我们的流动性以及我们为业务提供资金和扩展业务的能力。
汇率波动可能对我们的经营成果和您的投资价值产生重大不利影响。
人民币兑美元和其他货币的价值可能会波动,并受到(其中包括)中国政治和经济状况变化以及中国外汇政策的影响。2005年7月21日,中国政府改变了将人民币与美元挂钩的十年政策,在接下来的三年中,人民币兑美元升值了20%以上。在2008年7月至2010年6月期间,人民币停止升值,人民币兑美元汇率保持在狭窄的区间内。自2010年6月以来,人民币兑美元汇率波动很大,有时是不可预测的。2015年11月30日,国际货币基金组织(IMF)执行局完成了对构成特别提款权(“SDR”)的一篮子货币的定期五年审查,并决定自2016年10月1日起生效,人民币被确定为可自由使用的货币,并将与美元,欧元,日元和英镑一起作为第五种货币纳入SDR篮子。2016年第四季度,在美元飙升和中国资本持续外流的背景下,人民币大幅贬值。这种贬值在2017年停止,在这一年中人民币兑美元升值了约7%。在2018年和2019年,人民币兑美元分别贬值4.8%和1.3%。2020年,人民币兑美元升值约6.9%。随着外汇市场的发展以及利率自由化和人民币国际化的进展,中国政府将来可能会宣布进一步更改汇率制度,并且我们无法向您保证人民币将来不会对美元升值或贬值。很难预测市场力量或中国或美国政府的政策将来会如何影响人民币与美元之间的汇率。由于我们在中国和美国均拥有和经营商店,汇率波动将对我们的业务以及经营成果和财务状况产生负面影响。
30
我们的大部分业务在中国开展,我们的大多数账簿和记录以人民币(中国的货币)保存,我们向SEC提交并提供给股东的财务报表以美元显示。。人民币与美元之间汇率的变化以美元表示时会影响我们资产的价值和我们的经营业绩。人民币兑美元和其他货币的价值可能会波动,并受到以下因素的影响:中国政治和经济状况的变化以及中国和美国经济的预期变化。人民币的任何重大升值都可能对我们的现金流量,收入和财务状况造成重大不利影响。此外,本招股说明书提供的A类普通股以美元发行,我们将需要将收到的部分所得款项净额转换为人民币,以便将资金用于我们在中国的业务。美元与人民币之间转换率的变化将影响我们可用于业务的收益额。
在中国,可用来减少我们承受汇率波动风险的对冲选择非常有限。迄今为止,我们尚未进行任何对冲交易以减少外汇风险。尽管我们可能会决定将来进行对冲交易,但这些对冲的可用性和有效性可能会受到限制,并且我们可能无法充分对冲我们的敞口或根本无法对冲。此外,中国外汇管制法规可能会放大我们的货币汇兑损失,这些法规限制了我们将人民币转换为外币的能力。因此,汇率波动可能会对您的投资产生重大不利影响。
根据《中国企业所得税法》,出于中国企业所得税目的,我们可能被归类为中国“居民企业”。此类分类可能会对我们和我们的非中国股东造成不利的税收后果,并对我们的经营成果和您的投资价值产生重大不利影响。
根据2008年1月生效的《中国企业所得税法》或“企业所得税法”,就中国企业所得税而言,在中国境外设立并在中国境内设有“事实上的管理机构”的企业被视为“居民企业”,通常对其全球收入征收25%的统一企业所得税税率。根据《企业所得税法》的实施规则,“事实上的管理机构”是指对企业的制造和业务运营,人员和人力资源,财务和财产进行重大和全面管理和控制的机构。此外,国家税务总局或“SAT”于2009年4月发布的称为“SAT82号通知”的通知,并由中国人民银行于2014年1月发布的第9号通知进行了部分修订,规定,如果以下公司位于或居住在中国,则由中国企业或中国企业集团控制的某些离岸注册成立企业将被归类为中国居民企业:高级管理人员和负责日常生产的部门,运营和管理;财务和人事决策机构;关键财产,会计账簿,公司印章以及董事会会议和股东大会记录;以及半数或以上具有表决权的高级管理人员或董事。继SAT82号通知之后,SAT发布了一份公告,称为“SAT公告45”,该公告于2011年9月生效,并于2015年6月1日和10月1日进行了修订,2016年,为执行国家税务总局82号文提供更多指导,并明确中国控制的离岸注册居民企业的报告和备案义务,为国家税务总局82号文的实施提供更多指导,并明确此类“中国控制的离岸注册居民企业”的报告和备案义务。”SAT Bulletin45提供了确定居民身份和确定后事项管理的程序和管理详细信息。尽管SAT82号文和SAT45号公告均仅适用于由中国企业或中国企业集团控制的离岸企业,而不适用于由中国个人或外国个人控制的离岸企业,国家税务总局第82号通知和国家税务总局第45号公告中规定的确定标准可能反映了国家税务总局关于在确定离岸企业的税收居民身份时应如何应用“事实上的管理机构”测试的总体立场,无论它们是否由中国企业控制,中国企业集团,或由中国或外国个人。
如果中国税务机关确定香颂国际的实际管理机构在中国境内,则香颂国际可能被视为出于中国企业所得税目的的中国居民企业,并且可能会产生许多不利的中国税收后果。首先,我们将对全球收入统一征收25%的企业所得税,这可能会大大降低我们的净收入。此外,我们还将承担中国企业所得税报告义务。最后,我们应付给投资者的股息和出售股票的收益可能要缴纳中国预扣税,对于非中国企业,税率为10%,对于非中国个人,税率为20%(在每种情况下,(根据任何适用的税收协定的规定),如果此类收益被视为来自中国来源。目前尚不清楚,如果我们被视为中国居民企业,本公司的非中国股东是否能够要求其税收居住国与中国之间的任何税收协定的利益。任何此类税收都可能减少您对我们股票的投资回报。尽管截至本招股说明书发布之日,中国税务机关尚未通知或告知香颂国际,就《企业所得税法》而言,香颂国际已被视为居民企业,我们无法向您保证,将来它不会被视为居民企业。
31
我们面临其非中国控股公司间接转让中国居民企业股权的不确定性。
2015年2月,国家税务总局发布了有关非税居民企业间接转让财产的某些公司所得税事项的公告,或“国家税务总局第7号通知”。”SAT第7号通知提供了有关非居民企业间接转让中国应税资产(包括中国居民企业的股权和不动产)的全面准则。此外,国家税务总局于2017年10月发布了一项有关非居民企业所得税来源预扣的问题的公告,即“国家税务总局第37号通知”,自2017年12月起生效,其中包括修订了国家税务总局第7号通知中的某些规定,并进一步明确了非居民企业的应纳税申报义务。其非中国控股公司间接转让中国居民企业的股权和/或不动产须遵守国家税务总局第7号通知和国家税务总局第37号通知。
国家税务总局第7号通知为评估合理的商业目的提供了明确的标准,并为集团内部重组以及通过公共证券市场买卖股票引入了安全港。根据国家税务总局第7号通知的规定,如果交易双方的股权结构属于以下情况,则间接转让中国应税资产被视为合理的商业目的:i)转让人直接或间接拥有受让人80%或以上的股权,或反之亦然;ii)转让人和受让人均由同一方直接或间接拥有80%或以上;iii)项目要点i)和ii)中的百分比应为100%如果外国企业的股份价值超过50%,则直接或间接来自中国房地产。此外,国家税务总局第7号通知还对应税资产的外国转让人和受让人(或有义务为转让付款的其他人)带来了挑战。如果非居民企业通过处置海外控股公司的股权间接转让中国应税资产,即间接转让,则非居民企业作为转让人或受让人,或直接拥有应税资产的中国实体,可以向有关税务机关报告这种间接转让,并且如果海外控股公司缺乏合理的商业目的并且是为了减少,避免或递延中国税而成立的,则中国税务机关可以无视该海外控股公司的存在。因此,从这种间接转让中获得的收益可能要缴纳中国企业所得税,并且受让人或有义务为转让付款的其他人有义务预扣适用的税款,目前以10%的利率转让中国居民企业的股权。
根据国家税务总局第37号通知,非居民企业未按照企业所得税法第39条申报应纳税额的,税务机关可以责令其在规定的期限内缴纳应纳税额,非居民企业应当在税务机关规定的期限内申报缴纳税款。但是,非居民企业在税务机关责令其在规定期限内自行申报缴纳税款的,视为该企业已及时缴纳税款。
在涉及中国应税资产的合理商业目的和未来交易(例如离岸重组,出售离岸子公司的股份和投资)的报告和评估方面,我们面临不确定性。如果在间接转让交易中被评估为没有合理的商业目的,则如果我们是此类交易的转让人,我们可能要承担备案义务或征税,并且可能要承担预扣义务(具体而言,根据国家税务总局第7号通函和国家税务总局第37号通函,如果我们是此类交易的受让人,则应缴纳10%的股权转让预扣税。对于非中国居民企业的投资者转让股份,可能会要求我们的中国子公司根据国家税务总局通函协助备案。因此,我们可能需要花费宝贵的资源来遵守SAT通函,或要求我们从其购买应税资产的相关转让人遵守这些通函,或确定我们不应根据这些通函征税,可能对我们的财务状况和经营成果造成重大不利影响。
32
我们的中国子公司在向我们支付股息或其他付款方面受到限制,这可能会对我们开展业务的能力产生重大不利影响。
我们是一家在开曼群岛注册成立的控股公司。我们可能需要从中国子公司新疆和睦家获得股息和其他股权分配,以满足我们的流动性要求。当前的中国法规仅允许我们的中国子公司从其根据中国会计准则和法规确定的累计利润(如有)中向我们支付股息。此外,我们的中国子公司每年必须拨出其各自累计利润的至少10%(如有)来为某些储备金提供资金,直到拨出的总金额达到其各自注册资本的50%为止。我们的中国子公司还可以根据中国会计准则酌情将其各自的税后利润的一部分分配给员工福利和奖金。这些准备金不能作为现金股利分配。对中国子公司向我们支付股息或进行其他分配的能力的这些限制可能会严重不利地限制我们的增长,进行投资或收购的能力,这些能力可能对我们的业务,支付股息或以其他方式为我们提供资金和开展业务。
政府对货币兑换的控制可能会影响您的投资价值和我们的股息支付。
中国政府对人民币兑换外币以及在某些情况下对将货币汇出中国实施控制。我们收到的几乎所有收入都是人民币。在我们目前的公司结构下,香颂国际可能依靠中国子公司的股息支付来满足我们可能有的任何现金和融资需求。根据现行的中国外汇法规,经常账户项目的付款,例如利润分配以及与贸易和服务相关的外汇交易,可以通过遵守某些程序要求,在未经国家外汇管理局事先批准的情况下以外币支付。因此,我们的中国子公司可以在未经国家外汇管理局事先批准的情况下向我们支付外币股息,但前提是将此类股息汇出中国符合《中国外汇条例》规定的某些程序,例如我们的股东或作为中国居民的公司股东的最终股东进行的海外投资注册。但是,如果要将人民币转换为外币并汇出中国以支付资本费用,例如偿还以外币计价的贷款,则需要获得适当政府机构的批准或注册。中国政府将来也可以酌情决定限制经常账户交易使用外币。如果外汇管制系统阻止我们获得足够的外币来满足我们的外币需求,则我们可能无法向股东支付外币股息。
根据《企业所得税法》,与我们的中国子公司的预扣税负债有关存在重大不确定性,我们的中国子公司应付给离岸子公司的股息可能不符合享受某些条约优惠的条件。
根据《企业所得税法》及其实施细则,外商投资企业通过经营产生的利润分配给其在中国境外的直接控股公司,应缴纳10%的预扣税率。根据中国内地与香港特别行政区关于避免对收入重复征税和逃税的安排,或“双重避税安排”,10%的预扣税率可能会降低至5%如果中国企业在分配股息之前至少连续12个月由香港企业持有至少25%的股份,并且由相关的中国税务机关确定已满足双重避税安排下的其他条件和要求以及其他适用的中国法律。
但是,根据有关中国税务机关酌情决定于2009年2月20日生效的《关于执行税收协定中股息规定的某些问题的通知》或“SAT81号通知”,如果公司由于主要由税收驱动的结构或安排而从降低的所得税率中受益,则此类中国税务机关可以调整优惠税收待遇。根据自2018年4月1日起生效的《关于税收协定中有关“实益拥有人”的若干问题的通知》,在确定申请人在与股息,利息或特许权使用费有关的税收待遇方面的“实益拥有人”身份时,税收协定,将考虑到几个因素。这些因素包括申请人经营的业务是否构成实际的经营活动,税收协定的对应国或地区是否不征税,是否给予有关收入免税或以极低的税率征税。本通知进一步要求任何打算被证明为“实益拥有人”的申请人向相关税务机关提交相关文件。我们的中国子公司由我们的香港子公司全资拥有。但是,我们无法向您保证我们对我们享受税收优惠待遇的资格的决定不会受到相关中国税务机关的质疑,或者我们将能够向相关中国税务机关完成必要的备案并根据双重避税安排,对我们的中国子公司向我们的香港子公司支付的股息享有5%的优惠预扣税率,在这种情况下,我们将被征收10%的较高提款税收到的股息。
33
如果我们直接受到在美国上市的中国公司的审查,批评和负面宣传,我们可能不得不花费大量资源来调查和解决可能损害我们的业务运营,股价和声誉的问题。
在中国拥有几乎所有业务的美国上市公司一直受到投资者,财务评论员和监管机构(例如SEC)的严格审查,批评和负面宣传。许多审查,批评和负面宣传都集中在财务和会计违规和错误,缺乏对财务会计的有效内部控制,公司治理政策不足或不遵守该政策,以及在许多情况下对欺诈的指控上。由于审查,批评和负面宣传,许多在美国上市的中国公司的公开交易股票价值急剧下降,在某些情况下甚至变得一文不值。这些公司中的许多公司现在都受到股东诉讼和SEC执法行动的约束,并正在对指控进行内部和外部调查。尚不清楚这种全行业的审查,批评和负面宣传将对我们,我们的业务以及A类普通股的价格产生什么影响。如果我们成为任何不利指控的对象,无论这些指控被证明是真实的还是不真实的,我们都将不得不花费大量资源来调查此类指控和/或为公司辩护。这种情况将是昂贵且费时的,并分散了我们管理层发展业务的精力。如果此类指控未被证明是毫无根据的,我们和我们的业务运营将受到严重影响,您可能会承受A类普通股价值的大幅下跌。
我们向美国证券交易委员会提交的报告和其他文件中的披露以及我们的其他公开声明均不受中国任何监管机构的审查。
我们受SEC监管,根据SEC根据《证券法》和《交易法》颁布的规则和法规,我们向SEC提交的报告和其他文件均需接受SEC的审查。我们的SEC报告以及其他披露和公开声明不受任何中国监管机构的审查或审查。例如,美国证券交易委员会(SEC)报告和其他文件中的披露内容不受负责监管中国资本市场的中国监管机构中国证监会的审查。因此,您应该在了解没有当地监管机构对我们,我们的SEC报告,其他文件或我们的任何其他公开声明进行任何审查的情况下,审查我们的SEC报告,文件和我们的其他公开声明。
并购规则和某些其他中国法规为外国投资者对中国公司的某些收购建立了复杂的程序,这可能使我们更加难以通过在中国的收购来追求增长。
外国投资者并购国内公司的法规或“并购规则”以及最近通过的有关并购的法规和规则建立了其他程序和要求,这可能会使外国投资者的并购活动更加耗时且复杂。例如,《并购规则》要求,在以下情况下,外国投资者控制中国国内企业的任何控制权变更交易均应事先通知中国商务部(“MOFCOM”):任何重要行业,(ii)该交易涉及已影响或可能影响国家经济安全的因素,或(iii)该交易将导致对拥有著名商标或中国老字号的国内企业的控制权发生变化。允许一家市场主体控制另一家市场主体或对另一家市场主体施加决定性影响的合并或收购,也必须事先通知商务部,前提是《企业集中事先通知阈值规定》规定的阈值,或触发国务院于2008年8月发布的“事先通知规则”。此外,商务部于2011年9月生效的《安全审查规则》规定,外国投资者提出“国防和安全”问题的并购以及外国投资者可以通过其获得对国内企业的实际控制权的并购引起“国家安全”担忧的行为受到商务部的严格审查,该规则禁止任何试图绕过安全审查的活动,包括通过代理或合同控制安排来安排交易。将来,我们可能会通过收购互补业务来发展业务。遵守上述法规和其他相关规则的要求来完成此类交易可能会很耗时,并且任何必要的批准程序,包括获得商务部或其当地同行的批准,都可能延迟或抑制我们完成此类交易的能力。显然,我们的业务不会被视为引起“国防与安全”或“国家安全”担忧的行业。但是,商务部或其他政府机构将来可能会发布解释,确定我们的业务属于受安全审查的行业,在这种情况下,我们将来在中国的收购,包括通过与目标公司订立合同控制安排的收购实体,可能会受到严密审查或禁止。因此,我们通过未来收购扩展业务或维持或扩大市场份额的能力将受到重大不利影响。
34
与本次发行和交易市场有关的风险
在此次发行之前,我们的A类普通股没有公开市场,您可能无法以您所支付的价格或更高的价格转售我们的A类普通股,或者根本无法转售。
在此次发行之前,我们的A类普通股没有公开市场。我们已申请将A类普通股在纳斯达克资本市场上市。但是,发行后,A类普通股的活跃公开市场可能不会发展或维持,在这种情况下,A类普通股的市场价格和流动性将受到重大不利影响。
您将立即大量稀释所购买的A类普通股的有形账面净值。
我们的A类普通股的首次公开发行价格大大高于(备考)每股A类普通股的有形账面净值。因此,当您在发行中购买我们的A类普通股时,如果承销商未行使超额配股权,则发行完成后您将立即稀释每股3.78美元,如果承销商行使超额配股权,则稀释每股3.66美元。完全,假设首次公开募股价格为5.00美元,这是本招股说明书封面上列出的估计首次公开募股价格范围的中点。请参阅“稀释。”此外,您可能会受到进一步稀释,以至于在转换B类普通股或行使我们可能不时授予的期权时会发行额外的A类普通股。
如果我们未能实施和维护有效的内部控制系统,或者未能纠正已发现的财务报告内部控制中的重大缺陷,我们可能无法履行报告义务或无法准确报告我们的经营成果或防止欺诈,投资者的信心和A类普通股的市场价格可能受到重大不利影响。
在此次发行之前,我们一直是一家私人公司,会计人员和其他资源有限,无法解决我们的内部控制和程序。我们的独立注册会计师事务所尚未对我们的财务报告内部控制进行审计。但是,在编制截至2020年12月31日和2019年12月31日止年度的合并财务报表时,我们发现了PCAOB制定的标准中定义的财务报告内部控制的重大缺陷以及其他控制缺陷。已发现的重大缺陷包括缺乏具有美国公认会计原则(“美国公认会计原则”)以及SEC报告和合规要求的适当知识的会计人员和资源。在确定了重大缺陷和控制缺陷之后,我们计划继续采取补救措施,包括(i)雇用更多具有相关美国GAAP和SEC报告经验和资格的合格会计人员,以加强财务报告职能并建立财务和系统控制框架;(ii)实施定期和连续的美国GAAP会计以及为我们的会计和财务报告人员提供的财务报告培训计划;(iii)聘请外部咨询公司协助我们评估萨班斯-奥克斯利法案的合规性要求并改善整体内部控制;(iv)任命独立董事,成立审计委员会并加强公司治理。但是,这些措施的实施可能无法完全解决我们对财务报告内部控制的重大缺陷。我们未能纠正重大缺陷或未能发现和解决任何其他重大缺陷或控制缺陷,可能会导致我们的财务报表不准确,也可能损害我们及时遵守适用的财务报告要求和相关监管文件的能力。因此,我们的业务,财务状况,经营成果和前景以及A类普通股的交易价格可能受到重大不利影响。此外,对财务报告的无效内部控制严重阻碍了我们防止欺诈的能力。
35
发行完成后,根据2002年《萨班斯-奥克斯利法案》,我们将成为美国的上市公司。2002年《萨班斯-奥克斯利法案》(Sarbanes-Oxley Act of2002)第404条将要求我们从2021年12月31日结束的财年的年度报告开始,在20-F表的年度报告中包含有关财务报告内部控制的管理层报告。此外,一旦我们不再是《JOBS法》所定义的“新兴成长型公司”,我们的独立注册公共会计师事务所必须证明并报告我们对财务报告的内部控制的有效性。我们的管理层可能会得出结论,我们对财务报告的内部控制无效。此外,即使我们的管理层得出结论认为我们对财务报告的内部控制是有效的,我们的独立注册会计师事务所在进行了自己的独立测试之后,如果对我们的内部控制或记录,设计,操作或审查我们的控制的水平不满意,或者对相关要求的解释与我们不同,则可以发布合格的报告。此外,在我们成为上市公司之后,在可预见的将来,我们的报告义务可能会对我们的管理,运营以及财务资源和系统造成重大压力。我们可能无法及时完成评估测试和任何必要的补救措施。
作为一家上市公司,我们将招致大量增加的成本。
发行完成后,作为一家上市公司,我们将承担大量法律,会计和其他费用,而这是我们作为私人公司所没有的。2002年的《萨班斯-奥克斯利法案》以及随后由SEC和纳斯达克实施的规则对上市公司的公司治理实践提出了各种要求。
遵守这些规则和法规会增加我们的法律和财务合规成本,并使某些公司活动更加耗时且成本更高。我们在获得董事和高级职员责任保险方面产生了额外的费用。此外,我们会产生与上市公司报告要求相关的额外费用。对于我们来说,找到合格的人担任董事会或执行官也可能更加困难。
根据《JOBS法》的定义,我们是一家“新兴成长型公司”,并且在本次发行完成五周年之后的财政年度(a)的最后一天(以较早者为准)之前,我们将一直是一家新兴成长型公司,(b)我们每年的总收入至少为10.7亿美元,或(c)我们被视为大型加速披露公司,这意味着截至6月30日,非关联公司持有的A类普通股的市场价值超过7亿美元,并且(2)在此期间我们发行了超过10亿美元的不可转换债务的日期。前三年。新兴成长型公司可以利用特定的减少报告和其他通常适用于上市公司的要求。这些规定包括在评估新兴成长公司对财务报告的内部控制时免除404节中的审计师证明要求,以及允许延迟采用新的或经修订的会计准则,直到这些准则适用于私营公司为止。
在我们不再是“新兴成长型公司”之后,或者直到首次公开募股完成后的五年(以较早者为准),我们预计将产生大量额外费用,并投入大量管理工作以确保遵守404节的要求以及SEC的其他规则和法规。例如,作为一家上市公司,我们被要求增加独立董事的人数,并采用有关内部控制以及披露控制和程序的政策。
36
我们目前正在评估和监视有关这些规则和法规的发展,并且我们无法确定地预测或估计我们可能产生的额外费用金额或此类费用的时间安排。
普通股的双重类别结构具有与董事长集中投票控制权的作用,他的利益可能与我们其他股东的利益不符。
我们拥有由A类普通股和B类普通股组成的双重投票结构。在这种结构下,A类普通股的持有人有权每一股A类普通股获得一票,而B类普通股的持有人有权每一股B类普通股获得10票,这可能导致B类普通股的持有人拥有不平衡的,更高的投票权集中度。紧接本次发行完成之前,我们的董事长李刚先生实益拥有2,700,000股(占我们已发行A类普通股的88.24%)和5,400,000股(占我们已发行B类普通股的90.91%),约占我们公司投票权的90.78%。此次发行后,假设承销商不行使超额配股权,李刚先生将持有2,700,000股A类普通股和5,400,000股B类普通股,约占本公司投票权的86.62%,假设承销商充分行使超额配股权,则约为86.03%。因此,在李刚先生的投票权低于50%之前,李刚先生作为控股股东对我们的业务具有重大影响,包括有关合并,合并和出售我们全部或基本全部资产的决定,选举董事,以及其他重要的公司行动。他可能会采取不符合我们或我们其他股东最佳利益的行动。即使我们的其他股东反对,也可以采取这些公司行动。此外,这种投票权的集中可能会阻止,阻止或延迟股东可能认为有利的控制权变更交易的完成,包括股东可能以其他方式获得其股份溢价的交易。B类普通股的未来发行也可能稀释A类普通股的持有人。结果,我们的A类普通股的市场价格可能受到不利影响。
普通股的双重类别结构可能会对A类普通股的交易市场产生不利影响。
几家股东咨询公司已宣布反对使用多级结构。结果,普通股的双重类别结构可能导致股东咨询公司对我们的公司治理实践发表负面评论,或者试图促使我们改变资本结构。股东咨询公司对我们的公司治理实践或资本结构提出批评的任何行动或出版物也可能对我们的A类普通股的价值产生不利影响。
由于我们是纳斯达克上市规则所指的“受控公司”,因此我们可能会遵守对某些公司治理要求的某些豁免,这可能会对我们的公众股东产生不利影响。
此次发行后,我们的最大股东将继续拥有我们已发行普通股的多数投票权。根据纳斯达克上市规则,个人,集团或另一家公司拥有50%以上投票权的公司是“受控公司”,并被允许逐步遵守独立委员会的要求。尽管即使我们被视为“受控公司”,我们也不打算依靠纳斯达克上市规则中的“受控公司”豁免,但我们可以选择将来依靠这些豁免。如果我们选择依靠“受控公司”豁免,则董事会的大多数成员可能不是独立董事,并且我们的提名,公司治理和薪酬委员会可能不完全由独立董事组成。因此,如果我们依靠豁免,在我们仍然是受控公司期间以及在我们不再是受控公司之后的任何过渡期内,您将无法获得受纳斯达克所有公司治理要求约束的公司股东所享有的保护。
A类普通股的大量未来销售或对A类普通股在公开市场上的未来销售的预期可能导致A类普通股的价格下跌。
此次发行后在公开市场上出售大量A类普通股,或者认为可能发生这些出售,可能会导致A类普通股的市场价格下跌。如果未行使承销商的超额配股权,则在本次发行完成前共有3,060,000股A类普通股在外流通,而在本次发行完成后将立即有6,060,000股A类普通股在外流通,如果承销商的超额配股权被完全行使,则本次发行完成后将立即发行6,510,000股A类普通股。将这些股票出售给市场可能会导致我们的A类普通股的市场价格下跌。
在可预见的将来,我们不打算支付股息。
我们目前打算保留任何未来收益来为我们的业务运营和扩展提供资金,并且我们预计在可预见的将来不会宣派或支付任何股息。因此,只有当我们的A类普通股的市场价格上涨时,您才能获得对我们的A类普通股的投资回报。
37
如果证券或行业分析师不发布有关我们业务的研究或报告,或者发布有关A类普通股的负面报告,则A类普通股的价格和交易量可能会下降。
我们的A类普通股的任何交易市场可能部分取决于行业或证券分析师发布的有关我们或我们业务的研究和报告。我们对这些分析师没有任何控制权。如果覆盖我们的一位或多位分析师将我们降级,我们的A类普通股价格可能会下跌。如果其中一位或多位分析师停止对我们公司的报道或不定期发布有关我们的报告,则我们可能会失去金融市场的知名度,这可能导致我们的A类普通股价格和交易量下降。
无论我们的经营业绩如何,我们的A类普通股的市场价格都可能会波动或下跌,并且您可能无法以首次公开发行价或更高的价格转售股票。
我们的A类普通股的首次公开发行价格将通过承销商与我们之间的谈判确定。它可能与我们的收入,账面价值或任何其他价值指标没有直接关系,并且可能与我们首次公开募股后A类普通股的市场价格有所不同。我们的A类普通股的市场价格可能会大大低于首次公开发行价格。在过去的几年中,美国和其他国家/地区的金融市场经历了重大的价格和数量波动。我们的A类普通股价格的波动可能是由我们无法控制的因素引起的,并且可能与我们经营成果的变化无关或不成比例。
如果您在我们的首次公开募股中购买了我们的A类普通股,则可能无法以首次公开募股价格或更高的价格转售这些股票。我们无法向您保证,我们的A类普通股的首次公开发行价格或首次公开发行后的市场价格将等于或超过我们首次公开发行前不时发生的私下协商的股票交易价格。公开发售。我们的A类普通股的市场价格可能会因多种因素而大幅波动,其中许多因素是我们无法控制的,包括:
| ● | 我们的收入和其他经营业绩的实际或预期波动; | |
| ● | 我们可能向公众提供的财务预测,这些预测的任何变化或我们未能达到这些预测; | |
| ● | 发起或维持对我们的报道的证券分析师的行为,关注我们公司的任何证券分析师的财务估计变更,或我们未能达到这些估计或投资者的期望; | |
| ● | 我们或我们的竞争对手发布的重要产品或功能,技术创新,收购,战略合作伙伴关系,合资企业或资本承诺的公告; |
| ● | 整个股票市场的价格和数量波动,包括由于整个经济趋势而引起的波动; | |
| ● | 威胁或针对我们提起的诉讼;和 | |
| ● | 其他事件或因素,包括战争或恐怖主义事件引起的事件或因素,或对这些事件的反应。 |
此外,股票市场经历了极端的价格和数量波动,这些波动已经影响并继续影响许多公司的股本证券的市场价格。许多公司的股价波动与这些公司的经营业绩无关或不成比例。过去,在市场波动时期之后,股东提起了证券集体诉讼。如果我们要参与证券诉讼,可能会使我们承受巨额成本,将资源和管理层的注意力从我们的业务中转移出来,并对我们的业务产生不利影响。
我们的管理层拥有广泛的酌处权,可以决定如何使用此次发行所筹集的资金,并可能以可能不会提高我们的经营成果或A类普通股价格的方式使用这些资金。
我们预计,我们将利用此次发行的净收益在美国开设新店,并在乌鲁木齐建设新的中心工厂。管理层将对此次发行所得款项净额的用途拥有重大酌处权,并可能以不会改善我们的经营成果或提高A类普通股市场价格的方式使用所得款项。
38
如果我们不再有资格成为外国私人发行人,我们将被要求完全遵守适用于美国国内发行人的《交易法》的报告要求,并且我们将承担大量额外的法律责任,我们作为外国私人发行人不会产生的会计和其他费用。
我们希望在本次发行完成后有资格成为外国私人发行人。作为外国私人发行人,我们将不受《交易法》中规定代理声明的提供和内容的规则的约束,我们的高级管理人员,董事和主要股东将不受本节中包含的报告和短期利润回收规定的约束。《交易法》第16条。此外,《交易法》将不要求我们像美国国内发行人那样频繁或迅速地向SEC提交定期报告和财务报表,并且我们将不需要在定期报告中披露美国国内发行人需要披露的所有信息。尽管我们目前希望在本次发行完成后立即有资格成为外国私人发行人,但将来我们可能会不再有资格成为外国私人发行人,在这种情况下,我们将产生大量的额外费用,这可能会对我们的经营成果产生重大不利影响。
由于我们是外国私人发行人,并且不受适用于美国发行人的某些纳斯达克公司治理标准的约束,因此与我们作为国内发行人相比,您将受到更少的保护。
纳斯达克上市规则要求上市公司除其他外,其大多数董事会成员必须是独立的。但是,作为外国私人发行人,我们被允许,并且我们可以遵循母国惯例来代替上述要求,或者我们可以选择在上市后一年内遵守上述要求。我们的母国开曼群岛的公司治理实践不需要董事会的多数成员由独立董事组成。因此,尽管董事必须为公司的最大利益行事,但行使独立判断的董事会成员可能会减少,因此,董事会对公司管理层的监督水平可能会降低。此外,纳斯达克上市规则还要求美国国内发行人设立薪酬委员会,完全由独立董事组成的提名/公司治理委员会以及至少由三名成员组成的审计委员会。作为外国私人发行人,我们不受这些要求的约束。纳斯达克上市规则可能需要股东批准某些公司事务,例如要求股东有机会对所有股权补偿计划以及对这些计划的重大修订,某些普通股发行进行投票。我们打算在确定此类事项是否需要股东批准并任命提名和公司治理委员会时遵守纳斯达克上市规则的要求。但是,我们可能会考虑遵循母国惯例,以代替纳斯达克上市规则中有关某些公司治理标准的要求,这些标准可能会为投资者提供较少的保护。
如果我们无法满足或无法继续满足纳斯达克资本市场的初始上市要求和其他规则,则我们的证券可能不会上市或可能会退市,这可能会对我们的证券价格和您的出售能力产生负面影响。
此次发行完成后,我们将寻求使我们的证券获准在纳斯达克资本市场上市。我们无法向您保证,届时我们将能够满足这些初始上市要求。即使我们的证券在纳斯达克资本市场上市,我们也无法向您保证我们的证券将继续在纳斯达克资本市场上市。
此外,此次发行后,为了维持我们在纳斯达克资本市场的上市,我们将被要求遵守纳斯达克资本市场的某些规则,包括有关最低股东权益,最低股价,最低市场价值的规则。公开持有的股票,以及各种其他要求。即使我们最初满足纳斯达克资本市场的上市要求和其他适用规则,我们也可能无法继续满足这些要求和适用规则。如果我们无法满足纳斯达克资本市场维持上市的标准,则我们的证券可能会退市。
39
如果纳斯达克资本市场未列出我们的证券,或随后将我们的证券从交易中删除,我们可能会面临重大后果,包括:
| ● | 我们的证券的市场报价有限; | |
| ● | 减少了我们证券的流动性; | |
| ● | 确定我们的A类普通股是“便士股票”,这将要求交易我们的A类普通股的经纪人遵守更严格的规则,并可能导致我们的A类二级交易市场的交易活动减少普通股; | |
| ● | 新闻和分析师报道的数量有限;和 | |
| ● | 将来发行额外证券或获得额外融资的能力下降。 |
我们经修订和重述的组织章程大纲和细则中的反收购规定可能会阻止,延迟或阻止控制权的变更。
我们经修订和重述的组织章程大纲和细则的某些规定可能会阻止,延迟或阻止股东认为有利的对公司或管理层的控制权变更,其中包括:
| ● | 授权我们的董事会发行具有优先,递延或其他特殊权利或限制的股票的规定,而无需股东进一步投票或采取行动;和 | |
| ● | 限制我们的股东召开会议和提议特别事项以供股东大会审议的能力的规定。 |
由于我们是一家“新兴成长型公司”,因此我们可能不受其他上市公司的要求,这可能会影响投资者对我们和我们的A类普通股的信心。
只要我们仍然是《JOBS法》所定义的“新兴成长型公司”,我们将选择利用某些豁免,这些豁免适用于非“新兴成长型公司”的其他上市公司的各种报告要求,包括但不限于,无需遵守《萨班斯-奥克斯利法案》第404条的审计师证明要求,减少了我们定期报告和委托书中有关高管薪酬的披露义务,并且免除了先前未批准的任何金色降落伞付款的股东批准要求批准。由于这些监管要求的降低,我们的股东将无法获得更成熟公司的股东可获得的信息或权利。如果某些投资者因此发现我们的A类普通股缺乏吸引力,那么我们的A类普通股交易市场可能就不那么活跃,我们的股价可能会更加波动。请参阅“我们成为新兴成长型公司的含义。”
40
开曼群岛法律可能无法为我们的股东提供与向在美国注册成立的公司的股东提供的利益可比的利益。
我们是根据开曼群岛法律注册成立的获豁免公司,承担有限责任。我们的公司事务受我们经修订和重述的组织章程大纲和细则,开曼群岛《公司法》(2021年修订)和开曼群岛普通法的约束。根据开曼群岛法律,股东对我们的董事采取行动的权利,少数股东的行动以及董事对我们的信托责任在很大程度上受开曼群岛普通法管辖。开曼群岛的普通法部分源自开曼群岛相对有限的司法判例和英国普通法。枢密院(开曼群岛等英国海外领土的最终上诉法院)的决定对开曼群岛的法院具有约束力。英国法院,特别是最高法院和上诉法院的裁决通常具有说服力,但对开曼群岛法院不具有约束力。英联邦其他司法管辖区的法院判决同样具有说服力,但不具有约束力。开曼群岛法律规定的股东权利和董事的信托责任不如美国法规或司法判例所规定的那样明确,开曼群岛的证券法相对于美国而言不太发达。因此,面对我们管理层的行动,我们的公众股东可能会更难保护自己的利益,与在美国司法管辖区注册成立的公司的股东相比,董事或控股股东
根据开曼群岛法律,像我们这样的开曼群岛获豁免公司的股东没有检查公司记录或获取这些公司股东名册副本的一般权利。根据我们的公司章程,董事有权酌情决定股东是否以及在什么条件下可以检查我们的公司记录,但没有义务将其提供给我们的股东。这可能会使您更难获得必要的信息,以建立股东动议所需的任何事实,或从其他股东那里征集与代理人竞赛有关的代理人。
由于上述所有原因,面对我们的管理层,董事会成员采取的行动,公众股东在保护自己的利益方面可能会遇到更多困难,或控股股东,而不是在美国注册成立的公司的公众股东,以讨论《开曼群岛公司法》的规定与适用于在美国注册成立的公司及其股东的法律之间的重大差异,请参阅“股本说明-公司法的差异”。”
您可能无法在股东未召集的年度股东大会或临时股东大会之前提出建议。
开曼群岛法律仅赋予股东有限的要求召开股东大会的权利,并未赋予股东在股东大会上提出任何提案的权利。但是,这些权利可以在公司的公司章程中提供。我们的公司章程允许持有总计不少于已发行有表决权股本10%的股份的股东要求召开股东大会,在这种情况下,董事有义务召集该会议。召开年度股东大会至少需要提前21个整日的通知,召开任何其他股东大会至少需要提前14个整日的通知。股东大会所需的法定人数包括至少一名出席或由代理人出席的股东,占在公司股东大会上具有表决权的已发行股份总数的不少于三分之一。为此目的,“净日”是指不包括(a)日的期间
发出通知或视为发出通知的日期,以及(b)发出通知或通知生效的日期。
如果我们被归类为被动外国投资公司,则拥有A类普通股的美国纳税人可能会对美国联邦所得税产生不利影响。
在任何纳税年度,如果以下情况之一,像我们这样的非美国公司将被归类为被动外国投资公司,称为PFIC:
| ● | 本年度我们总收入的至少75%是被动收入;要么 | |
| ● | 在纳税年度中,产生被动收入或为产生被动收入而持有的资产的平均百分比(在每个季度末确定)至少为50%。 |
41
被动收入通常包括股息,利息,租金和特许权使用费(不包括因积极开展贸易或业务而产生的租金或特许权使用费)以及处置被动资产的收益。
如果我们被确定为持有A类普通股的美国纳税人的持有期内包含的任何纳税年度(或其一部分)的PFIC,美国纳税人可能要承担更多的美国联邦所得税责任,并可能要遵守其他报告要求。
根据我们在此次发行中筹集的现金量,以及为产生被动收入而持有的任何其他资产,有可能在2021纳税年度或随后的任何年度,我们超过50%的资产可能是产生被动收入的资产,在这种情况下,我们将被视为PFIC,这可能会对作为股东的美国纳税人产生不利的美国联邦所得税后果。我们将在任何特定纳税年度结束后做出此决定。
尽管这方面的法律尚不清楚,但出于美国联邦所得税目的,我们将中国关联实体视为由我们拥有,不仅因为我们对此类实体的运营行使有效控制,而且还因为我们有权获得其几乎所有的经济利益,因此,我们将其经营成果合并到合并财务报表中。就PFIC分析而言,一般而言,非美国公司被视为拥有其按价值计算至少拥有25%权益的任何实体的总收入和资产的按比例份额。
有关PFIC规则对我们的适用以及如果我们曾经或被确定为PFIC对美国纳税人的后果的更详细讨论,请参阅“重大所得税注意事项-美国联邦所得税-被动外国投资公司”。”
我们的首次公开募股前股东将能够在本次发行完成后出售股票,但要遵守《证券法》第144条的限制。
在此次发行之前,已发行和发行了3,060,000股A类普通股。本次发行完成后,我们的首次公开募股前股东可能可以根据规则144出售其A类普通股。请参阅下面的“有资格出售的股票”。由于这些股东支付的每股A类普通股价格低于本次发行的参与者,因此当他们能够根据规则144出售首次公开募股前的股票时,他们可能更愿意接受比首次公开募股更低的销售价格。价格。此事实可能会影响发行完成后A类普通股的交易价格,从而损害本次发行的参与者。根据规则144,在我们的首次公开募股前股东可以出售其股票之前,除了满足其他要求外,他们还必须满足要求的持有期限。我们预计在本次发行未决期间,不会根据规则144出售任何A类普通股。
42
有关前瞻性陈述的披露
本招股说明书包含前瞻性陈述,这些陈述反映了我们对未来事件的当前期望和看法,所有这些陈述均受风险和不确定性的影响。前瞻性陈述给出了我们对未来事件的当前期望或预测。您可以通过这些陈述与历史或当前事实不严格相关的事实来识别这些陈述。通过使用诸如“近似”,“相信”,“希望”,“期望”,“预期”,“估计”,“项目”,“打算”之类的词语,您可以找到许多(但不是全部)这些陈述。”,“计划”,“将要”,“将要”,“应该”,“可能”,“可能”或本招股说明书中的其他类似表述。这些陈述可能会涉及我们的增长战略,财务业绩以及产品和开发计划。您必须仔细考虑任何此类陈述,并应了解许多因素可能导致实际结果与我们的前瞻性陈述有所不同。这些因素可能包括不准确的假设以及各种其他风险和不确定性,包括已知和未知的风险和不确定性。不能保证前瞻性陈述,未来的实际结果可能会有重大差异。可能导致实际结果与前瞻性陈述中讨论的结果有所不同的因素包括但不限于:
| ● | 关于我们未来财务和经营成果的假设,包括收入,收入,支出,现金余额和其他财务项目; | |
| ● | 我们执行增长和扩张计划的能力,包括我们实现目标的能力; | |
| ● | 当前和未来的经济和政治状况; | |
| ● | 我们在进入壁垒较低的行业中竞争的能力; | |
| ● | 我们通过VIE结构继续运营的能力; | |
| ● | 我们的资本要求以及我们筹集我们可能需要的任何额外融资的能力; | |
| ● | 我们吸引客户并进一步提高品牌知名度的能力; | |
| ● | 我们有能力雇用和留住合格的管理人员和关键员工,以使我们能够发展业务; | |
| ● | 烘焙行业的趋势和竞争; | |
| ● | COVID-19爆发的未来发展;和 | |
| ● | 本招股说明书中描述的与任何前瞻性陈述相关或与之相关的其他假设。 |
我们在“风险因素”下描述了可能影响我们业务的某些重大风险,不确定性和假设,包括我们的财务状况和经营成果。”我们的前瞻性陈述基于管理层的信念和假设,基于做出陈述时管理层可获得的信息。我们告诫您,实际结果和结果可能并且可能与我们的前瞻性陈述所表达,暗示或预测的内容存在重大差异。因此,您应注意不要依赖任何前瞻性陈述。除非联邦证券法另有要求,否则我们无意或没有义务在本招股说明书发布后公开更新任何前瞻性陈述,无论是由于新信息,未来事件,假设变更还是其他原因。
行业数据和预测
本招股说明书包含与中国和美国烘焙行业有关的数据。这些行业数据包括基于我们认为合理的行业和政府来源得出的许多假设的预测。烘焙行业可能无法以行业数据预测的速度增长,或者根本无法增长。行业未能按预期增长可能会对我们的业务和A类普通股的市场价格造成重大不利影响。此外,烘焙行业迅速变化的性质使与我们行业的增长前景或未来状况有关的任何预测或估计都面临重大不确定性。此外,如果行业数据所依据的任何一项或多项假设被证明是不正确的,则实际结果可能并且很可能与基于这些假设的预测有所不同。
43
民事责任的可执行性
我们是根据开曼群岛法律注册成立的获豁免有限责任公司。由于与开曼群岛公司相关的某些利益,例如政治和经济稳定,有效的司法系统,有利的税收制度,没有外汇管制或货币限制,我们根据开曼群岛法律注册成立,以及专业和支持服务的可用性。但是,与美国相比,开曼群岛的证券法体系较不发达,对投资者的保护也比美国少得多。此外,开曼群岛公司可能没有资格在美国联邦法院提起诉讼。
我们的大部分业务在中国进行,而我们的大部分资产位于中国。此外,我们的所有董事和高级管理人员均为中国国民或居民,因此,其全部或大部分资产位于美国境外,投资者可能难以在美国境内向我们或这些人提供程序服务,或难以对我们或他们执行在美国法院获得的判决,包括根据美国联邦证券法或美国任何州的证券法的民事责任规定作出的判决。
我们已任命George Chanson(NY)Corp.为我们的代理人,以就在美国地方法院对我们提起的任何诉讼接受程序服务根据美国联邦证券法或美国任何州的证券法为纽约南区或根据纽约州证券法在纽约州纽约州最高法院对我们提起的任何诉讼。
Ogier是我们有关开曼群岛法律的律师,Dentons Law Offices,LLP(广州)(“Dentons”)是我们有关中国法律的律师,已经为我们提供建议存在不确定性关于开曼群岛或中国的法院是否会(i)承认或执行美国法院根据美国联邦证券法或任何美国州证券法的民事责任规定对我们或我们的董事或高级管理人员作出的判决或(ii)受理根据美国联邦证券法或美国任何州的证券法在开曼群岛或中国针对我们或我们的董事或高级管理人员提起的原始诉讼。
Ogier进一步告知我们,美国与开曼群岛之间目前没有法定执行或条约规定执行判决。但是,在美国获得的判决可以根据普通法在开曼群岛法院得到承认和执行,而无需对基本争议的是非曲直进行任何重新审查,可以通过在大法院对外国判决债务提起诉讼开曼群岛法院,但该判决:(i)由具有管辖权的外国法院作出;(ii)是最终判决;(iii)不涉及税收,罚款或罚款;(iv)并非以某种方式获得,并且其执行方式不违反开曼群岛的自然正义或公共政策。此外,开曼群岛法院是否会执行尚不确定:(i)美国法院在针对我们或其他人的诉讼中获得的判决基于美国联邦证券法的民事责任规定;(ii)针对我们或根据《证券法》对其他人提起的原始诉讼。Ogier已告知我们,开曼群岛法律存在不确定性,涉及开曼群岛法院是否将根据证券法的民事责任条款从美国法院获得的判决确定为刑事或惩罚性判决。
Dentons进一步告知我们,《中国民事诉讼法》规定了对外国判决的承认和执行。中国法院可以根据中国与作出判决的国家之间的条约或司法管辖区之间的互惠关系,根据《中国民事诉讼法》的要求承认和执行外国判决。中美之间没有相互承认和执行法院判决的条约或其他形式的对等。Dentons进一步告知我们,根据中国法律,如果法院裁定外国判决违反了中国法律的基本原则或国家主权,安全或公共利益,则中国法院将不会对我们或我们的高级管理人员和董事执行外国判决,因此,很难在中国承认和执行美国法院的判决。
44
所得款项用途
根据假设的每股A类普通股5.00美元的首次公开发行价格(这是本招股说明书封面上列出的估计首次公开发行价格范围的中点),我们估计我们将从此次发行中获得净收益,扣除估计的承销折扣和我们应付的估计发行费用后,如果承销商未行使其超额配股权,则约为12,849,969美元,如果承销商完全行使其超额配股权,则约为14,919,969美元。
我们计划将从此次发行中获得的净收益用于以下目的:
| ● | 约80%在美国开设新店;和 | |
| ● | 约20%用于在乌鲁木齐建设新的中心工厂。 |
我们计划投资约人民币1,790万元(约合280万美元)在乌鲁木齐建设新的中心工厂。有关将要建设的新中央工厂的更多详细信息,请参阅“业务-物业-我们在中国的物业”。”截至2021年5月,已部署约90,000美元作为押金,用于租赁新中央工厂的建筑空间。我们希望此次发行的净收益,加上我们现有的现金及现金等价物,将使我们能够完成建设。
前述内容代表了我们根据当前计划和业务状况使用和分配此次发行所得款项净额的当前意图。但是,我们的管理层将具有很大的灵活性和酌处权来运用此次发行的净收益。如果发生不可预见的事件或业务状况发生变化,我们可能会以与本招股说明书中所述不同的方式使用此次发行的收益。如果我们从此次发行中获得的净收益未立即用于上述目的,我们打算将净收益投资于短期,计息的银行存款或债务工具。
45
股息政策
我们打算保留任何未来收益来为业务扩展提供资金,并且我们预计在可预见的将来不会支付任何现金股息。
根据开曼群岛法律,开曼群岛公司可以从利润或股票溢价中支付其股票股息,但在任何情况下,如果股息会导致公司无法偿还其在日常业务过程中到期的债务,则不得支付股息。
如果我们决定将来作为控股公司支付任何A类普通股或B类普通股的股息,我们将取决于从中国关联实体收到的资金。根据《企业所得税法》及其实施细则,新疆和睦家向Jenyd支付的任何股息均应缴纳10%的预扣税率。但是,如果中国有关税务机关确定Jenyd满足双重避税安排和其他适用法律的相关条件和要求,则Jenyd从新疆和睦家收取的股息的10%预扣税可能会降低至5%。请参阅“风险因素-与在中国开展业务有关的风险-根据《企业所得税法》,与我们的中国子公司的预扣税负债有关的不确定性很大,我们的中国子公司应付给我们的离岸子公司的股息可能没有资格享受某些条约利益。”
当前的中国法规仅允许我们的间接中国子公司根据中国会计准则和法规确定的累计利润(如有)向Jenyd支付股息。此外,我们的中国子公司每年必须预留至少10%的税后利润(如有)来为法定准备金提供资金,直到该准备金达到其注册资本的50%为止。中国的每个此类实体还必须进一步拨出其税后利润的一部分来为员工福利基金提供资金,尽管要拨出的金额(如果有)由其董事会决定。虽然法定储备金除其他方式外,可用于增加注册资本和消除超出各公司留存收益的未来损失,但储备金不能作为现金股利分配,除非在清算情况下。此外,如果我们在中国的子公司和关联公司将来自己产生债务,则管理债务的工具可能会限制其支付股息或进行其他付款的能力。如果我们或我们的子公司无法从我们的运营中获得所有收入,则我们可能无法支付A类普通股或B类普通股的股息。
根据现行的中国外汇法规,经常账户项目的支付,包括利润分配,利息支付以及与贸易和服务相关的外汇交易,可以通过遵守某些程序要求,在未经国家外汇管理局事先批准的情况下以外币支付。具体而言,未经国家外汇管理局事先批准,在中国运营产生的现金可用于向我们公司支付股息。
46
大写
下表列出了截至2020年12月31日的资本总额:
| ● | 在实际基础上;和 | |
| ● | 在调整后的基础上,以反映我们在本次发行中以假定的每股A类普通股5.00美元的首次公开发行价格发行和出售A类普通股,这是本招股说明书封面上列出的估计首次公开募股价格范围的中点,已扣除估计的承销折扣和我们应支付的估计发行费用。 |
此外,我们目前有5,940,000股已发行和流通的B类普通股。A类普通股和B类普通股的持有人享有相同的权利,但投票权和转换权除外。对于需要所有股东投票的事项,每位A类普通股持有人将有权每一A类普通股获得一票,而每位B类普通股持有人将有权每一B类普通股获得10票。A类普通股不可转换为任何其他类别的股份。持有人可以选择在发行后随时一对一地将B类普通股转换为A类普通股。B类普通股不作为本次发行的一部分进行转换。
您应结合“管理层对财务状况和经营成果的讨论和分析”以及本招股说明书其他部分中出现的合并财务报表和相关说明阅读此大写表格。
| 2020年12月31日 | ||||||||||||
| 实际 | 作为 调整后 (超过- 分配 选项不 行使)(1) |
作为 调整后 (超过- 分配 选项 行使 全额)(1) |
||||||||||
| $ | $ | $ | ||||||||||
| 现金及现金等价物 | $ | 4,098,546 | $ | 16,948,515 | $ | 19,018,515 | ||||||
| 短期银行贷款 | $ | 2,289,038 | $ | 2,289,038 | $ | 2,289,038 | ||||||
| 长期贷款 | $ | 209,291 | $ | 209,291 | $ | 209,291 | ||||||
| 股东权益: | ||||||||||||
| A类普通股,面值$0.00 1,已授权44,000,000股A类普通股,已发行和发行的3,060,000股A类普通股;假设未行使超额配股权,已发行和发行的6,060,000股A类普通股(经调整),以及已发行和发行的6,510,000股A类普通股,假设超额配股权已全部行使,则进行调整 | 3,060 | 6,060 | 6,510 | |||||||||
| B类普通股,面值$0.00 1,已授权6,000,000股B类普通股,已发行和流通的5,940,000股B类普通股;调整后已发行和流通的5,940,000股B类普通股 | 5,940 | 5,940 | 5,940 | |||||||||
| 普通股与额外实收资本 | 869,400 | 13,716,369 | 15,785,919 | |||||||||
| 法定储备 | 447,231 | 447,231 | 447,231 | |||||||||
| 留存收益 | 597,594 | 597,594 | 597,594 | |||||||||
| 累计其他综合收益 | 316,013 | 316,013 | 316,013 | |||||||||
| 股东权益总额 | 2,239,238 | 15,089,207 | 17,159,207 | |||||||||
| 总资本 | $ | 4,737,567 | $ | 17,587,536 | $ | 19,657,536 | ||||||
| (1) | 反映了以假定的每股5.00美元的首次公开发行价格出售本次发行的A类普通股,并扣除了估计的承销折扣和我们应支付的估计发行费用。作为调整后信息的备考仅是说明性的,我们将根据实际的首次公开募股价格和根据定价确定的本次发行的其他条款对此信息进行调整。额外实收资本反映了在扣除承销折扣和我们应支付的估计发行费用后,我们预期将获得的净收益。我们估计,如果未行使承销商的超额配股权,则所得款项净额约为12,849,969美元,如果完全行使承销商的超额配股权,则为14,919,969美元。 |
假设每股A类普通股的首次公开发行价格为5.00美元,即本招股说明书封面所载首次公开发行价格的估计范围的中点,增加(减少)1.00美元将增加(减少)每个额外实收资本,如果未行使承销商的超额配股权,则股东权益总额和总股本将增加2,760,000美元,如果充分行使承销商的超额配股权,则将增加3,174,000美元,假设我们提供的A类普通股的数量如下:本招股说明书的封面,保持不变,并扣除估计的承销折扣和我们应付的估计费用。
47
稀释
除非另有说明,本招股说明书中的所有股份金额和每股金额均已提出,以1,000比1的比例对普通股进行远期拆分,并于3月27日经股东和董事会批准向现有股东发行额外股份2021年。
如果您投资我们的A类普通股,您购买的每股A类普通股的权益将被稀释至每股A类普通股的首次公开发行价格与本次发行后我们的每股A类普通股有形账面净值之间的差额。稀释是由于每股A类普通股的首次公开发行价格大大超过了我们目前已发行A类普通股的现有股东应占的每股A类普通股有形账面净值。
A类普通股和B类普通股的持有人享有相同的权利,但投票权和转换权除外。对于需要所有股东投票的事项,每位A类普通股持有人将有权每一A类普通股获得一票,而每位B类普通股持有人将有权每一B类普通股获得10票。A类普通股不可转换为任何其他类别的股份。持有人可以选择在发行后随时一对一地将B类普通股转换为A类普通股。B类普通股不作为本次发行的一部分进行转换。
截至2020年12月31日,我们的有形账面净值为1,760,012美元,或每股普通股0.20美元(A类和B类普通股)。有形账面净值代表我们的合并有形资产总额减去我们的合并负债总额。稀释是通过从每股A类普通股的首次公开发行价格中减去每股普通股的有形账面净值(根据发行进行调整)并扣除估计的承销折扣以及我们应支付的估计发行费用来确定的。
在根据假设的每股A类普通股5.00美元的首次公开发行价格出售本次发行的3,000,000股A类普通股后,这是本招股说明书封面所示的首次公开募股价格估计范围的中点,扣除估计的承销折扣和我们应付的估计发行费用后,我们截至12月的调整后有形账面净值2020年3月31日,将为14,609,981美元,或每股流通在外的普通股(A类和B类普通股)1.22美元。这意味着现有股东的每股普通股(A类和B类普通股)有形账面净值立即增加了1.02美元,并立即稀释购买本次发行的A类普通股的投资者的每股A类普通股有形账面净值3.78美元。上面讨论的调整后的信息仅是说明性的。
假设公开发售价格为每股A类普通股5.00美元,变动1.00美元,在增加的情况下,将增加,而在减少的情况下,在发行生效后,我们的备考有形账面净值将减少$2,760,000,此次发行生效后,每股普通股(A类和B类普通股)的备考净有形账面净值为0.23美元假设本招股说明书封面所载我们提供的A类普通股的数量没有变化,则本次发行中每股A类普通股的备考净有形账面净值将稀释0.77美元,并扣除承销折扣和估计的发行费用。上面讨论的备考信息仅是说明性的。此次发行完成后,我们的有形账面净值可能会根据A类普通股的实际首次公开发行价格以及按定价确定的本次发行的其他条款进行调整。
下表说明了这种稀释:
| 否 行使 过度- 分配 选项 |
全额 行使 过度- 分配 选项 |
|||||||
| 假设每股A类普通股的首次公开发行价格 | $ | 5.00 | $ | 5.00 | ||||
| 截至2020年12月31日的每股普通股(A类和B类普通股)有形账面净值 | 0.20 | 0.20 | ||||||
| 新投资者支付的每股普通股(A类和B类普通股)有形账面净值的增加 | 1.02 | 1.14 | ||||||
| 发行后立即每股普通股(A类和B类普通股)的备考净有形账面净值 | 1.22 | 1.34 | ||||||
| 发行中新投资者每股A类普通股有形账面净值的摊薄额 | $ | 3.78 | $ | 3.66 | ||||
48
下表按截至2020年12月31日的调整后备考汇总了现有股东与新投资者之间从我们购买的普通股数量的差异,扣除估计承销折扣之前的已支付总对价和每股普通股的平均价格,以及我们应支付的估计发行费用。
| A级和B级 普通股 购买的 |
总对价 | 平均 每价格 普通 |
||||||||||||||||||
| 未行使超额配股权 | 号码 | 百分比 | 金额 | 百分比 | 分享 | |||||||||||||||
| (以千美元计) | ||||||||||||||||||||
| 现有股东 | 9,000,000 | 75.00 | % | $ | 878 | 5.53 | % | $ | 0.10 | |||||||||||
| 新投资者 | 3,000,000 | 25.00 | % | 15,000 | 94.47 | % | 5.00 | |||||||||||||
| 总计 | 12,000,000 | 100.00 | % | $ | 15,878 | 100.00 | % | $ | 1.32 | |||||||||||
| A级和B级 普通股 购买的 |
总对价 | 平均 每价格 普通 |
||||||||||||||||||
| 超额配股权已全部行使 | 号码 | 百分比 | 金额 | 百分比 | 分享 | |||||||||||||||
| (以千美元计) | ||||||||||||||||||||
| 现有股东 | 9,000,000 | 72.29 | % | $ | 878 | 4.84 | % | $ | 0.10 | |||||||||||
| 新投资者 | 3,450,000 | 27.71 | % | 17,250 | 95.16 | % | 5.00 | |||||||||||||
| 总计 | 12,450,000 | 100.00 | % | $ | 18,128 | 100.00 | % | $ | 1.46 | |||||||||||
如上所述的调整后信息的备考仅是说明性的。此次发行完成后,我们的有形账面净值可能会根据A类普通股的实际首次公开发行价格以及根据定价确定的本次发行的其他条款进行调整。
49
公司历史和结构
我们的公司历史
新疆和睦家根据中国法律成立于2009年8月7日,为有限公司。2015年4月17日,新疆和睦家注册成立了纽约公司Chanson NY的全资子公司,并于2015年12月17日注册成立了纽约有限责任公司Chanson23rd Street的全资子公司。2020年2月20日,我们的董事长李刚先生成立了纽约有限责任公司Chanson Greenwich,随后于2020年9月28日将其在Chanson Greenwich的100%会员权益转让给了Chanson NY,对价为10美元。转让后,香颂格林威治成为香颂纽约的全资子公司。
关于此次发行,我们已通过以下步骤对公司结构进行了重组(“重组”):
| ● | 于2019年7月26日,我们根据开曼群岛法律注册成立了获豁免的有限责任公司Ron Holding Limited。自2020年12月18日起,Ron Holding Limited更名为香颂国际控股; | |
| ● | 2019年8月13日,我们在英属维尔京群岛注册成立了Deen Global,作为香颂国际的全资子公司; | |
| ● | 在2019年9月13日,我们在香港注册成立了Jenyd,作为Deen Global的全资子公司; |
|
| ● | 2020年9月27日,新疆和睦家的原始股东与Jenyd签订了股份转让协议,将新疆和睦家的100%股权转让给Jenyd;和 |
|
| ● | 2021年3月,我们采取了一系列公司行动,包括普通股的远期拆分,创建A类普通股和B类普通股,将普通股重新指定为A类和B类普通股,以及向我们现有股东发行额外的股票。请参阅“股本说明-股票发行历史”。” |
我们的公司结构
我们目前通过以下方式开展业务:
| (i) | 与23家由VIE组成的独立企业组成的协会,被称为“United Family Group”或“UFG”:22家UFG实体由我们的董事长李刚先生独立拥有,其中一家UFG实体由王辉女士独立拥有,新疆和睦家营销总监。我们与UFG的隶属关系是通过新疆和睦家,每个UFG实体与该UFG实体的唯一所有者之间的几项独家协议来管理的。由于我们与所有UFG实体的安排,我们有效地控制了每个UFG实体; |
|
| (ii) | 新疆和睦家及其三个分支机构;和 | |
| (iii) | 香颂23街和香颂格林威治。 |
50
以下是截至本招股说明书发布之日新疆和睦家商店的完整列表,以及其公认的商业名称和与新疆和睦家的关系。
| 实体的法定名称 | 商业名称 | 实体性质 | ||||
| 1 | 乌鲁木齐市米东区George Chanson面包店 | 米东 | UFG的一部分–由李先生拥有100%,并根据该实体与新疆和睦家之间的VIE协议运营 | |||
| 2 | 沙伊巴克区伊宁路George Chanson面包店 | 德辉万达 | 与上述相同 | |||
| 3 | 昌吉George Chanson优豪超市面包店 | 昌吉优豪 | 与上述相同 | |||
| 4 | 昌吉George Chanson面包店 | 昌吉惠佳 | 与上述相同 | |||
| 5 | 天山区新华北路George Chanson面包店 | 洪山 | 与上述相同 | |||
| 6 | 山东平顶沙一烘焙区第二George Chanson烘焙坊 | 中阳君 | 与上述相同 | |||
| 7 | 天山区新民路George Chanson面包店 | 北门 | 与上述相同 | |||
| 8 | 天山区民主路George Chanson面包店 | 闽珠 | 与上述相同 | |||
| 9 | 天山区建泉三号George Chanson面包店 | 日月星光 | 与上述相同 | |||
| 10 | 天山区解放北路George Chanson面包店 | 万延城 | 与上述相同 | |||
| 11 | 乌鲁木齐市经济技术开发区喀什西路乔治香颂面包店。 | 华润万家 | 与上述相同 | |||
| 12 | 新市区荔玉山南路George Chanson面包店 | 医学院 | 与上述相同 | |||
| 13 | 长春市新市区南路George Chanson面包店 | 长春 | 与上述相同 | |||
| 14 | 北京市新市区中路和睦家香颂面包店 | 汇佳三楼 | 与上述相同 | |||
| 15 | 苏州市新时区香颂面包店东路 | 百上 | 与上述相同 | |||
| 16 | 苏州市新市区小溪沟香颂面包店 | 小西沟 | 与上述相同 |
51
| 17 | 新市区南区3号香颂面包店 | 铁路局 | 与上述相同 | |||
| 18 | 乌鲁木齐市经济技术开发区宣武湖路乔治香颂面包店。 | 经济发展万达 | 与上述相同 | |||
| 19 | 沙伊巴克区优浩南路香颂面包店 | 洪山生活方式店 | 与上述相同 | |||
| 20 | 水磨沟区南湖南路George Chanson面包店 | 南湖 | 与上述相同 | |||
| 21 | 河北新市区东路George Chanson面包店 | 河北路华润 | 与上述相同 | |||
| 22 | 乌鲁木齐市头屯河区中亚南路George Chanson面包店。 | 德冈万达 | 与上述相同 | |||
| 23 | 石河子和美家面包店1号 | 石河子 | UFG的一部分–由王辉女士拥有100%,并根据该实体与新疆和睦家之间的协议运营 | |||
| 24 | 新疆和睦家贸易有限公司。天山区香颂面包店 | 天白 | 新疆和睦家的分支机构 | |||
| 25 | 新疆和睦家贸易有限公司。尚森面包店乌鲁木齐分公司 | 文华 | 新疆和睦家的分支机构 | |||
| 26 | 新疆和睦家贸易有限公司。乌鲁木齐美美香颂面包店 | 梅梅 | 新疆和睦家的分支机构 | |||
| 27 | 新疆和睦家贸易有限公司。瑞泰香颂面包店 | 瑞泰 | 由新疆和睦家经营的商店,而不是独立的法人实体 | |||
| 28 | 香颂23街有限责任公司 | 香颂23街 | 新疆和睦家全资间接附属公司 | |||
| 29 | Chanson355Greenwich LLC | 尚森·格林威治 | 与上述相同。我们预计Chanson Greenwich将于2021年夏季开业。 |
为了便于参考,除非有必要对上下文进行区分,否则在本招股说明书中,我们将上述所有实体统称为我们的“商店”,并且在一定程度上,我们指的是上表中列出的特定实体,我们以其商业名称指代该实体。
52
下图说明了重组后以及本次发行完成后(假设未行使超额配股权)基于所发行的3,000,000股A类普通股的公司结构:
注:所有百分比均反映有表决权的所有权权益,而不是我们给出的每个股东持有的股权每位B类普通股持有人将有权每一股B类普通股获得10票,而每位A类普通股持有人将有权每一股A类普通股获得一票。
| (1) | 截至本招股说明书日期,代表Danton Global Limited的100%所有者李刚持有的2,700,000股A类普通股和5,400,000股B类普通股。 |
|
| (2) | 代表截至本招股说明书发布之日,Haily Global Limited100%所有者蔡继红持有的270,000股B类普通股。 | |
| (3) | 代表截至本招股说明书发布之日,C&C Capital Investments LLC的100%所有者Cheng Chen持有的270,000股B类普通股。 | |
| (4) | 代表截至本招股说明书发布之日,由两个法人股东平均持有的总计360,000股A类普通股,每个股东所持股份少于我们有表决权的所有权权益的5%。 |
和睦家集团
UFG的每个实体都是作为个人所有的企业成立的,并通过VIE安排成为新疆和睦家的一部分。截至2020年12月31日和2019年12月31日的财政年度,UFG的收入分别占我们总收入的76%和53%。UFG由23个VIE组成,我们通过这些VIE运营成功的面包店。我们的董事长李刚先生是22个UFG实体的唯一所有者,新疆和睦家的营销总监王辉女士是一个UFG实体的唯一所有者。
我们与UFG的隶属关系是通过新疆和睦家,每个UFG实体与该UFG实体的唯一所有者之间的几项独家协议(也称为“VIE协议”)来管理的。”VIE协议旨在向新疆和睦家提供与其作为每个UFG实体的唯一股权持有人所拥有的所有重大方面同等的权力,权利和义务,包括绝对控制权以及资产,财产的权利,以及每个UFG实体的收入。
以下是新疆和睦家与每个UFG实体签订的一套VIE协议。
53
独家服务协议
根据新疆和睦家与UFG实体的唯一运营商适用的UFG运营商之间的独家服务协议,新疆和睦家应负责UFG实体的运营,控制和管理UFG实体的所有事项和资金的所有方面,并独家享有UFG运营商根据适用法律享有的所有其他责任和权利。对于新疆和睦家根据独家服务协议向UFG实体提供的服务,新疆和睦家有权收取与UFG实体税后净利润相等的服务费。
独家服务协议的期限为10年,除非新疆和睦家提前30天通知提前终止。UFG实体无权单方面终止该协议。该协议将在到期后10年内自动续签,续签时间没有限制。
新疆和睦家对UFG实体的管理拥有绝对权力,包括但不限于有关费用,加薪和奖金,雇用,解雇和其他运营职能的决定。独家服务协议并不禁止关联方交易。此次发行完成后成立审核委员会后,香颂国际的审核委员会将被要求事先审查和批准任何关联方交易,包括涉及UFG实体的交易。
质押协议
根据新疆和睦家与UFG运营商之间的质押协议,UFG运营商将其用于UFG实体业务的所有资产抵押给新疆和睦家,以保证UFG运营商履行独家服务协议项下的义务,认购期权协议和经营权代理协议(统称为“交易协议”)。根据质押协议的条款,如果UFG实体或UFG运营商违反了交易协议项下各自的合同义务,则新疆和睦家作为质押人将有权享有某些权利,包括但不限于,根据适用的中国法律处置抵押资产的权利。UFG运营商进一步同意不处置抵押资产或采取任何损害新疆和睦家利益的行动。
质押协议有效期至以下最晚日期:(1)解除质押范围内的有担保债务;(2)新疆和睦家作为质押人,根据质押协议的规定和条件行使质权;(3)UFG运营商,作为质押人,根据看涨期权协议将全部质押资产转让给新疆和睦家或其指定的其他实体或个人。
质押协议的目的是(1)保证UFG运营商履行独家服务协议下的义务,(2)确保UFG运营商不转让或转让抵押资产,或在未经新疆和睦家事先书面同意的情况下创建或允许任何可能损害新疆和睦家利益的产权负担,以及(3)提供新疆和睦家对UFG实体的控制权。如果UFG实体或UFG运营商违反了交易协议项下的合同义务,新疆和睦家将有权取消UFG运营商在UFG实体中的资产赎回权,并可以(1)行使选择权购买或指定第三方购买UFG运营商在UFG实体中的部分或全部资产,在这种情况下,新疆和睦家可在收购UFG实体的所有资产后终止质押协议和其他VIE协议,或与新疆和睦家指定的任何第三方组成新的VIE结构,或(2)处置抵押资产,并从处置所得款项中优先支付,在这种情况下,现有的VIE结构将终止。
认购期权协议
根据认购期权协议,UFG运营商不可撤销地授予新疆和睦家独家选择权,要求UFG运营商在中国法律允许的范围内随时一次或多次转让,他或她在UFG实体中的部分或全部资产给新疆和睦家(或其指定人)。期权价格是中国法律允许的最低金额。
54
根据认购期权协议,新疆和睦家可在任何情况下随时要求UFG运营商在中国法律允许的范围内酌情将UFG运营商在UFG实体中的全部或部分资产转让给新疆和睦家(或其指定人)。认购期权协议,连同质押协议,独家服务协议以及经营权代理协议和授权书,使新疆和睦家能够对UFG实体行使有效控制。
认购期权协议一直有效,直到UFG实体的所有股权或资产以新疆和睦家和/或其指定的其他实体或个人的名义合法转让为止。
经营权代理协议和授权书
根据《经营权委托书》和《授权委托书》,UFG运营商委托新疆和睦家或其指定的人员担任其代理人,并行使其作为UFG实体唯一运营商的权利,包括但不限于:(a)行使经营权;(b)获得UFG实体的财务信息;(c)就UFG实体的资产处置作出决议;(d)批准UFG实体的年度预算或宣布股息;(e)就解散作出决议或UFG实体的清算,组成清算委员会,并在清算过程中行使权力;(f)向公司注册机构或任何其他相关机构提交任何所需文件;(g)签署任何决议。
只要UFG运营商持有UFG实体的经营权,则《经营权代理协议》和《授权书》应自执行之日起追溯生效,并保持效力。
配偶同意
UFG运营商的配偶经配偶同意同意,执行“交易文件”,包括:(a)与新疆和睦家订立的独家服务协议;(b)与新疆和睦家订立的认购期权协议;(c)与新疆和睦家订立的经营权代理协议;(d)与新疆和睦家订立的质押协议;(e)UFG运营商签发的授权书,以及UFG运营商持有并以其名义注册的UFG实体的经营权或业务资产的处置。
UFG运营商的配偶还承诺不对UFG运营商持有的UFG实体的经营权和资产提出任何主张。UFG运营商的配偶确认,UFG运营商可以履行其在交易文件下的义务,并在未经其授权或同意的情况下进一步修改或终止交易文件。UFG运营商的配偶承诺执行所有必要的文件并采取所有必要的行动以确保适当履行交易文件。
UFG运营商的配偶还承诺,如果他们出于任何原因获得UFG运营商持有的UFG实体的任何经营权和资产,他们应受UFG运营商与新疆和睦家之间订立的交易文件(经不时修订)的约束,并遵守其作为UFG实体运营商的义务。为此,应新疆和睦家的要求,他们应签署一系列书面文件,其格式和内容应与交易文件(不时修订)基本相同。
尽管每个UFG实体都与新疆和睦家有自己的一套协议,但它们与新疆和睦家的协议条款和条件是相同的。由于达成了谅解和协议,我们有效地控制了所有UFG实体。除本协议另有规定外,UFG运营商无权就其对所有UFG实体的所有权获得任何其他补偿。
55
管理层对的讨论和分析
财务状况和经营成果
以下对我们的财务状况和经营成果的讨论和分析应与我们的财务报表以及本招股说明书其他部分中包含的相关说明一起阅读。本讨论包含前瞻性陈述,反映了我们当前的预期,其中涉及风险和不确定性。有关与这些陈述相关的不确定性,风险和假设的讨论,请参见“有关前瞻性陈述的披露”。由于许多因素,包括“风险因素”和本招股说明书其他部分中列出的因素,实际结果和事件发生的时间可能与我们的前瞻性声明中讨论的结果存在重大差异。
除非另有说明,本招股说明书中的所有股份金额和每股金额均已提出,以1,000比1的比例对普通股进行远期拆分,并于3月27日经股东和董事会批准向现有股东发行额外股份2021年。
概述
我们制造和销售各种烘焙产品,季节性产品和饮料产品;我们还在某些商店提供外卖服务。我们目前将业务重点放在中国新疆和纽约市,并计划扩展到中国和美国的其他地区,目标是在未来五年内每年在中国开设三到五家新店,并在美国开设十家新店。我们的目标是通过先进的设施和行业研究来制作健康,营养和即食的食品,并创造一个舒适但可区分的商店环境,使客户可以享受我们的产品。
我们主要通过(i)由新疆和睦家及其VIE经营的27家商店组成的烘焙连锁店,以我们在新疆的“George Chanson”品牌销售产品,以及(ii)通过纽约市的Chanson23街销售产品。我们目前还在翻新空间,以在纽约市开设新店。通过自己的商店进行销售使我们能够更有效地运营整个业务,并对产品质量和品牌介绍进行更大的控制,并更好地管理商店中的客户体验。我们还在数字平台上以及通过第三方在线订餐平台销售产品。我们目前的客户群包括个人和公司客户。为了扩大我们的客户群,我们制定了各种营销和销售策略,例如增加我们在社交媒体平台上的影响力,设计定价和折扣计划以及改善客户的店内体验。
对于我们的中国商店,我们在位于新疆乌鲁木齐的中心工厂生产大多数烘焙产品,在商店内准备饮料产品,并与第三方制造商签订合同生产季节性产品。对于香颂23街,我们烘焙烘焙产品,准备早餐,午餐和全天早午餐,酒吧食品和其他便餐供进餐,并在商店的厨房内制作饮料产品。为了确保产品的质量和安全,我们从知名供应商那里采购原材料,包括面粉,鸡蛋和牛奶,这些供应商在食品行业几十年来一直提供高质量的原材料。此外,我们还实施了涵盖整个运营流程的严格质量控制体系,并要求进行内部培训,以提高员工的食品安全意识和知识。
我们拥有一支敬业且经验丰富的产品开发团队,不断创造出能反映市场趋势并能满足客户需求的新产品。
截至2021年5月,我们在中国商店出售的烘焙产品和季节性产品超过590种,其中包括自2020年以来推向市场的28种新产品,以及香颂23街(Chanson23rd Street)出售的83种外卖菜单项和烘焙产品,包括自2020年以来推向市场的28种新产品。我们还在中国商店和香颂23街提供大量饮料产品,并根据季节和不断变化的客户需求更新饮料菜单。通过不断提供新产品并完善我们的产品配方以增强现有产品,我们相信我们能够稳定地吸引新客户,并增加现有客户访问我们的商店,数字平台和第三方商店页面的频率。第三方平台。
截至2020年12月31日和2019年12月31日的财政年度,我们的总收入分别为10,313,512美元和12,577,135美元,净亏损164,029美元和净收入945,468美元。在该财政年度,我们的中国商店分别占我们总收入的87.0%和81.1%,香颂23街分别占13.0%和18.9%。
56
我们的中国商店主要通过销售烘焙产品,季节性产品和饮料产品来产生收入。截至2020年12月31日和2019年12月31日的财政年度,烘焙产品的销售收入分别占我们中国商店收入的91.8%和90.7%,季节性产品的销售收入分别占6.6%和6.9%,饮料产品的销售收入分别占1.6%和2.4%。
香颂23街主要通过提供外卖服务以及烘焙产品和饮料产品的销售来产生收入。截至2020年12月31日和2019年12月31日的财政年度,提供外卖服务的收入分别占香颂23街收入的37.9%和45.5%,烘焙产品的销售收入分别占44.6%和40.3%,饮料产品的销售收入分别占17.5%和14.2%。
影响我们经营成果的关键因素
我们认为以下关键因素可能会影响我们的财务状况和经营成果:
我们的业务受到消费者偏好和可支配支出变化的影响。
我们的成功部分取决于我们烘焙产品的受欢迎程度以及我们开发吸引消费者的新烘焙产品的能力。消费者偏好从我们的面包店或我们的产品系列和组合中转移,我们无法开发吸引消费者的新产品可能会损害我们的业务。我们的成功在很大程度上取决于我们客户的持续信念,即使用优质成分制成的食品,包括不含抗生素的精选蛋白质,我们的手工面包,蛋糕,糕点和其他不含人工防腐剂,香料,甜味剂的烘焙食品,或人工来源的颜色值得在我们的面包店收取的价格相对于某些竞争对手提供的较低价格。我们无法成功地对客户进行有关烘焙产品质量的教育,或者客户拒绝我们的定价方法,可能会导致对我们产品的需求减少,或者要求我们更改定价,营销或促销策略,这可能会对我们的合并财务业绩或我们创建的品牌形象产生重大不利影响。此外,我们的成功在很大程度上取决于可自由支配的消费者支出,这受到总体经济状况和可自由支配收入的影响。因此,在经济低迷或不确定时期,我们可能会遇到销售额下降的情况。可自由支配支出金额的任何重大下降都可能对我们的销售,经营成果,业务和财务状况造成重大不利影响。
如果我们的可比商店销售额低于预期,我们的收入和增长可能会受到不利影响。
我们的成功取决于增加可比的商店销售额。为了增加销售和利润,从而增加可比的商店销售增长,我们必须专注于通过加强机会主义采购,优化库存管理,保持强大的商店条件以及有效营销当前产品和新产品来实现价值并激发客户的热情。我们可能无法维持或改善我们过去经历的可比商店销售水平,可比商店销售增长是我们盈利能力和整体业务业绩的重要驱动力。此外,竞争对手的竞争和价格压力也可能对我们的营业利润率产生重大不利影响。由于许多原因,我们的可比商店销售增长可能低于历史平均水平或未来目标,包括总体经济状况,经营业绩,价格上涨或通货紧缩,商店附近新的有竞争力的进入者,针对竞争因素的价格变化,新商店进入可比商店群的影响,可能的供应短缺或其他运营中断,我们商店中客户交易的数量和美元金额,以及我们提供产品或服务以产生对我们商店的新访问和重复访问的能力。在我们已建立的市场中开设新店可能会导致无意中的过度饱和,暂时或永久地将客户和销售从我们现有的商店转移到新店,并减少可比的商店销售,从而对我们的整体财务业绩产生不利影响。这些因素可能导致我们的可比商店销售业绩大大低于最近一段时间,这可能会损害我们的盈利能力和业务。我们平均商店销售额的变化或我们无法增加平均商店销售额可能导致我们的经营业绩与预期产生不利差异,这可能会对我们的经营成果产生不利影响。
57
包括乳制品在内的各种食品和供应成本的波动可能会对我们的经营业绩产生不利影响。
用于准备我们的烘焙产品的各种配料材料(包括面粉,牛奶,糖和鸡蛋)的供应和价格可能会受到多种因素的影响,例如天气,季节性波动,需求,政治和经济因素,并且这种价格可能会波动。烘焙产品中使用的任何成分的价格上涨可能会导致供应商的成本增加,并且我们可能无法提高价格以弥补成本增加,这将对我们的经营业绩和盈利能力产生不利影响。
我们的商店主要集中在新疆和纽约市,这使我们面临因我们无法控制的事件或影响该地区的状况而导致收入损失的风险增加。
目前,我们在新疆独家经营27家面包店。此外,我们目前在美国的业务仅限于纽约市。结果,我们尤其容易受到这些领域的不利趋势,恶劣天气,竞争和经济状况的影响。任何对这些领域产生负面影响的不可预见的事件或情况都可能对我们的销售和盈利能力产生重大不利影响。这些因素包括流行病,人口统计,人口和员工基础的变化,工资增长,经济状况的变化,恶劣的天气条件和气候变化。此类状况可能会导致我们商店的客流量和支出减少,商店的实际损坏,库存损失,一家或多家商店的关闭,市场劳动力不足,产品供应暂时中断,延迟向我们的商店交付商品,增加了费用,并减少了商店中产品的可用性。任何这些因素都可能破坏我们的业务,并对我们的财务状况和经营成果造成重大不利影响
如果我们无法成功竞争,我们的财务状况和经营成果可能会受到损害。
我们开展业务的行业竞争激烈。我们的面包店与知名的国家,地区和地方拥有的传统面包店,咖啡馆以及其他提供面包产品的公司竞争。此外,我们还与某些快速服务餐厅,特色食品店,超市和便利店竞争。我们竞争的主要因素是口味,质量,所提供产品的价格,客户服务,气氛,位置,便利性和整体客户体验。我们还在理想的位置竞争零售空间。许多竞争对手或潜在竞争对手拥有更大的财务和其他资源,这可能使他们能够更快地对价格,营销和消费者其他不断变化的口味的变化做出反应。如果我们无法持续有效竞争或出现竞争压力,则这种竞争能力或竞争压力可能会对我们的业务,经营成果和财务状况造成重大不利影响。
主要财务业绩指标
我们在评估业务绩效时会考虑各种财务和运营措施。我们使用的关键财务绩效指标是收入,可比商店销售额,毛利和毛利率,销售,一般和管理费用(“SG&A费用”)以及营业收入。
收入
我们的收入主要来自以“George Chanson”,“Patisserie Chanson”和“Chanson”品牌销售的面包店和其他产品。在COVID-19爆发之前,我们经历了稳定的增长,这是由于我们专注于支持畅销产品和推出新产品。我们的收入会定期受到促销效率以及销售和促销激励措施的引入和中止的影响。我们收入的增长主要是由我们在现有和新市场中的门店基础的扩展以及可比的门店销售增长所驱动,如下文“可比的门店销售”所述。”收入受到竞争,当前经济状况,价格,通货膨胀,产品组合和可用性,促销以及客户消费习惯的影响。我们跨多个产品类别的产品通过吸引新客户和鼓励现有客户的重复访问来支持收入的增长。
58
可比商店销售额
可比商店销售额是指本报告期内商店的业绩与上一年度同期同一商店的业绩的比较。可比商店销售对我们来说是重要的分析点,因为可比商店销售可以帮助我们做出有关现有商店和新地点的未来决策。可比的商店销售受到影响收入的相同因素的影响。我们经常深入研究可比的商店销售数字,以确定收入变化的确切原因。我们还使用可比的商店销售额来评估当前和可能的未来表现,并作为收入增长的指标来评估与新商店相比,已建立的商店在一段时间内的表现如何。
为了简单起见,我们的可比商店销售仅在商店经营了整整两年后才包括来自商店的收入,这是我们认为可以实现可比性的时候。我们的可比商店定义包括已在其现有位置或各自地理区域进行了改建,扩展或搬迁的商店,但不包括已关闭较长时间或计划关闭或处置的商店。可比的商店销售数字以百分比表示,表示相对收入增加或减少的金额,不包括外币换算的影响。
开设新店是我们增长战略的主要组成部分,随着我们继续执行增长战略,我们预计收入增长的很大一部分将归因于新店收入。因此,可比的商店销售额是我们用来评估增长战略成功与否的指标之一。
毛利和毛利率
毛利是指收入和收益成本之间的差额。我们的收益成本包括人工成本,用于准备我们的烘焙产品的配料成本,由于废弃的烘焙产品而导致的库存冲销,包装成本,运费,公用事业成本,制造空间的租金支出,生产设备的折旧以及其他间接费用。配料成本占我们收益成本的最大部分。我们各种成分的供应和价格可能会受到多种因素的影响,例如天气,季节性波动,需求,政治环境和经济状况。烘焙产品中使用的任何成分的价格上涨可能会导致供应商的成本增加,并且我们可能无法提高价格以弥补成本的增加,这将对我们的经营业绩和盈利能力产生不利影响。为了谈判更优惠的配料价格,我们已经并将继续直接参与从合格供应商那里采购配料,并尝试通过不可取消的购买承诺将配料价格锁定通常六到12个月,当我们期望价格上涨。在过去的几年中,我们投入了大量时间和精力来实现供应链中的成本降低和生产率提高。我们专注于通过增加批量购买,直接购买和价格谈判来降低成分和包装成本,以及加强从原材料到制成品的库存管理,以减少变质和浪费。另一方面,劳动力是运营我们业务成本的主要组成部分。由于竞争,最低工资或员工福利成本增加或其他原因而导致的人工成本增加,将对我们的运营费用产生不利影响。此外,我们的成功取决于我们吸引,激励和留住合格员工(包括商店经理和员工)以跟上我们的增长战略的能力。
毛利率是毛利除以收入。毛利率是管理层用来表明我们是否以适当的毛利销售产品的指标。我们的毛利率受到我们的产品组合和可用性的影响,因为某些产品提供了更高的毛利率,并且受到我们的商品成本的影响,这可能会有所不同。毛利率也受到我们产品价格的影响。我们通常每年或每半年评估一次产品的盈利能力。我们考虑了许多因素,如收益成本波动和有竞争力的定价策略。从历史上看,我们一直能够用类似的新产品替换利润较低的产品,并改进我们的产品配方,以更高的价格增强现有产品,以覆盖更高的成分成本。此外,我们拥有一支敬业且经验丰富的产品开发团队,不断创造出反映市场趋势并对客户具有吸引力的全新产品。
SG&A费用
我们的SG&A费用包括与商店相关的费用和公司费用。与商店相关的费用包括支付给销售人员的工资和员工福利费用以及销售佣金,商店租金,占用和维护成本,开设新商店的成本以及营销和广告费用。公司费用包括公司和外勤支助的薪金和福利,法律,专业和其他咨询费,差旅费以及其他与设施相关的费用,例如租金和折旧。
SG&A费用通常会随着我们扩大商店基础并投资于公司基础设施而增加。过去几年,我们在人才保留和店面升级方面进行了大量投资,导致SG&A费用增加。随着我们投资开设新店,推出新产品,提高品牌知名度,吸引新客户并增加市场渗透率,我们的SG&A费用预计将来会继续增加。为了支持我们的增长,我们将继续增加员工人数,特别是在销售与市场营销部门。员工人数的增加将推动薪资和员工相关费用的增加。我们还将继续投资于产品创新和燃料销售增长。我们预计SG&A费用将继续以绝对美元增加,因为我们会招致与业务增长和上市公司运营相关的成本增加。
59
营业收入
营业收入是毛利与SG&A费用,折旧和摊销之间的差额。营业收入不包括利息支出、其他收入(支出)和所得税支出。我们使用营业收入作为我们业务生产力和管理费用能力的指标。
可比商店销售额
多种因素影响我们的可比商店销售,其中包括消费者趋势,竞争,当前经济状况,价格,通货膨胀,产品结构变化,营销计划的成功以及COVID-19爆发。截至2020年12月31日止年度,我们在中国的可比商店销售额(不包括外币换算的影响)下降了24.1%,在美国的可比商店销售额下降了43.6%。减少的原因是COVID-19爆发,如下所述。
影响我们经营成果的COVID-19
2020年,COVID-19疫情在全球范围内蔓延,尤其是在中国和美国。疫情导致政府采取了重要措施,包括封锁,关闭,隔离和旅行禁令,旨在控制病毒的传播。在2020年1月下旬至3月上旬关闭商店之后,由于新疆COVID-19病例再次出现,我们所有的中国商店于2020年7月17日再次关闭。中国商店于2020年9月恢复正常活动。由于商店关闭,中国商店在关闭期间未产生任何收入,估计收入损失约为人民币1,200万元(约合170万美元)。尽管我们的中国商店于2020年9月恢复了正常活动,但由于加强了安全控制,位于购物中心,学区和其他商业区的商店的业务仍受到客流量减少的影响。在美国,纽约市香颂23街仅在2020年2月底至2020年6月底之间提供送货和取货服务,并于2020年6月底恢复了户外餐饮服务,并于2020年9月底恢复了室内餐饮服务。2020。根据纽约州州长发布的室内餐饮禁令,香颂23街在2020年12月14日至2021年2月11日期间再次暂停了室内餐饮服务。香颂23街于2021年2月12日恢复室内餐饮服务,容量为25%,到2021年2月26日增加到35%,到2021年3月19日和2021年5月7日分别增加到50%和75%。从2021年5月19日开始,香颂23街已被允许全力提供室内餐饮服务,但前提是就餐者必须至少相距六英尺,或者桌子被物理障碍隔开。此外,Chanson Greenwich的翻新工程被推迟,我们目前预计该店将于2021年夏季开业。因此,COVID-19爆发对我们2020年的业务运营和经营业绩产生了不利影响。请参阅“—经营成果。”在2021年1月至2021年4月的四个月中,由于COVID-19首次开始影响我们在中国的运营,我们在中国产生的收入与2020年同期相比增加了约160万美元,即59.5%2020年1月,与2020年同期相比,我们在美国产生的收入减少了约20万美元,即31.8%,因为COVID-19爆发于2020年2月底首次开始影响我们的美国业务。总体而言,与2020年同期相比,在2021年1月至2021年4月的四个月中,我们的总收入增加了约140万美元或42.9%。
60
截至本招股说明书发布之日,中国的COVID-19疫情似乎已得到相对控制。但是,美国的COVID-19爆发将取决于爆发的未来发展,包括有关爆发的全球严重性和为遏制爆发而采取的行动的新信息,这些信息是高度不确定和不可预测的。因此,尽管我们预计COVID-19爆发将继续对我们的业务,经营成果和财务状况造成负面影响,但目前尚无法合理估计相关的财务影响。
在商店关闭期间,我们向所有员工支付了基本工资,以满足他们的基本生活支出需求。重新开放后,我们在整个商店采取了各种预防和检疫措施,包括按照政府要求进行定期核酸测试,每天监控员工的健康状况以及向所有员工分发口罩。我们还限制了商店中的客流,访问我们商店的客户需要测量温度并佩戴口罩。在美国,我们在纽约市开设了商店,并提供外卖和送货服务。为了履行我们的社会责任,我们向所有医院工作人员提供了产品特别折扣,并向所有一线工作人员,司机和送货员提供了免费糕点,以表示我们对他们在大流行期间为社会做出的贡献的感谢。
在COVID-19大流行期间,我们已采取行动来保持流动性。2020年5月11日,我们与华夏银行签订了贷款协议,华夏银行向我们提供了1500万元人民币(约合230万美元)的资金,至2021年5月,优惠固定利率为4.98%。贷款随后在到期时全额偿还。我们希望,根据过去的经验和我们良好的信用记录,我们将能够在该银行贷款到期后续签该贷款。2020年4月29日,我们的子公司香颂23街(Chanson23rd Street)根据美国小企业管理局(“SBA”)薪资保护计划(“PPP”)从国泰银行获得了总计209,291美元的贷款,这是冠状病毒援助的一部分,救济和经济安全法(以下简称“CARES法”),于2020年3月27日颁布。根据SBA PPP贷款的条款,如果满足某些条件,并且贷款收益用于符合条件的费用,例如工资成本,福利,租金和公用事业,则最高可免除本金和应计利息的100%。CARES法案。贷款按1%的利率计息,未获豁免的本金和应计利息的任何部分必须在2022年4月29日之前偿还。我们于2021年2月底提出了免除贷款本金和利息的申请,该申请已于2021年5月获得银行和SBA的批准。此外,我们还加大了收集应收账款的力度。截至本招股说明书发布之日,已收到截至2020年12月31日我们应收账款余额的约75%(54万美元)。剩余余额预计将在2021年12月31日之前收取。截至2021年4月30日,我们的营运资金为负约240万美元,其中包括约520万美元的递延收入(已报告为流动负债),但将来不需要现金支付。我们相信,我们现有的现金及现金等价物、营运现金流和可用的银行融资将足以满足我们未来12个月的营运资金需求。
经营成果
下表总结了我们分别截至2020年12月31日和2019年12月31日止年度的运营结果,并提供了有关这些年度的美元和百分比增减的信息。
| 在结束的年度 12月31日, |
方差 | |||||||||||||||
| 2020 | 2019 | 金额 | % | |||||||||||||
| 收入 | $ | 10,313,512 | $ | 12,577,135 | $ | (2,263,623 | ) | (18.0 | )% | |||||||
| 收益成本 | 5,164,178 | 5,903,456 | (739,278 | ) | (12.5 | )% | ||||||||||
| 毛利 | 5,149,334 | 6,673,679 | (1,524,345 | ) | (22.8 | )% | ||||||||||
| 营业费用 | ||||||||||||||||
| 销售费用 | 2,947,088 | 3,152,341 | (205,253 | ) | (6.5 | )% | ||||||||||
| 一般和行政开支 | 2,230,893 | 2,454,375 | (223,482 | ) | (9.1 | )% | ||||||||||
| 总营业费用 | 5,177,981 | 5,606,716 | (428,735 | ) | (7.6 | )% | ||||||||||
| 经营收入(亏损) | (28,647 | ) | 1,066,963 | (1,095,610 | ) | (102.7 | )% | |||||||||
| 其他收入(支出) | ||||||||||||||||
| 利息支出净额 | (108,852 | ) | (148,902 | ) | 40,050 | (26.9 | )% | |||||||||
| 其他收入(支出)净额 | (11,946 | ) | 87,093 | (99,039 | ) | (113.7 | )% | |||||||||
| 其他费用合计,净额 | (120,798 | ) | (61,809 | ) | (58,989 | ) | 95.4 | % | ||||||||
| 所得税拨备前的收入(亏损) | (149,445 | ) | 1,005,154 | (1,154,599 | ) | (114.9 | )% | |||||||||
| 所得税拨备 | 14,584 | 59,686 | (45,102 | ) | (75.6 | )% | ||||||||||
| 净收入(亏损) | $ | (164,029 | ) | $ | 945,468 | $ | (1,109,497 | ) | (117.3 | )% | ||||||
61
收入
我们的收入主要来自烘焙产品和在中国和美国销售的其他产品。在我们的中国商店中,烘焙产品包括包装的烘焙产品(蛋糕,面包和零食),生日蛋糕和店内糕点,以及其他产品包括季节性产品(月饼和饺子)和饮料产品。在香颂23街,烘焙产品包括蛋糕,面包,糖果,生日蛋糕和糕点,其他产品包括外食菜单项目(三明治,沙拉,烤面包,牛角面包,汤和甜点)和饮料产品。
我们的总收入从截至2019年12月31日止年度的12,577,135美元减少2,263,623美元或18.0%至截至2020年12月31日止年度的10,313,512美元。我们收入的减少是由于来自中国和美国的收入减少,如下文更详细地讨论。
下表分别列出了我们截至2020年12月31日和2019年12月31日止年度的收入明细:
| 截至12月31日止年度, | 方差 | |||||||||||||||||||||||
| 2020 | % | 2019 | % | 金额 | % | |||||||||||||||||||
| 中国 | ||||||||||||||||||||||||
| 烘焙产品 | $ | 8,245,355 | 79.9 | % | $ | 9,260,071 | 73.6 | % | $ | (1,014,716 | ) | (11.0 | )% | |||||||||||
| 其他产品 | 728,388 | 7.1 | % | 943,004 | 7.5 | % | (214,616 | ) | (22.8 | )% | ||||||||||||||
| 小计:来自中国的收入 | 8,973,743 | 87.0 | % | 10,203,075 | 81.1 | % | (1,229,332 | ) | (12.0 | )% | ||||||||||||||
| 美国 | ||||||||||||||||||||||||
| 烘焙产品 | 597,072 | 5.8 | % | 957,797 | 7.6 | % | (360,725 | ) | (37.7 | )% | ||||||||||||||
| 其他产品 | 742,697 | 7.2 | % | 1,416,263 | 11.3 | % | (673,566 | ) | (47.6 | )% | ||||||||||||||
| 小计:来自美国的收入 | 1,339,769 | 13.0 | % | 2,374,060 | 18.9 | % | (1,034,291 | ) | (43.6 | )% | ||||||||||||||
| 总收入 | $ | 10,313,512 | 100.0 | % | $ | 12,577,135 | 100.0 | % | $ | (2,263,623 | ) | (18.0 | )% | |||||||||||
中国
截至2020年12月31日和2019年12月31日止年度,我们的中国门店分别占我们总收入的87.0%和81.1%。来自中国的收入从截至2019年12月31日止年度的10,203,075美元减少1,229,332美元或12.0%至截至2020年12月31日止年度的8,973,743美元。我们的收入减少是由于烘焙产品和其他产品的收入减少,如下所述。
烘焙产品的收入从截至2019年12月31日止年度的9,260,071美元减少1,014,716美元或11.0%至截至2020年12月31日止年度的8,245,355美元。减少的主要原因是,由于2020年1月下旬至3月上旬以及2020年7月17日至2020年9月期间的商店关闭,烘焙产品的可比商店销售额减少了23.1%,以及截至2020年12月31日的年度剩余时间内由于COVID-19爆发而减少的服务。截至2020年12月31日止年度,新开设的中国商店的收入增加了约100万美元,部分抵消了该减少额。
其他产品的收入从截至2019年12月31日止年度的943,004美元减少214,616美元或22.8%至截至2020年12月31日止年度的728,388美元。减少是由于截至2020年12月31日止年度季节性产品和饮料产品的收入减少,这是由于商店关闭以及截至2020年12月31日止年度COVID-19爆发导致服务减少所致。
美国
来自美国的收入从截至2019年12月31日止年度的2,374,060美元减少1,034,291美元或43.6%至截至2020年12月31日止年度的1,339,769美元。减少的原因是烘焙产品和其他产品的收入减少,如下所述。
烘焙产品的收入从截至2019年12月31日止年度的957,797美元减少360,725美元或37.7%至截至2020年12月31日止年度的597,072美元。由于COVID-19爆发,纽约市香颂23街仅在2020年2月底至2020年6月底之间提供送货和取货服务,并于2020年6月底恢复了户外餐饮服务,并于2020年9月底恢复了室内餐饮服务。根据纽约州州长发布的室内餐饮禁令,室内餐饮服务于2020年12月14日再次暂停。因此,与2019年相比,截至2020年12月31日止年度,烘焙产品的收入减少。
其他产品的收入从截至2019年12月31日止年度的1,416,263美元减少673,566美元或47.6%至截至2020年12月31日止年度的742,697美元。其他产品的收入减少是由于餐饮服务和饮料产品的收入减少。餐饮服务收入从截至2019年12月31日止年度的1,078,975美元减少570,214美元或52.8%至截至2020年12月31日止年度的508,761美元。饮料产品的收入从截至2019年12月31日止年度的337,288美元减少103,352美元或30.6%至截至2020年12月31日止年度的233,936美元。随着我们的业务因COVID-19爆发而中断,其他产品的收入大幅减少。
62
收益成本
我们的收益成本包括食品配料成本,包装成本,与员工相关的成本,间接成本(例如商店租金和食品生产和加工的公用事业),折旧和摊销。我们的整体收益成本从截至2019年12月31日止年度的5,903,456美元减少739,278美元或12.5%至截至2020年12月31日止年度的5,164,178美元。减少的原因是来自美国和中国的收益成本均有所减少,如下所述。
下表分别列出了我们截至2020年12月31日和2019年12月31日止年度的收益成本明细:
| 截至12月31日止年度, | 方差 | |||||||||||||||||||||||
| 2020 | % | 2019 | % | 金额 | % | |||||||||||||||||||
| 中国 | ||||||||||||||||||||||||
| 烘焙产品 | $ | 4,147,151 | 80.3 | % | $ | 4,330,824 | 73.4 | % | $ | (183,673 | ) | (4.2 | )% | |||||||||||
| 其他产品 | 263,137 | 5.1 | % | 368,509 | 6.2 | % | (105,372 | ) | (28.6 | )% | ||||||||||||||
| 小计:来自中国的收益成本 | 4,410,288 | 85.4 | % | 4,699,333 | 79.6 | % | (289,045 | ) | (6.2 | )% | ||||||||||||||
| 美国 | ||||||||||||||||||||||||
| 烘焙产品 | 324,636 | 6.3 | % | 444,813 | 7.5 | % | (120,177 | ) | (27.0 | )% | ||||||||||||||
| 其他产品 | 429,254 | 8.3 | % | 759,310 | 12.9 | % | (330,056 | ) | (43.5 | )% | ||||||||||||||
| 小计:来自美国的收益成本 | 753,890 | 14.6 | % | 1,204,123 | 20.4 | % | (450,233 | ) | (37.4 | )% | ||||||||||||||
| 收益成本共计 | $ | 5,164,178 | 100.0 | % | $ | 5,903,456 | 100.0 | % | $ | (739,278 | ) | (12.5 | )% | |||||||||||
中国
来自中国的收益成本从截至2019年12月31日止年度的4,699,333美元减少289,045美元或6.2%至截至2020年12月31日止年度的4,410,288美元。减少的原因是烘焙产品和其他产品的收益成本下降,如下文所述。
烘焙产品销售的收益成本从截至2019年12月31日止年度的4,330,824美元减少183,673美元或4.2%至截至2020年12月31日止年度的4,147,151美元。同期收益成本的下降百分比小于收入的下降百分比,这主要是由于2020年1月下旬至3月上旬以及2020年7月17日至2020年9月之间的商店关闭导致库存损耗增加,由于我们的一些新鲜成分或储存寿命较短的成分在商店关闭期间变质或过期。
其他产品的收益成本从截至2019年12月31日止年度的368,509美元减少105,372美元或28.6%至截至2020年12月31日止年度的263,137美元。季节性产品的收益成本从截至2019年12月31日止年度的262,677美元减少64,942美元或24.7%至截至2020年12月31日止年度的197,735美元,饮料产品的收益成本减少40,430美元或38.2%,从截至2019年12月31日止年度的105,832美元增至截至2020年12月31日止年度的65,402美元。来自其他产品的收益成本的整体减少主要与我们中国商店中其他产品的收入减少一致。
美国
来自美国的收益成本从截至2019年12月31日止年度的1,204,123美元减少450,233美元或37.4%至截至2020年12月31日止年度的753,890美元。减少的原因是烘焙产品和其他产品的收益成本减少,如下文所述。
烘焙产品销售的收益成本从截至2019年12月31日止年度的444,813美元减少120,177美元或27.0%至截至2020年12月31日止年度的324,636美元。收益成本的下降百分比小于同期收入的下降百分比,这主要是由于我们向客户提供了更多折扣和库存损耗,如下文“—毛利和毛利率”中更详细地讨论的那样。
其他产品销售的收益成本从截至2019年12月31日止年度的759,310美元减少330,056美元或43.5%至截至2020年12月31日止年度的429,254美元。减少的主要原因是外卖服务的收益成本从截至2019年12月31日止年度的544,833美元减少244,806美元或44.9%至截至2020年12月31日止年度的300,027美元。减少的另一个原因是饮料产品销售的收益成本从截至2019年12月31日止年度的214,477美元减少85,250美元或39.7%至截至2020年12月31日止年度的129,227美元。其他产品收益成本的整体跌幅与香颂二十三街其他产品收益的跌幅相若。
63
毛利和毛利率
我们的毛利从截至2019年12月31日止年度的6,673,679美元减少1,524,345美元或22.8%至截至2020年12月31日止年度的5,149,334美元。减少的主要原因是收入整体减少。我们的毛利率从截至2019年12月31日止年度的53.1%下降3.2个百分点至截至2020年12月31日止年度的49.9%。
下表分别列出了我们截至2020年12月31日和2019年12月31日止年度的毛利明细:
| 截至12月31日止年度, | 方差 | |||||||||||||||||||||||
| 2020 | 保证金百分比 | 2019 | 保证金百分比 | 金额 | % | |||||||||||||||||||
| 中国 | ||||||||||||||||||||||||
| 烘焙产品 | $ | 4,098,204 | 49.7 | % | $ | 4,929,247 | 53.2 | % | $ | (831,043 | ) | (16.9 | )% | |||||||||||
| 其他产品 | 465,251 | 63.9 | % | 574,495 | 60.9 | % | (109,244 | ) | (19.0 | )% | ||||||||||||||
| 小计:来自中国的毛利率和利润率% | 4,563,455 | 50.9 | % | 5,503,742 | 53.9 | % | (940,287 | ) | (17.1 | )% | ||||||||||||||
| 美国 | ||||||||||||||||||||||||
| 烘焙产品 | 272,436 | 45.6 | % | 512,984 | 53.6 | % | (240,548 | ) | (46.9 | )% | ||||||||||||||
| 其他产品 | 313,443 | 42.2 | % | 656,953 | 46.4 | % | (343,510 | ) | (52.3 | )% | ||||||||||||||
| 小计:来自美国的毛利率和利润率% | 585,879 | 43.7 | % | 1,169,937 | 49.3 | % | (584,058 | ) | (49.9 | )% | ||||||||||||||
| 总毛利率和利润率% | $ | 5,149,334 | 49.9 | % | $ | 6,673,679 | 53.1 | % | $ | (1,524,345 | ) | (22.8 | )% | |||||||||||
中国
来自中国的毛利从截至2019年12月31日止年度的5,503,742美元减少940,287美元或17.1%至截至2020年12月31日止年度的4,563,455美元。减少的主要原因是销售额整体下降。毛利率从截至2019年12月31日止年度的53.9%下降3.0个百分点至截至2020年12月31日止年度的50.9%。
烘焙产品的毛利从截至2019年12月31日止年度的4,929,247美元减少831,043美元或16.9%至截至2020年12月31日止年度的4,098,204美元,烘焙产品的毛利率从截至12月31日止年度的53.2%下降了3.5个百分点,截至2020年12月31日止年度的2019年至49.7%。减少的主要原因是如上所述,商店关闭导致库存损耗增加。
其他产品的毛利从截至2019年12月31日止年度的574,495美元减少109,244美元或19.0%至截至2020年12月31日止年度的465,251美元,这与其他产品的收入减少一致。毛利率从截至2019年12月31日止年度的60.9%增加3.0个百分点至截至2020年12月31日止年度的63.9%。毛利率的增加主要是由于季节性产品的毛利率从截至2019年12月31日止年度的62.6%增加3.8个百分点至截至2020年12月31日止年度的66.4%。为了提高季节性产品的盈利能力,我们改变了业务策略,在截至2020年12月31日的年度中销售了更多具有更高毛利的高端季节性产品,从而提高了季节性产品的毛利率。同时,饮料产品的毛利率从截至2019年12月31日止年度的56.2%下降3.0个百分点至截至2020年12月31日止年度的53.2%。减少的主要原因是如上所述,商店关闭导致库存损耗增加。
64
美国
来自美国的毛利从截至2019年12月31日止年度的1,169,937美元减少584,058美元或49.9%至截至2020年12月31日止年度的585,879美元。减少的主要原因是收入整体减少。毛利率从截至2019年12月31日止年度的49.3%下降3.4个百分点至截至2020年12月31日止年度的43.7%。
烘焙产品的毛利从截至2019年12月31日止年度的512,984美元减少240,548美元或46.9%至截至2020年12月31日止年度的272,436美元,烘焙产品的毛利率从截至12月31日止年度的53.6%下降了8.0个百分点,截至2020年12月31日止年度的2019年至45.6%。在COVID-19爆发期间,我们没有关闭香颂23街。为了吸引更多的客户,我们为客户订单提供一定数量的折扣,我们还为所有医院工作人员提供产品特别折扣,并为所有一线工作人员和司机提供免费糕点,和快递人员,以表示我们对他们在大流行期间为社会做出的贡献的赞赏。同时,由于在COVID-19爆发期间很难估计客户对我们产品的需求,因此我们产生了更高的库存损耗,这导致原材料和烘焙产品因储存寿命短而变质。因此,与2019年同期相比,我们截至2020年12月31日止年度的毛利率下降。
其他产品的毛利从截至2019年12月31日止年度的656,953美元减少343,510美元或52.3%至截至2020年12月31日止年度的313,443美元,其他产品的毛利率从46.4%下降了4.2个百分点截至12月31日止年度,截至2020年12月31日止年度的2019年至42.2%。更具体地说,外卖服务的毛利从截至2019年12月31日止年度的534,142美元减少325,408美元或60.9%,至截至2020年12月31日止年度的208,734美元,餐饮服务的毛利率从截至2019年12月31日止年度的49.5%下降8.5个百分点至截至2020年12月31日止年度的41.0%。减少的主要原因是如上所述,截至2020年12月31日止年度,我们提供了折扣和库存损耗。饮料产品的毛利从截至2019年12月31日止年度的122,811美元减少18,102美元或14.7%至截至2020年12月31日止年度的104,709美元,饮料产品的毛利率从36.4%增加了8.4个百分点截至12月31日止年度,截至2020年12月31日止年度的2019年至44.8%。在2020年2月开设鸡尾酒吧之后,我们推出了毛利率相对较高的Serval新型鸡尾酒和无酒精饮料产品,尤其是在大流行期间深受客户欢迎的瓶装鸡尾酒。同时,我们改善了酒类产品的库存管理,作为回报,截至2020年12月31日止年度的浪费减少了。因此,与2019年相比,截至2020年12月31日止年度的饮料产品毛利率有所上升。
营业费用
下表列出了我们截至2020年12月31日和2019年12月31日止年度的运营费用明细。
| 截至12月31日止年度, | ||||||||||||||||||||||||
| 2020 | 2019 | 方差 | ||||||||||||||||||||||
| 金额 | 的百分比 收入 |
金额 | 的百分比 收入 |
金额 | % | |||||||||||||||||||
| 总收入 | $ | 10,313,512 | 100.0 | % | $ | 12,577,135 | 100.0 | % | $ | (2,263,623 | ) | (18.0 | )% | |||||||||||
| 总营业费用: | ||||||||||||||||||||||||
| 销售费用 | 2,947,088 | 28.6 | % | 3,152,341 | 25.1 | % | (205,253 | ) | (6.5 | )% | ||||||||||||||
| 一般和行政开支 | 2,230,893 | 21.6 | % | 2,454,375 | 19.5 | % | (223,482 | ) | (9.1 | )% | ||||||||||||||
| 总营业费用 | $ | 5,177,981 | 50.2 | % | $ | 5,606,716 | 44.6 | % | $ | (428,735 | ) | (7.6 | )% | |||||||||||
销售费用
我们的销售费用主要包括支付给我们销售与市场营销人员的工资和销售佣金费用,商店运营费用,商店租金,商店装修和维护费用,公用事业费用以及与销售活动相关的其他费用。销售费用从截至2019年12月31日止年度的3,152,341美元减少205,253美元或6.5%至截至2020年12月31日止年度的2,947,088美元。销售费用的减少主要是由于薪金费用减少了117,279美元和社会保障费用减少了50,246美元。在中国的关店期间,我们向员工支付了基本工资,以满足他们在关店期间的基本生活支出需求。此外,在2020年2月至2020年12月期间,我们免于为员工支付工伤保险,养老保险和失业保险,这是中国政府在大流行期间为支持经济而采取的一项措施。销售费用的减少也是由于租金费用减少了50,568美元。在COVID-19爆发期间,我们从房东那里获得了租赁优惠,但被截至2020年12月31日止年度开设的新店的租赁费用所部分抵消。截至2020年12月31日和2019年12月31日止年度,我们的销售费用分别占收入的28.6%和25.1%。
65
一般和行政开支
我们的一般和行政费用主要包括行政人员薪金,福利和保险费用,折旧和专业服务费用。一般和行政支出从截至2019年12月31日止年度的2,454,375美元减少223,482美元或9.1%至截至2020年12月31日止年度的2,230,893美元,主要是由于行政人员薪金减少了447,2512美元。行政人员薪金的减少主要是由于我们在商店关闭期间向员工支付了基本薪金,如上所述免除了社会保障费用,以及作为减少费用的措施,香颂23街的员工人数减少。此外,由于政府在COVID-19爆发期间施加的旅行限制,我们的旅行费用减少了21,573美元。减少额因准备首次公开募股的专业服务费增加325,485美元而部分抵消。截至2020年12月31日和2019年12月31日止年度,我们的一般和行政费用分别占收入的21.6%和19.5%。
其他收入(支出)净额
我们的其他收入(支出)净额主要包括短期银行贷款的利息支出以及处置固定资产的损益。其他费用净额从截至2019年12月31日止年度的61,809美元增加58,989美元或95.4%至截至2020年12月31日止年度的120,798美元。减少包括其他收入减少99,039美元或113.7%,从截至2019年12月31日止年度的其他收入净额87,093美元减少至截至2020年12月31日止年度的其他费用净额11,946美元,部分被利息支出从截至2019年12月31日止年度的148,902美元减少40,050美元或26.9%至截至2020年12月31日止年度的108,852美元所抵消。我们的其他收入减少,主要是因为截至2019年12月31日止年度,我们的其他收入为61,023美元,这是由于我们的一个供应商因其产品的质量问题而免除的付款。我们的利息支出减少了,因为银行在COVID-19爆发期间提供了优惠的利率,这导致我们截至2020年12月31日止年度的加权平均利率与2019年相比下降。
准备金
截至2020年12月31日和2019年12月31日止年度,我们的准备金分别为14,584美元和59,686美元。根据企业所得税法,国内企业和外国投资企业通常适用25%的统一企业所得税税率,同时可根据具体情况给予优惠税率、免税期或免税待遇。
新疆和睦家及其三个分支机构在中国注册成立。截至2020年12月31日和2019年12月31日止年度,新疆和睦家及其所有三个分支机构均符合小型微利企业的资格。根据《企业所得税法》,从2019年1月1日至2021年12月31日,其应纳税所得额不超过人民币100万元的部分应降低5%的税率,而在人民币100万元至人民币300万元之间的部分应降低10%的税率。只要符合小型微利企业条件,新疆和睦家及其三家分支机构将继续享受优惠税率。
UFG实体是个人拥有的企业,不受《企业所得税法》的约束。国家税务总局于2014年12月19日通过了《个体工商户个人所得税计算办法》(以下简称“办法”),并于2014年12月27日颁布,并于2018年6月15日修订。根据《办法》第七条规定,个体工商户的生产经营所得,其应纳税所得额为各纳税年度的收入总额减去成本、费用、税金、亏损和其他支出后的余额,以及对前几年损失的允许赔偿。UFG实体适用的个人拥有企业的所得税通常可以在实际基础上或视为基础上评估。因此,UFG实体的所得税是按当地税务机关评估的应纳税净收入(“TNI”)的一定百分比作为固定税率征收的。截至2020年12月31日止年度,这些UFG实体中的11个应按TNI的1%缴纳所得税,每月人民币33,000元至120,000元。截至2019年12月31日止年度,其中八家UFG实体应缴纳的所得税为TNI的1%或1.5%,每月为人民币15,000元至人民币123,000元。这些UFG实体的其余部分免征所得税。截至2020年12月31日,我们的UFG实体截至2016年12月31日至2020年12月31日的纳税年度仍开放供中国税务机关进行法定审查。此外,地方税务机关会定期重新评估我们UFG实体的TNI和税率。如果地方税务机关确定UFG实体的所得税应以更高的TNI或更高的税率征收,我们将有义务支付额外的所得税。随着业务的持续增长,我们预计这些UFG实体的税率将来可能会根据过去的表现在当地税务机关的年度评估中提高。如果这些UFG实体由于其业务发展要求而将其组织形式从个人拥有的企业更改为其他公司形式(例如有限责任公司),则它们将不再享受优惠税率,并应遵守企业所得税法,尽管我们目前预计它们的组织形式在可预见的将来不会发生变化。
截至2020年12月31日和2019年12月31日止年度,由于优惠税率和免税而节省的税款分别为358,406美元和465,888美元,优惠税率和免税的每股影响分别为0.04美元和0.05美元。
净收入(亏损)
由于上述原因,我们报告截至2020年12月31日止年度的净亏损为164,029美元,而截至2019年12月31日止年度的净收入为945,468美元。
66
流动资金和资本资源
迄今为止,在必要时,我们主要通过运营现金流量,银行贷款和股东营运资金为运营提供资金。我们计划主要通过经营活动提供的现金流量来支持我们的未来运营。
截至2020年12月31日,我们的现金及现金等价物为4,098,546美元,而截至2019年12月31日为3,874,288美元。截至2020年12月31日,我们还有713,389美元的应收账款余额,约占75%,即54万美元,随后已收回。剩余余额预计将在2021年12月31日之前收取。如有必要,应收账款的收取使现金可用于我们的运营作为营运资金。
截至2020年12月31日,我们拥有约230万美元的短期银行贷款和20万美元的未偿还长期银行贷款。贷款随后在到期时全额偿还。我们希望,根据过去的经验和良好的信用记录,我们将能够在到期时续签现有的短期银行贷款。
截至2020年12月31日,我们的营运资金为负约340万美元,其中包括约470万美元的递延收入,已报告为流动负债,但将来不需要现金支付。我们相信,我们现有的现金及现金等价物、营运现金流和可用的银行融资将足以满足我们未来12个月的营运资金需求。但是,如果我们要经历不利的运营环境,包括持续的COVID-19爆发的不利发展,或者产生意料之外的资本支出,或者如果我们决定加速增长,则可能需要额外的融资。我们的资本支出,包括与开设或收购其他面包店和设施有关的开发成本,维护和翻新支出以及其他资本需求,例如支持正在进行的运营计划的其他基础设施,已经并且将继续是重要的。如果需要额外的融资,则可能根本无法获得或无法以优惠条件获得。此类融资可能包括使用额外的债务或出售额外的股本证券。涉及出售股本证券或可转换为股本证券的工具的任何融资都可能立即并可能严重稀释我们现有的股东。
在未来几年中,我们将寻求其他来源,例如股权融资,以满足我们的现金需求。尽管在筹集资金的规模和时间方面存在不确定性,但我们相信,我们可以继续满足运营需求,主要是根据需要利用我们的运营活动产生的现金流量和股东营运资金。
目前,我们的主要业务在中国进行,我们很大一部分收入,支出,现金和现金等价物以人民币计价。但是,我们的控股公司可能需要从我们的中国子公司和VIE获得股息和其他股权分配,以满足其流动性要求。尽管根据中国法规,股息可以人民币或外币自由汇入或汇出中国,但我们的中国子公司和VIE转移部分净资产(相当于其准备金和股本)的能力受到限制,以贷款,预付款或现金股利的形式向控股公司提供。请参阅“风险因素-与在中国开展业务有关的风险-我们的中国子公司在向我们支付股息或其他付款方面受到限制,这可能会对我们开展业务的能力产生重大不利影响。”截至2020年12月31日和2019年12月31日,受限制净资产总额分别为1,325,631美元和1,325,631美元。
67
下表总结了所示期间我们的现金流量:
| 在结束的年度 12月31日, |
||||||||
| 2020 | 2019 | |||||||
| 经营活动所产生的现金净额 | $ | 1,245,677 | $ | 1,433,517 | ||||
| 投资活动提供(用于)的现金净额 | (574,333 | ) | 1,317,784 | |||||
| 筹资活动提供(用于)的现金净额 | (849,379 | ) | 619,890 | |||||
| 汇率变动对现金的影响 | 413,812 | (43,487 | ) | |||||
| 现金及现金等价物和限制现金的净增加额 | 235,777 | 3,327,704 | ||||||
| 现金及现金等价物,以及年初的限制现金 | 3,885,291 | 557,587 | ||||||
| 现金及现金等价物,以及年末的限制现金 | $ | 4,121,068 | $ | 3,885,291 | ||||
经营活动
截至2020年12月31日止年度,经营活动所产生的现金净额为1,245,677美元,主要来自该年度的净亏损164,029美元,以及我们的经营资产和负债的净变化,其中主要包括递延收入增加964,663美元,主要是由于会员卡销售增加。加载到我们会员卡上的金额最初以递延收入记录,并在赎回时确认为收入,在这一点上,我们还减少了递延收入负债。应付账款增加了181,852美元,这是由于未偿还给我们供应商的款项增加了。
截至2019年12月31日止年度,经营活动所产生的现金净额为1,433,517美元,主要来自该年度的净收入945,468美元,以及我们的经营资产和负债的净变化,其中主要包括应收账款减少210,407美元。截至2019年12月31日止年度,我们加强了应收账款的收集工作,尽管销售额有所增长,但应收账款仍有所下降。递延收入增加了473,946美元,主要是由于会员卡销售的增加。加载到我们会员卡上的金额最初以递延收入记录,并在赎回付款时确认为收入,在这一点上,我们还减少了递延收入负债。
投资活动
由于新商店的购置不动产和设备和租赁权改善,截至2020年12月31日止年度的投资活动所用现金净额为574,333美元。
截至2019年12月31日止年度,投资活动提供的现金净额为1,317,784美元,包括从关联方收取的应付款项1,896,008美元以及购买物业和设备的收益636,499美元。
68
筹资活动
截至2020年12月31日止年度,筹资活动使用的现金净额为849,379美元,主要包括偿还短期银行贷款2,168,388美元和偿还股东贷款791,036美元,并被短期银行贷款2,175,000美元的收益部分抵消。
截至2019年12月31日止年度,融资活动提供的现金净额为619,890美元,主要包括股东贷款813,352美元的收益,部分被递延发行成本194,282美元的付款所抵消。短期银行贷款也有2,172,000美元的收益,因为我们从华夏银行借了1,500万元人民币作为营运资金,为期一年。另一方面,我们在贷款到期时向华夏银行偿还了2,171,180美元(人民币1,500万元)的短期银行贷款。
合同义务
截至2020年12月31日,我们的合同义务如下:
| 合同义务 | 总计 | 小于 1年 |
1-2年 | 2-3年 | 3-4年 | 4-5年 | 此后 | |||||||||||||||||||||
| 短期银行贷款(1) | $ | 2,289,038 | $ | 2,289,038 | $ | - | $ | - | $ | - | $ | - | $ | - | ||||||||||||||
| 长期银行贷款(2) | $ | 209,291 | $ | - | $ | 209,291 | $ | - | $ | - | $ | - | $ | - | ||||||||||||||
| 未来租赁付款(3) | 12,495,196 | 1,581,450 | 1,542,110 | 1,370,910 | 1,353,710 | 1,203,926 | 5,443,090 | |||||||||||||||||||||
| 总计 | $ | 14,993,525 | $ | 3,870,488 | $ | 1,751,401 | $ | 1,370,910 | $ | 1,353,710 | $ | 1,203,926 | $ | 5,443,090 | ||||||||||||||
| (1) | 偿还短期银行贷款:截至2020年12月31日,我们偿还未偿还短期银行贷款的合同义务总计2,289,038美元,与以下银行贷款有关:
2020年5月11日,新疆和睦家与华夏银行签署了新的贷款协议,借入1500万元人民币(截至2020年12月31日为2,289,038美元)作为营运资金,为期一年,到期日为2021年5月11日。该贷款固定优惠利率为4.98%,由新疆和睦家法定代表人Baolin Wang女士和XJ Financing Guaranty担保。为了让XJ融资担保公司与银行签署担保协议,我公司控股股东李刚先生及其妻子熊颖女士与XJ融资担保公司共同签署了个人担保协议,并将其住宅抵押给XJ融资担保公司。此外,新疆和睦家将其在中国的所有设备和两家面包店的经营权作为XJ Financing Guaranty的抵押品。李刚先生控制的三个关联实体还与XJ Financing Guaranty签订了担保协议。贷款随后在到期时全额偿还。 |
| (2) | 偿还长期银行贷款:截至2020年12月31日,我们偿还未偿还的长期银行贷款的合同义务总计209,291美元,与以下银行贷款有关:
2020年4月29日,我们的美国子公司香颂23街(Chanson23rd Street)根据美国SBA PPP从国泰银行获得了总计209,291美元的贷款,这是2020年3月27日颁布的CARES法案的一部分。根据SBA PPP贷款的条款,如果满足某些条件,并且贷款收益用于符合条件的费用,例如工资成本,福利,租金和公用事业,则最高可免除本金和应计利息的100%。CARES法案。贷款按1%的利率计息,未获豁免的本金和应计利息的任何部分必须在2022年4月29日之前偿还。我们于2021年2月底提出了免除贷款本金和利息的申请,该申请已于2021年5月获得银行和SBA的批准。
|
| (3) | 我们租赁办公空间,面包店设施和员工宿舍,根据ASC主题842将其分类为经营租赁。截至2020年12月31日,我们未来的租赁付款总额为12,495,196美元。 |
69
趋势信息
除本注册声明其他部分披露的内容外,我们不了解任何合理可能对我们的净收入,持续经营收益,盈利能力,流动性或资本资源产生重大影响的趋势,不确定性,要求,承诺或事件,或这将导致报告的财务信息不一定表示未来的经营成果或财务状况。
资产负债表外安排
截至2020年12月31日,我们没有任何表外安排。
通货膨胀
通货膨胀不会对我们的业务或经营业绩造成重大影响。
季节性
对于我们在中国商店和香颂23街出售的烘焙产品以及香颂23街提供的餐饮服务,我们的销售没有明显的季节性波动,因为客户通常每天都会消费这些产品。关于我们在中国的商店和香颂23街出售的饮料产品,由于客户需求增加,我们过去经历过,并且希望将来继续经历夏季更高的零售额。关于中国商店销售的季节性产品,由于客户对这些季节性产品作为礼物和个人需求的增加,我们过去经历过,并且希望将来继续经历零售的季节性波动。假日期间的消费。从历史上看,我们在中国端午节和中秋节之前的一两个月内产生了几乎所有季节性产品的零售额,分别发生在一年的第二季度末和第三季度初。
70
关键会计政策和估计
我们对财务状况和经营成果的讨论和分析基于我们的合并财务报表。这些财务报表是根据美国公认会计原则编制的,该原则要求我们做出影响资产和负债以及收入和支出的报告金额的估计和假设,并在合并财务报表日披露或有资产和负债,并披露报告期内发生的收入和支出的报告金额。最重要的估计和假设包括对应收账款的估值、对供应商的预付款、财产和设备的使用寿命、长期资产的可收回性、或有负债的必要准备金以及收入确认。我们将继续评估我们认为在这种情况下合理的这些估计和假设。我们依靠这些评估作为判断资产和负债账面价值的基础,而这些资产和负债的账面价值从其他来源不易看出。由于估计数的使用是财务报告流程的组成部分,因此实际结果可能与这些估计数有所不同。我们的某些会计政策在应用中需要比其他会计政策更高的判断力。我们认为,本招股说明书中披露的关键会计政策反映了在编制合并财务报表时使用的更重要的判断和估计。
以下关键会计政策依赖于假设和估计,并用于编制我们的合并财务报表:
估计数的使用
在按照美国公认会计原则编制合并财务报表时,管理层做出的估计和假设会影响资产和负债的报告金额以及财务报表日或有资产和负债的披露以及报告期内收入和支出的报告金额。这些估计是基于截至合并财务报表日期的信息。管理层需要做出的重大估计包括但不限于应收账款的估值,财产和设备的使用寿命,长期资产的可收回性,或有负债所需的准备金以及收入确认。实际结果可能与这些估计有所不同。
应收账款,净额
应收账款按原始发票金额减去无法收回账户的估计备抵确认和结转。
我们根据个人账户分析和历史收款趋势确定呆账准备金的充足性。当有客观证据表明我们可能无法收取应付款项时,我们会为可疑应收款计提准备金。备抵是基于管理层对个人风险敞口的特定损失的最佳估计以及收款历史趋势的准备金。备抵记入应收账款余额,相应费用记入综合业务报表和综合收益(亏损)。实际收到的金额可能与管理层对信用价值和经济环境的估计有所不同。在管理层确定不太可能收款后,将拖欠的帐户余额从呆账准备金中冲销。截至2020年12月31日和2019年12月31日,由于我们认为所有应收账款都可以完全收回,因此没有记录备抵。
库存
库存包括成分材料,制成品,包装材料和其他材料。存货按加权平均以成本或可变现净值中的较低者列示。成本包括成分材料的成本,直接人工以及相关的生产费用。成本超过每项存货的可变现净值的任何差额,均确认为存货价值的减值准备。可变现净值是正常业务过程中的估计售价减去完成和销售产品的任何成本。我们会定期评估存货的可变现净值调整,并根据各种因素(包括账龄和到期日)(如适用)将过时或超过预测使用量的存货的账面价值减少至其估计的可变现净值,考虑到历史和预期的未来产品销售。截至2020年12月31日和2019年12月31日止年度,未记录任何库存储备,因为未发现滞销,陈旧或损坏的库存。
71
收入确认
我们遵循会计准则编纂606“与客户的合同收入”(“ASC606”)进行收入确认。ASC606建立了报告有关实体向客户提供商品或服务的合同所产生的收入和现金流量的性质,金额,时间和不确定性的信息的原则。核心原则要求主体在履行履约义务时确认收入,以反映向客户转移商品或服务的金额,该金额应反映其期望有权收取的对价,以换取已确认的商品或服务。
我们目前通过面包店/咖啡馆以及在线销售产生收入。我们在将相关食品和其他产品交付给客户并履行所有履约义务时确认面包店/咖啡馆的销售收入。收入扣除从客户收取并汇给税务机关的任何折扣,销售激励措施,营业税和增值税后确认。
在中国的商店中,我们出售没有到期日的会员卡,并且我们不会从未偿还的卡余额中扣除非使用费。会员卡可在我们的任何商店地点重新下载和兑换。加载到这些卡中的金额最初记录为递延收入。当在商店兑换会员卡时,我们确认收入并降低递延收入。尽管我们继续尊重所有为付款而出示的会员卡,但管理层确定,对于某些长期闲置(“破损”)的卡,赎回的可能性很小,根据我们的历史赎回模式,这是上次使用后的五年。会员卡破损在综合业务报表和综合收益(亏损)中记作收入。截至2020年12月31日和2019年12月31日止年度,会员卡破损并不重要。
在中国商店中,我们维持客户忠诚度计划,在该计划中,客户在购买或重新加载一定数量的会员卡时可获得免费现金券。这些现金代金券通常不会过期,但在特殊场合发放的某些代金券除外,这些代金券通常说明到期日,只能换成某些季节性产品或特色蛋糕。我们在递延收入中为会员卡和发行后的免费现金券建立相应的负债。我们根据会员卡和现金券的面值按比例分配收到的对价。收入在兑换会员卡和现金券时按分配的金额确认,此时我们将产品交付给客户并降低了递延收入。当管理层确定赎回的可能性很小时,未赎回的现金凭证将在其到期日(如果有)或发行后五年(如果没有规定的到期日)确认为收入。
合同余额和剩余履约义务
当控制权转移给客户与收到对价之间的时间差异发生时,通常会产生合同余额。截至2020年12月31日和2019年12月31日,我们没有合同资产。截至2020年12月31日和2019年12月31日,我们的合同负债在合并资产负债表中分别反映为递延收入4,657,000美元和3,410,303美元,主要包括客户对会员卡的付款以及客户忠诚度计划下现金券的公允价值。这些金额代表截至资产负债表日我们尚未履行的履约义务。截至2020年12月31日和2019年12月31日止年度确认的已包括在期初递延收入中的收入金额分别为2,936,748美元和1,864,535美元。截至2020年12月31日,未赎回的会员卡和现金券总额为4,657,000美元。当客户兑换会员卡或现金券以进行店内购买时,我们将确认收入。根据我们的历史经验,预计赎回的很大一部分将在2020年12月31日之后的前两年进行,其余部分将在第三年至第五年之间进行。
72
所得税
我们根据相关税务机关的法律核算当期所得税。当资产和负债的税基与其在合并财务报表中报告的金额之间存在暂时性差异时,确认递延所得税。递延所得税资产和负债使用预期适用于预期可收回或结算这些暂时性差异的年度的应纳税所得额的已制定税率计量。税率变化对递延所得税资产和负债的影响在包括颁布日期在内的期间的收入中确认。必要时设立估价备抵,以将递延所得税资产减至预期实现的数额。
不确定的税收状况只有在“很可能”在税收审查中维持该税收状况时才被确认为利益。确认的金额是最大的税收优惠金额,大于检查时可能实现的50%。对于不符合“很可能”测试的税收头寸,不会记录任何税收优惠。与少缴所得税有关的罚款和利息在发生期间分类为所得税费用。截至2020年12月31日和2019年12月31日止年度,未发生与所得税有关的罚款或利息。我们认为在2020年12月31日和2019年12月31日没有任何不确定的税收准备。
我们在中国的经营子公司受中国所得税法的约束。我们在美国的运营子公司受美国税法的约束。截至2020年12月31日,我们的中国子公司截至2016年12月31日至2020年12月31日的纳税年度仍开放供中国税务机关进行法定审查,并且我们的美国子公司截至2018年12月31日至2020年12月31日的纳税年度仍开放供美国税务机关进行法定审查。
最近的会计公告
2019年12月,FASB发布了ASU No.2019-12,所得税(主题740):简化所得税会计,作为其降低会计准则复杂性的举措(简化举措)的一部分。简化计划的目标是确定,评估和改进美国公认会计原则的领域,这些领域的成本和复杂性可以降低,同时保持或提高提供给财务报表用户的信息的有用性。利益相关者提交了本ASU中可能简化的特定领域,作为简化计划的一部分。对于公共企业实体,此更新中的修订自2020年12月15日之后的会计年度以及该会计年度内的过渡期生效。我们于2021年1月1日采用了该ASU,采用该ASU对我们的合并财务报表没有重大影响。
除上述声明外,没有新发布的会计准则会对我们的合并财务状况,经营报表和现金流量产生重大影响。
73
行业
本节中提供的所有信息和数据均来自弗若斯特沙利文(北京)有限公司的行业报告,除非另有说明,否则我们于2020年9月委托上海分公司(“Frost&Sullivan”)进行题为“新疆与美国烘焙行业独立市场研究”(“Frost&Sullivan报告”)。弗若斯特沙利文(Frost&Sullivan)已告知我们,此处包含的统计和图形信息来自其数据库和其他来源。以下讨论包含对未来增长的预测,这些预测可能不会以预测的速度或根本不会发生。
中国烘焙产品制造市场概述
导言
烘焙产品是由面粉,酵母,盐和水,以及糖,油,牛奶,鸡蛋或用于增加风味和质地的添加剂制成的食品,并在烤箱中烹饪。中国的烘焙产品既包括面包,蛋糕和饼干等西方烘焙产品,也包括月饼,中式薄饼和填充派等传统中式烘焙产品。随着中国生活节奏的加快,由于现成的烘焙产品省时省力且携带方便,因此对烘焙产品的需求预计将稳步增长。
市场规模
烘焙食品在中国消费者中越来越受欢迎。根据弗若斯特沙利文报告,中国烘焙产品的零售额已从2015年的约243亿美元增至2019年的约304.6亿美元,复合年增长率(“CAGR”)为5.8%。期内零售额上升主要是由于可支配收入增加,西方糕点涌入,以及中国人均烘焙产品消费量增加。随着中国政府在《中华人民共和国国民经济和社会发展第十三个五年计划纲要》中强调了乐观的经济前景,以及中国消费者对烘焙产品的消费增加,预计中国烘焙产品的零售额将以3.7%的复合年增长率进一步增长,到2024年底达到约360.9亿美元。

资料来源:弗若斯特沙利文报告
注:零售总额按人民币兑美元6.605元折算为美元。
74
根据弗若斯特沙利文报告,从2015年到2019年,新疆烘焙产品的零售额复合年增长率为8.1%,从约8.8亿美元增至约12.0亿美元。期内零售业销售价值上升,主要是由于区内可支配收入上升、西式糕点大量涌入,以及人均烘焙食品消费增加所致。根据弗若斯特沙利文(Frost&Sullivan)的估计,烘焙产品将在新疆消费者中越来越受欢迎,烘焙产品的总消费量将进一步增加,到2024年底,新疆烘焙产品的零售额将达到约14.8亿美元,复合年增长率为4.7%。烘焙产品零售额的这种增长将为该行业创造足够的适度发展空间,市场参与者可能会在未来几年中寻求机会扩大其在新疆的市场份额。

资料来源:弗若斯特沙利文报告
注:零售总额按人民币兑美元6.605元折算为美元。
生产分析
在中国,烘焙产品有三种不同的生产模式。大多数烘焙产品制造商在中央工厂生产产品,并将成品交付连锁店和零售商店销售。这些制造商可能享有较低的制造成本,但其烘焙产品的保质期通常较短(约3至5天)。一些烘焙产品制造商在中心工厂生产半成品,并依靠其商店进行进一步加工,例如烘焙,装饰和包装。通过这种方式生产的烘焙产品比从中央工厂交付的产品更新鲜,因为烘焙产品在上架之前就已经准备好了。最后,一些烘焙产品制造商在其连锁店或零售商店中建立指定区域进行生产,以提供质量和新鲜度最佳的烘焙产品。然而,由于需要更多的人力来生产相同数量的烘焙产品,这种生产模式的成本在三种生产模式中是最高的。
75
成本分析
劳动力成本。根据中国国家统计局的数据,中国城市地区制造业从业人员的平均年薪从2015年的约8,519.9美元增加到2019年的约11,831.5美元,复合年增长率为8.6%,这一增长主要归因于对劳动力的高需求和最低工资水平的提高。此外,在中国强劲的经济表现的推动下,中国城市地区制造业就业人员的平均年薪估计在2020年至2024年期间以2.0%的复合年增长率增长,并在2024年达到约13,134.6美元。另一方面,中国城市地区餐饮服务业就业人员的平均年薪从2015年的约6,284.1美元增加到2019年的约7,622.4美元,复合年增长率为5.0%。近年来,随着餐饮服务业的发展以及中国消费者外出就餐的频率不断增加,餐饮服务业从业人员的平均年薪预计将在2024年达到约8,786.3美元,复合年增长率为3.1%。2020年至2024年。预计中国劳动力成本的上升预计将对烘焙产品制造商造成运营压力。没有足够资金流动的小型制造商在雇用足够的员工和维持业务方面可能会遇到困难。

资料来源:中国国家统计局和弗若斯特沙利文报告
注:年平均工资总额按人民币兑美元6.605元折算为美元。
76
原材料成本。根据中国国家统计局和中国糖业协会以及Frost&Sullivan的估计,从2015年到2019年,鸡蛋,糖和面粉的平均售价分别以4.4%,0.6%和4.8%的复合年增长率增长。鸡蛋,糖和面粉的销售价格上涨主要是由于食品制造业对这些原材料的需求稳步增长,以及由于去除了过剩的生产能力,鸡蛋,糖和面粉的供应相对稳定在中国。预计2024年鸡蛋,糖和面粉的售价将分别上涨并达到每磅约0.92美元,每磅0.45美元和每磅0.48美元,复合年增长率适中,分别为2.3%,3.0%和3.4%2020年至2024年。随着近年来烘焙产品基本原料价格的上涨,成本的上涨最终将转移到消费者身上,这将导致烘焙产品单价的上涨。

资料来源:中国国家统计局、中国糖业协会和弗若斯特沙利文报告。
注:总平均售价按人民币兑美元6.605转换为美元。
租金费用。根据弗若斯特沙利文报告,新疆零售店的平均月租金从2015年的每平方英尺约0.95美元增至2019年的每平方英尺约1.01美元,复合年增长率为1.5%。新疆经济增长的主要原因是稳定的经济增长和政府采取的刺激经济的政策。由于新疆的城市发展和经济活动更加频繁,新疆零售商店的平均月租金预计将进一步增加,到2024年达到每平方英尺约1.04美元,复合年增长率为0.7%。零售店租金往往构成烘焙产品零售商经营成本的很大一部分,租金的上涨会给烘焙产品零售商带来较高的财务压力。

资料来源:弗若斯特沙利文报告
注:平均月租金按人民币兑美元6.605元折算为美元。
77
市场驱动因素和发展趋势
提高了生活质量。在过去的五年中,中国居民的消费能力有所提高,中国消费者对成分更好、质量更高、价格更高的烘焙产品表现出了更强烈的偏好。根据中国国家统计局的数据,中国全国人均可支配收入从2015年的约3,325.7美元增加到2019年的约4,653.0美元,复合年增长率为8.8%。因此,生活水平的提高刺激了中国对面包制品等主食的消费。
企业资源规划系统的整合。ERP通常是指企业管理软件的集成应用,它完全管理企业的日常运营,例如采购程序,生产过程和销售分配。一个全面的企业资源规划系统使制造商能够便利信息流动和促进无差错的交易,从而最终提高业务绩效和优化运营效率。具体而言,ERP,例如数据处理中的系统应用程序和产品(SAP),已越来越多地被中国烘焙产品制造和零售市场的企业采用。市场参与者使用ERP来调整其业务策略并优化其运营能力,以管理成本并最大化其利润。
拓展电子商务渠道。近年来,在线和按需送餐平台(例如饿了么和美团外卖)在中国的流行鼓励烘焙产品制造商和零售商调整其业务模式,以适应消费者对便捷送餐的需求。例如,北京的Ebeecake在其销售方法中优先考虑电子商务渠道,并致力于通过其在线平台和第三方平台(例如京东)为消费者提供独特的体验。随着烘焙产品制造商和零售商在中国面临更加激烈的竞争,预计更多的市场参与者将扩展其电子商务渠道以吸引潜在的消费者。
营销策略的变化。随着中国消费者对健康生活方式的意识日益增强,烘焙产品制造商和零售商推出了低卡路里,低碳水化合物和纯素产品,并添加了膳食纤维,并进行了广泛的营销以应对这一趋势。此外,他们还专注于烘焙产品的包装和外观,以吸引消费者,并增加其产品通过社交媒体平台共享的可能性。烘焙产品制造商和零售商还通过自己的社交媒体帐户进行广告宣传。
比赛概况
中国的烘焙产品市场高度分散,没有一家领先的公司具有竞争力。根据弗若斯特沙利文报告,中国有1,400多家烘焙产品制造商,拥有8,500多家零售店,前五大市场参与者在2019年的总收入中贡献了约6.6%的市场份额。更具体地说,2019年,新疆有40多家烘焙产品制造商,零售店超过100家。随着更多国际企业进入中国市场以及其他一些大型食品制造公司扩大其产品组合,预计中国烘焙产品制造商和零售商之间的竞争将在未来变得更加激烈。并进入烘焙产品市场以直接与现有市场参与者竞争。此外,一些小型制造商可能会进入烘焙产品市场,以提供异国风味和独特的烘焙产品。
78
美国烘焙产品市场概述
市场规模
美国的烘焙产品市场被认为是一个相对成熟的市场,因为面包、蛋糕和糕点等产品一直是西方文化中的主食之一。根据弗若斯特沙利文报告,商业面包店通常是指主要从事生产新鲜和冷冻面包以及面包型面包卷和其他新鲜烘焙产品(例如百吉饼,饼干和蛋糕)的机构。记录的商业面包店零售额从2015年的约281.2亿美元稳步攀升至2019年的约335.4亿美元,复合年增长率为4.5%。但是,由于在美国各地爆发COVID-19而采取的封锁措施和社会疏远措施,商业面包店的零售额在2020年有所下降。但是,一旦疾病得到有效控制,预计商业面包店的零售额将开始恢复,因此,到2024年底,商业面包店的零售额预计将达到约331.7亿美元,复合年增长率为7.8%。

资料来源:弗若斯特沙利文报告
纽约市商业面包店的零售额从2015年的约12.5亿美元温和增长至2019年的约17.3亿美元,复合年增长率为8.5%。纽约市的商业面包店一直在提供各种各样的烘焙产品,例如蛋糕,百吉饼,面包,曲奇和派,具有不同的口味,并且一直是纽约市最受欢迎的商店之一。COVID-19爆发对纽约市的消费者商业面包店产生了不利影响,导致零售额在2020年下降至预计的10.8亿美元。随着纽约市逐渐从封锁中恢复,商业面包店的业务预计将逐步恢复,到2024年底,纽约市商业面包店的零售额预计将达到约15.8亿美元,复合年增长率为10.0%。

资料来源:弗若斯特沙利文报告
79
市场驱动因素和发展趋势
提高生活质量。根据美国商务部经济分析局(Bureau of Economic Analysis of the United States Department of Commerce)的数据,美国的人均可支配个人收入从2015年的约42,953美元增至2019年的约49,763美元,复合年增长率为3.8%。由于人均可支配个人收入的增加,消费者更愿意支付更多的钱来购买优质和更健康的烘焙产品,例如低碳水化合物,无麸质和无反式脂肪的烘焙产品,以追求更好的生活方式。
广泛的分销网络。如今,除了通过传统的实体店销售产品外,烘焙产品制造商还利用互联网进行市场营销与销售。例如,Seamless,Postmates和Uber Eats等在线订餐平台的出现为烘焙产品制造商和零售商扩大分销网络提供了额外的商机,最终增加了他们的客户群和销售量。他们在美国各地的产品。
社交媒体平台的兴起。Twitter、Facebook和Instagram等社交媒体平台已成为当今零售领域数字和社交营销的基本组成部分。它鼓励客户在互联网上发布用户生成的内容,包括产品评论和评论,并促进客户之间的互动。结果,烘焙产品制造商和零售商可能会了解客户对烘焙产品风味的偏好,并通过在线社交媒体平台随时了解最新的消费市场趋势,并开发新配方并丰富其产品组合。此外,由于通过社交媒体可以相对容易地接触到公司的潜在客户,因此成功的社交媒体活动,例如内容推广和意见领袖的影响,可以刺激产品销售增长,并提高烘焙产品制造商的品牌知名度和价值主张。零售商。
比赛概况
美国的烘焙产品市场竞争激烈,并且零散,许多中小型制造商专门从事各种烘焙产品,例如法式烤盘系列,面包,曲奇和蛋糕。根据Frost&Sullivan报告,2019年美国共有3,000多家商业面包店和7,000多家零售面包店,其中纽约市有280多家商业面包店和360多家零售面包店。这些参与者之间的竞争主要集中在价格,质量,产品差异化,营销策略和营养价值上。成功的营销策略和产品差异化是关键因素,因为它们有助于制造商建立其品牌形象,并且客户更有可能从知名品牌购买产品。
80
纽约市餐饮业务概述
根据弗若斯特沙利文报告,纽约市餐饮业务的零售额复合年增长率为5.6%,从2015年的约373亿美元增长至2019年的约464.4亿美元。餐饮业务零售额的增长主要是由于纽约市居民的人均可支配收入不断增长,可供客户选择的餐饮类别更加多样化,以及前往纽约市的旅客人数不断增加。但是,由于2020年爆发了COVID-19,居民被要求遵守社交隔离措施,群众聚会受到限制,这给纽约市的餐饮业务带来了巨大影响,预计到2020年,餐饮业务的零售额将减少至约304.2亿美元。随着纽约市逐渐从封锁中恢复,纽约市餐饮业务的零售额预计将恢复,到2024年底达到约465.2亿美元,从2020年到2024年的复合年增长率为11.2%。

资料来源:弗若斯特沙利文报告
纽约市的餐饮市场竞争激烈且分散。2019年,纽约市共有7,000多家全方位服务的餐厅。餐馆市场的市场参与者与他们的产品竞争,例如国际美食的可用性以及食品质量和价格。
81
业务
概述
我们制造和销售各种烘焙产品,季节性产品(即在特定节日期间出售的产品)和饮料产品;我们还在某些商店提供外卖服务。我们目前将业务重点放在中国新疆和纽约市,并计划扩展到中国和美国的其他地区,目标是在未来五年内每年在中国开设三到五家新店,并在美国开设十家新店。我们的目标是通过先进的设施和行业研究来制作健康,营养和即食的食品,并创造一个舒适但可区分的商店环境,使客户可以享受我们的产品。
我们主要通过(i)由新疆和睦家及其VIE经营的27家商店组成的烘焙连锁店,以我们在新疆的“George Chanson”品牌销售产品,以及(ii)通过纽约市的Chanson23街销售产品。我们目前还在翻新空间,以在纽约市开设新店。通过自己的商店进行销售使我们能够更有效地运营整个业务,并对产品质量和品牌介绍进行更大的控制,并更好地管理商店中的客户体验。我们还在数字平台上以及通过第三方在线订餐平台销售产品。我们目前的客户群包括个人和公司客户。为了扩大我们的客户群,我们制定了各种营销和销售策略,例如增加我们在社交媒体平台上的影响力,设计定价和折扣计划以及改善客户的店内体验。
对于我们的中国商店,我们在位于新疆乌鲁木齐的中心工厂生产大多数烘焙产品,在商店内准备饮料产品,并与第三方制造商签订合同生产季节性产品。对于香颂23街,我们烘焙烘焙产品,准备早餐,午餐和全天早午餐,酒吧食品和其他便餐供进餐,并在商店的厨房内制作饮料产品。为了确保产品的质量和安全,我们从知名供应商那里采购原材料,包括面粉,鸡蛋和牛奶,这些供应商在食品行业几十年来一直提供高质量的原材料。此外,我们还实施了涵盖整个运营流程的严格质量控制体系,并要求进行内部培训,以提高员工的食品安全意识和知识。
我们拥有一支敬业且经验丰富的产品开发团队,不断创造出能反映市场趋势并能满足客户需求的新产品。
截至2021年5月,我们在中国商店出售的烘焙产品和季节性产品超过590种,其中包括自2020年以来推向市场的28种新产品,以及香颂23街(Chanson23rd Street)出售的83种外卖菜单项和烘焙产品,包括自2020年以来推向市场的28种新产品。我们还在中国商店和香颂23街提供大量饮料产品,并根据季节和不断变化的客户需求更新饮料菜单。通过不断提供新产品并完善我们的产品配方以增强现有产品,我们相信我们能够稳定地吸引新客户,并增加现有客户访问我们的商店,数字平台和第三方商店页面的频率。第三方平台。
截至2020年12月31日和2019年12月31日的财政年度,我们的总收入分别为10,313,512美元和12,577,135美元,净亏损164,029美元和净收入945,468美元。在该财政年度,我们的中国商店分别占我们总收入的87.0%和81.1%,香颂23街分别占13.0%和18.9%。
我们的中国商店主要通过销售烘焙产品,季节性产品和饮料产品来产生收入。截至2020年12月31日和2019年12月31日的财政年度,烘焙产品的销售收入分别占我们中国商店收入的91.8%和90.7%,季节性产品的销售收入分别占我们中国商店收入的6.6%和6.9%,饮料产品的销售收入分别占我们中国商店收入的1.6%和2.4%。
香颂23街主要通过提供外卖服务以及烘焙产品和饮料产品的销售来产生收入。截至2020年12月31日和2019年12月31日的财政年度,提供餐饮服务的收入分别占香颂23街收入的37.9%和45.5%,烘焙产品的销售收入分别占香颂23街的44.6%和40.3%。街的收入,饮料产品的销售收入分别占香颂23街收入的17.5%和14.2%。
82
我们的竞争优势
我们相信我们具有以下竞争优势:
体现健康食品理念的时尚品牌
我们的目标是促进长期,健康的饮食,并已将健康的食品理念和营养元素纳入我们的所有产品线。我们根据低脂肪,低糖,低钠和蛋白质丰富的原则成功开发了一组受欢迎的产品,同时调整产品结构和口味以适应客户的喜好。这些产品包括酶面包、高纤维面包、全麦面包、钙面包等,深受广大消费者的好评。我们相信,我们的差异化方法将继续增强现有客户对我们品牌的忠诚度,并将吸引新客户使用我们的产品和品牌。
严格的质量控制
产品质量一直是我们的首要任务之一。我们开始与供应商进行质量控制,从已证明有提供高质量原材料并遵守食品安全标准和措施记录的知名供应商那里采购原材料。我们还不断推出具有最新行业技术的新生产设备,同时根据我们的产品功能和实际生产需求对现有生产设备进行进一步的改进和调整。因此,我们有效地降低了中心工厂所有产品线的缺陷率,并提高了产品质量。
我们建立并执行了全面的质量控制和绩效评估体系,涵盖采购,生产,销售,财务和日常员工管理等广泛活动。我们的系统包括中央工厂日常管理程序,员工健康审查标准以及工厂车间卫生和库存管理政策。该系统已被有效地用于监测和进行原材料、生产、库存维护和运输方面的危害分析。此外,我们还制定了一套严格规范的规章制度,进一步细化了生产过程各个环节的质量控制,根据生产模式的特点,适当调整了管理政策、标准和措施。通过这种集成方法,我们能够采用基于科学支持和数据的管理风格,从而产生更高质量的产品。
先进的行业研究和不断的产品创新
凭借根据客户需求和市场趋势开发新产品的成功历史,我们专注于不断创新,以改善产品的口味,质地,配方和包装,形成了一个良性循环,使我们能够定期推出新产品。自2020年以来,我们为中国商店和香颂23街保留了单独的产品线,并在中国商店推出了超过28种新产品,在香颂23街推出了28种新产品。我们通常每年或每半年通过考虑诸如收益成本增长和有竞争力的定价策略等因素来评估我们产品的盈利能力。从历史上看,我们一直能够终止利润较低的产品,并推出类似的新产品并完善我们的产品配方,以更高的价格增强现有产品,以覆盖更高的成分成本。
为了开发反映关键市场趋势从而使我们的产品具有竞争力的产品配方,我们的研究与开发(“R&D”)团队成员经常参加行业会议并与行业专家互动。经过多年的努力,我们还开发了一种系统的方法来完善产品包装。例如,我们通过将自动包装和包装技术与热封功能和时尚的图形设计集成在一起,将功能与美学无缝结合。为了使我们的组织以创新的理念保持活力,我们不仅制定了从中国,欧洲和美国招募人才的人才战略,还增加了内部培训计划的实力和规模,以使我们的员工具有强大的意识。业务和竞争力。
有利的信息管理系统
为了最大限度地提高我们的运营效率并根据以数据为中心的原则分配资源,我们在中国商店和中央工厂采用了ERP系统。ERP系统是一种业务流程管理软件,用于管理业务和自动化与技术,服务和人力资源相关的后台功能。ERP系统集成了从我们生产和销售过程的每个关键方面收集的数据,并促进了管理办公室,中央工厂和中国商店以及其他分销商之间便捷的数据交换过程。通过ERP系统,我们可以找到并验证中国商店中所有已处理交易的详细信息,甚至可以确定每种产品的成本。香颂23街尚未采用,目前也没有计划采用ERP系统,因为该商店的运营不如中国商店复杂。
83
完善的新疆分销网络
我们非常重视分销网络的发展。凭借在新疆食品行业营销和销售产品的多年经验,我们采取了核心战略,重点是发展商店网络并以其他分销渠道补充该网络。我们在新疆的乌鲁木齐、昌吉、石河子三个经济发达的城市拥有27家门店。新疆相对较低的劳动力成本以及我们与享有较高品牌忠诚度的当地老牌超市(例如优豪超市和惠佳超市)的长期,可持续的业务关系,增强了我们控制前端产品销售的能力,为我们开拓新的市场机会打下坚实的基础,提高我们的运营效率。我们还通过我们的数字平台以及与美团-大众点评和口碑网等第三方在线订餐平台的合作来销售产品。为了在每个分销渠道的销售点与我们的生产团队之间保持密切联系,我们主要使用自己的运输团队运输产品。第三方公司有时提供辅助后勤支助。我们在新疆的分销网络中设计并有效实施了各种营销策略,以在短时间内推出新产品并推广营销活动。
经验丰富的管理和专业团队
我们的高级管理团队由首席执行官Cheng Chen先生和首席财务官Jihong Cai女士领导,在管理品牌以及经营食品和零售业务方面拥有深厚的专业知识和公认的记录。我们的专业团队由高技能和敬业的员工组成,他们在服务,产品开发,业务发展和市场营销方面拥有广泛的经验。例如,我们中国商店的研发部门由Fufen Wang先生,Shangke Zhong先生和Yiguang Mo先生领导,他们都在烘焙行业拥有数十年的经验,并获得中国人力资源和社会保障部的认证,成为中国专门从事糕点和烘焙的国家高级厨师。香颂23街(Chanson23rd Street)于2017年至2019年聘请厨师罗里·麦克唐纳(Rory MacDonald)担任厨师,他之前曾在几家米其林星级餐厅工作,以其六道菜的奥马卡斯式甜点品尝菜单而闻名,并赢得了广泛赞誉。麦当劳大厨在香颂23街的启动阶段帮助开发了香颂23街的大部分维也纳美食和糕点。香颂23街(Chanson23rd Street)自2020年1月以来还聘请了Bertin Boston先生担任面包师总监,他在法国的本地面包店和纽约的Maison Kayser拥有多年的烘焙经验。我们相信,我们的管理和专业团队不仅能够通过持续的运营改进和研究来有效地发展我们的业务,也是我们成功的关键驱动力,并将公司定位为烘焙产品以外的食品行业未来长期增长的有吸引力的工具。
我们的增长策略
我们打算通过以下策略来发展业务和加强品牌忠诚度:
通过开设新店来拓展新市场
我们计划通过分析我们的销售数据和不同地区客户趋势的特征,不断专注于改善客户的店内体验,进一步扩展我们的分销网络,来开拓新市场,同时增强我们目前在新疆市场和纽约市市场的影响力,并探索新的合作机会。
我们已经成立了Chanson Greenwich,为2021年在纽约市翠贝卡地区开设新店做准备,目前正在装修该空间。在翠贝卡开设新店后,我们计划在未来五年内在纽约市开设10家新店。Tribeca商店的地窖空间旨在用作我们的中央厨房,以生产烘焙产品,这些产品将每天交付给这些未来的商店。我们认为,这样的商店组织结构将大大降低我们的设备和人员成本,同时满足客户对即食和高质量食品的需求。我们相信,新商店的运营和商业理念将使我们能够成功进入其他市场,这些市场强调与美国和中国一线城市类似的城市快节奏生活方式。
84
提升店内客户体验和客户服务
为了改善客户的店内体验以及品牌形象在不同地区的知名度,我们在过去四年中翻新了大多数商店。我们的愿景是创建一个干净,现代的室内设计,开放的厨房,轻松的背景音乐,柔和的光线和新鲜烘焙产品的气味组成的商店环境。除了在装修中植入基本的品牌价值外,我们还为每个商店经理提供了灵活性,以装修其商店并以符合商店所在地区特点并满足当地客户需求的方式安排我们的产品展示。为了加强客户服务,我们一直在进行系统的培训,并将不断为我们的商店员工提供标准化的培训,使他们能够以一致的方式展示自己,并提供维护我们品牌形象的高质量服务。我们坚信,轻松的咖啡馆环境(允许客户将我们的商店用作多种社交目的的首选场所),与我们品牌明显相关的店内体验以及高质量的服务将使我们脱颖而出。我们的竞争对手。
在产品开发中继续贯彻健康营养的饮食原则
作为一家对社会负责的公司,我们的企业使命是促进健康,营养和有意识的饮食。为了使我们的行动与我们的愿景进一步保持一致,我们已经整合并计划继续整合健康的元素和概念,例如零脂肪或低脂肪,低卡路里,零糖或低糖,高纤维,维生素和矿物质,并通过行业专家批准的措施和程序将低聚糖添加到我们现有和未来的产品中。
提高品牌知名度
我们将继续提高“George Chanson”,“Patisserie Chanson”和“Chanson”品牌的客户知名度和兴奋度,并通过我们的营销工作,社交媒体影响力,持续的商店扩张和不断增长的电子商务销售来提高客户忠诚度。我们的营销计划旨在发展和培养与社区的个人联系,并将香颂定位为提供健康,营养和即食食品的高质量,具有社区意识的品牌。我们还将继续利用我们不断增长的社交媒体影响力来增加我们的在线销售额,并在现有和新市场中推动更多的商店访问。我们看到了一个重要的机会,可以提高我们在纽约市市场的品牌知名度,这将是我们未来营销战略的关键重点领域。
85
我们的中国商店
产品
在我们的中国商店中,我们目前提供590多种烘焙产品和季节性产品,以及90种饮料产品。截至本财政年度,我们分别有91.8%和90.7%的收入来自烘焙产品的销售,6.6%和6.9%的收入来自季节性产品的销售,1.6%和2.4%的收入来自饮料产品的销售截至2020年12月31日和2019年12月31日。我们不断研究最新的欧洲糕点和烘焙趋势,以改善我们的产品介绍和包装。经过我们的努力,我们的产品一直被客户称赞为健康,新鲜和时尚,并被客户普遍视为流行的礼物选择。

我们的烘焙产品包括包装的烘焙产品(蛋糕,面包和零食),生日蛋糕和店内糕点。我们最畅销的烘焙产品是小泡芙,巧克力蛋糕,奶酪蛋糕,全麦面包,杂粮面包,原汁原味饼干,琥珀核桃饼干,7英寸水果蛋糕,牛角面包和杏仁布丁。
我们的季节性产品包括月饼和饺子(用不同的填充物填充并用竹叶包裹的糯米球)。我们最畅销的季节性产品是红豆味月饼,甜枣味饺子和花味饺子。
我们的饮料产品包括商店生产的饮料和果汁产品。我们最畅销的饮料产品是草莓口味的拿铁咖啡,橙柠檬口味的茶和鲜榨橙汁。
制造与物流
我们在中央工厂生产包装的烘焙产品,然后再将其运送到我们的商店。对于生日蛋糕和店内糕点,我们主要只生产半成品,例如中央工厂生产的各种甜面团和普通蛋糕,并将其运送到我们的商店,而将店内糕点的最终加工以及生日蛋糕的装饰留给我们在商店的员工。截至2021年5月,我们在中国的26家商店配备了烤箱,以生产店内糕点并满足客户每天对我们产品的额外需求,其中一家商店直接从我们那里获得了店内糕点中央工厂。
我们与第三方生产商签订合同,生产季节性产品,主要是饺子(用不同填料填充、用竹叶包裹的糯米球)和月饼,以满足端午节和中秋节期间的客户需求,这是中国的传统节日,分别发生在第二季度末和第三季度初。通常,第三方生产商需要45至60天的时间来处理我们的供应订单,生产季节性产品并将其交付给我们。客户对我们季节性产品的需求通常集中在这些假期之前的一两个月。我们向个人和公司客户销售季节性产品。
86
我们是否与第三方生产商就特定年份订立供应协议,取决于前几年季节性产品的销售记录,当年的销售计划以及第三方生产商的生产能力。通过与一组第三方生产商及时沟通并保持可持续的关系,我们的销售团队准备在特定季节处理其他客户订单。
到我们商店的产品运输是由我们自己的运输团队进行的。截至2021年5月,我们的运输团队拥有五辆卡车,每天能够运输总计5.5吨货物。所有这些卡车都已纳入企业资源规划系统。根据产品功能,我们的产品在室温下运输(适用于可在室温下保存的产品)或通过冷链运输(适用于冷冻面团和甜点等半成品)运输。我们-32.8华氏度的大型冷冻机和323平方英尺的冷藏设施可以充分容纳冷链运输的运营。
分销渠道
商店
我们目前在新疆的乌鲁木齐,昌吉和石河子三个城市拥有27家中国门店。代替特许经营,我们选择直接经营所有中国商店,因为这使我们能够对产品质量,前端销售,客户服务质量和整体购物环境进行更大的控制。该模型还使我们的中央管理团队与商店员工之间更容易进行透明的沟通,并通过ERP系统更有效地管理我们的整个业务运营。我们计划在可预见的将来继续直接经营我们的商店。
我们采用严格的分析流程来确定新的商店位置,从而根据市场特征,人口统计特征(包括收入和教育水平),主要锚店和共同租户的存在,人口密度,停车便利性和其他方式来评估位置交通,以及周围的整体环境,除其他因素外。在签订租赁协议之前,我们的管理团队会对选定位置附近的租赁价格进行全面研究,并确定导致任何价格差异的因素。我们还积极监控和管理商店的绩效,并寻求将通过监控过程获得的信息纳入我们未来的选址决策中。我们相信我们拥有灵活的选址模型,因此我们的商店可以同时位于街道和购物中心位置。自2012年开设第一家商店以来,我们在这两个地点的商店基础都有所增长,截至2021年5月,在街道地点有14家商店,在购物中心有13家商店。
数字平台
客户可以在我们中国商店的网站www.xsong.com.cn下订单。在我们的网站上,我们出售生日蛋糕和季节性产品,并促进季节性和会员制交易。我们拥有一支专业团队,致力于完善网站,以改善我们与客户的在线互动以及客户在线订购流程的效率。截至2020年12月31日和2019年12月31日的财政年度,通过我们的网站进行的产品销售分别占我们总销售额的0.11%和0.02%。
2020年2月,我们推出了一个新的在线商店,该商店与我们在微信上的官方帐户链接,专注于销售7英寸或更大的蛋糕。客户可以直接通过手机下订单,并由我们自己的运输团队快速交付蛋糕。
第三方平台
我们在第三方在线食品订购平台上列出我们的烘焙产品,例如美团-大众点评和口碑网。客户可以通过其移动应用程序和网站订购,并在我们的商店购买订购的烘焙产品,或由这些平台的运营商交付。截至2020年12月31日和2019年12月31日的财政年度,通过第三方平台进行的销售额分别占我们总销售额的4.2%和4.62%。
商店体验
我们在中国的商店面积从482平方英尺到2,640平方英尺不等。我们在中国的24家商店有座位,平均可容纳8名客人。我们的内部团队设计了这些商店,并协调了整个装修过程,以确保我们的产品和品牌形象得到最佳展现。我们在中国的商店设计成具有温暖,诱人和现代的氛围,玻璃陈列柜和陈年蛋糕架展示着大理石柜台上高高的烘焙食品。我们相信,正是凭借这种诱人而易接近的氛围,我们在住宅和商业市场上培养了忠实的客户群。
87
我们的中国门店通常在夏季每天上午10:00至晚上10:30开放,在冬季则从上午10:30至晚上11:00开放,并受益于跨营业时间的平衡销售组合。
我们的旗舰店
2019年11月29日,我们在乌鲁木齐开设了旗舰店红山生活方式店。该商店占地约2,640平方英尺,有26个座位,设有玻璃陈列柜,开放式厨房和鸡尾酒吧,并出售面包,甜点,三明治,定制蛋糕和饮料。我们的旗舰店是一个重要的营销平台,使我们能够展示我们对舒适但可区分的商店环境的愿景,并以新的方式与客户联系,并使客户沉浸在涵盖我们的氛围中。

会员和客户
我们在中国商店发行可用现金充值的免费会员卡,以鼓励客户增加支出并增强他们对我们品牌的忠诚度。公司和个人客户都可以获得会员卡,在卡上加钱,并使用它们在我们的中国商店购买产品。通过使用我们的会员卡,客户将享受诸如每周会员日可用于购买我们产品的免费现金券和所有产品原价的12%折扣等优惠。一旦客户在新会员卡上添加至少200元人民币(约合29美元),则该客户将被视为我们的会员之一。截至2021年5月,我们拥有约460,400名会员。截至2020年12月31日和2019年12月31日的财政年度,对会员的销售额分别占我们总销售额的47%和39.54%。
我们从中国商店向个人和公司客户出售烘焙产品。
我们的个人客户来自不同的年龄组和社会背景。他们有三种方法来购买我们的产品,即在我们的商店用现金或信用卡购买产品,获得会员卡并在我们的商店使用会员卡进行购买以及在数字平台上订购我们的产品。
88
我们的公司客户主要获得会员卡,并购买季节性产品,蛋糕和生日蛋糕等产品的现金券,作为其员工就业福利的一部分。在每年的中秋节和端午节期间,我们购买季节性产品的大多数客户都是公司客户(尽管在2020年端午节期间向我们购买饺子的个人客户数量增加了)。多年来,我们已经与多家企业客户建立并保持了稳定的关系。截至2020年12月31日的财政年度,我们的主要公司客户包括新疆医科大学第一附属医院,新疆医科大学附属肿瘤医院,新疆医科大学,神华新能源有限公司工会委员会,乌鲁木齐市轨道交通集团有限公司工会委员会。截至2019年12月31日止财政年度,我们的主要公司客户包括乌鲁木齐公共交通集团有限公司,昆仑银行有限公司。乌鲁木齐分院、新疆医科大学、交通银行股份有限公司新疆分院、新疆医科大学附属肿瘤医院、农业银行乌鲁木齐分院工会委员会。
竞争
中国烘焙产品市场高度分散,由于客户的本地化食品偏好,该市场的竞争趋于区域化。我们在中国商店的几乎所有烘焙产品都在新疆销售。我们的主要竞争对手是在新疆生产和销售烘焙产品的国际和国内公司,包括Tous Les Jours,Vinesweet,Bakery Share,兰州爱力食品有限公司,*ST麦趣Group Co.和Breadtalk Group Ltd。我们主要根据产品的价格和质量,食品安全,品牌知名度和忠诚度,对客户需求和市场趋势的响应能力,客户体验,准确估计销售配额和控制库存的能力,生产能力来竞争客户,以及连锁店的运营和管理。
我们还可能与面包产品制造商竞争,例如Grupo Bimbo,S.A.B.de C.V.和桃李面包Co.,以及面包连锁店,例如韩国的Paris Baguette,日本的Yamazaki Baking以及均位于中国的Holiland和WeDome。尽管上述企业均未在新疆建立主导地位,但我们预计将来在扩展到中国其他区域市场时将与他们直接竞争。
香颂23街
在位于纽约市熨斗区的香颂23街(Chanson23rd Street)下,我们在一楼和地下酒窖中经营Patisserie香颂和百里香酒吧。
Patisserie Chanson成立于2016年,是一家现代欧式咖啡馆和餐厅,专注于制作法式维也纳风味餐厅和糕点的艺术。通过开放展示一系列创新的美味糕点和Piquant咖啡冲泡,Patisserie Chanson致力于提供外食服务,并提供新鲜准备的烘焙产品和广泛的饮料产品。
百里香酒吧是我们于2020年2月开业的鸡尾酒酒吧,提供各种即兴鸡尾酒。百里香酒吧的开幕菜单由科林·史蒂文斯(Colin Stevens)设计,他以可持续和低废物的方式创造了每一种饮料,将附近餐厅的废物(如香颂餐厅(Patisserie Chanson)的咖啡渣)重新利用。百里香酒吧是纽约市最早转向并提供即饮鸡尾酒的酒吧之一,并且在COVID-19爆发期间成功地维护和发展了这种商业模式。2020年8月,杰里米·勒·布兰奇(Jeremy Le Blanche)成为百里香酒吧(Thyme Bar)的新任调酒师,并推出了“百里香酒吧体验”(The Thyme Bar Experience),这是一份基于花艺的鸡尾酒大奖赛固定菜单,为户外用餐时代设计了食物配对。
Patisserie Chanson和Thyme Bar自开业以来都得到了媒体的积极报道。2017年4月14日,《Vogue》杂志报道了香颂蛋糕的法式巧克力奶糖,称其为纽约市复活节季节最适合季节性食用的淡色调甜点之一,《福布斯》杂志4月16日报道了百里香巧克力棒,2020年将成为纽约11家最好的鸡尾酒待售酒吧之一,并于2020年10月28日再次入选,以制作“可观艺术”的待售鸡尾酒。”
89
产品
在香颂23街,我们目前提供83种外食菜单项目和烘焙产品,以及大量的饮料产品。我们在商店的厨房或酒吧中制作这些产品,并将其提供给进餐客户或在我们的商店中出售。在截至12月的财政年度中,我们分别从提供餐饮服务中获得了香颂23街收入的37.9%和45.5%,从烘焙产品的销售中获得了44.6%和40.3%,从饮料产品的销售中获得了17.5%和14.2%。2020年和2019年。

我们的外食菜单包括三明治、沙拉、烤面包、牛角面包、汤和甜点。我们最畅销的菜单项目包括鳄梨烤面包,熏鲑鱼牛角面包和黑松露烤奶酪。
我们的烘焙产品包括蛋糕,面包,糖果,生日蛋糕和糕点。我们最畅销的烘焙产品包括KouignAmann,KouignAmann(咸焦糖)和牛角面包。
我们的饮料产品包括商店生产的咖啡,凉茶,果汁和酒精饮料。我们最畅销的饮料产品包括拿铁,卡布奇诺,冲泡咖啡和“百里香2GO”鸡尾酒,这些鸡尾酒是经过预冷藏和预稀释的瓶装鸡尾酒。
商店设计

90
香颂23街有两层楼,总面积约3,900平方英尺。香颂23街(Chanson23rd Street)的座位由桌子座位和酒吧座位组成,可容纳40名客人。
香颂23街的设计旨在提供一个现代,干净,诱人的氛围,大理石桌子和柜台,丰富的灯光和木制固定装置口音,布局优化了可用空间,并为各种场合提供了背景。我们的开放式厨房展示了我们的准备过程,并展示了我们对新鲜感的承诺。我们相信这种布局实现了这种氛围,并使我们在一天中的任何时候都成为理想的目的地。
我们的餐饮和购物体验
我们在香颂23街提供各种餐饮和购买选择。顾客可以拿我们的烘焙产品和饮料产品外卖,也可以坐下来休息更长时间,享受轻松愉快的就餐体验。香颂23街通常在每天早上7点至下午5点提供烘焙产品和餐饮服务,其酒吧的开放时间为每天晚上7点至午夜。由于COVID-19爆发,香颂23街目前每天从上午8点到下午5点提供室内餐饮,送货和接送服务,其酒吧从周三到周六的开放时间为下午5点到12点。
香颂23街(Chanson23rd Street)在纽约市(不包括斯塔滕岛)提供送货和取货服务。客户可以通过我们的网站patisseriechanson.com以及第三方配送合作伙伴(包括Grubhub,Uber Eats,Caviar,Postmates和Seamless)订购三明治,甜点,法式糕点,早餐食品,早午餐和午餐食品,饮料和即食鸡尾酒。
此外,香颂23街在纽约地区提供企业餐饮服务。我们的企业餐饮专注于会议和工作庆祝活动,提供早餐和午餐盒,牛角面包拼盘,沙拉,帕尔菲,三明治,糖果,蛋糕和饮料。对于特殊活动,我们可以提供带有公司徽标,个人字母或定制口味和颜色的定制蛋糕。
截至2020年12月31日和2019年12月31日的财政年度,来自送货,取货和餐饮服务的收入分别占香颂23街总收入的38.13%和47.39%。
克莱尔制作班
香颂23街每周日下午4点到5点通常提供30分钟的糕点课程,内容是如何填充和装饰Clairs,每人收费29美元。参与者可以从厨师老师那里学习制作黏土的基本技术,也可以带回家与家人和朋友一起品尝。由于COVID-19爆发,香颂23街(Chanson23rd Street)暂停了Clair制作课程。
客户
香颂23街的大部分销售对象是个人客户,香颂23街还为公司客户提供面包和甜点,包括纽约市的咖啡店和咖啡馆。截至2020年12月31日和2019年12月31日的财政年度,香颂23街对个人客户的销售收入分别占总收入的71.17%和53.25%,对公司客户的销售收入分别占总收入的28.83%和46.75%。截至2020年12月31日和2019年12月31日的财政年度,前三名公司客户产生的收入分别约占香颂23街收入的28%和39%。香颂23街(Chanson23rd Street)在2019年加大了开发公司客户的力度,并大大增加了公司客户的收入份额。由于COVID-19爆发的影响,公司客户的发展在2020年放缓。因此,我们预计在不久的将来,对个人客户的销售仍将是香颂23街最重要的销售渠道。
91
竞争
纽约市的烘焙产品和餐厅业务市场竞争激烈,并且分散,许多中小型制造商专门从事各种烘焙产品和餐厅。香颂23街的所有产品都在纽约市销售。我们的主要竞争对手是纽约市的国际和国内知名烘焙连锁店,包括巴黎长棍面包,Maison Kayser和Le Pain Quotidien,以及烘焙产品制造商,包括Grupo Bimbo,S.A.B.de C.V.和桃李面包Co.。此外,我们面临着来自各种本地拥有的餐厅和提供烘焙产品的国家连锁餐厅以及杂货店的外卖选择的激烈竞争。我们主要根据价格,质量,产品差异化,营销策略和营养价值来竞争客户。
供应商
我们根据产品质量和真实性仔细选择供应商,并寻求与他们建立长期关系。每年,我们都会进行严格的选择和评估流程,使我们有机会审查与现有供应商的关系,并探索与经验丰富,专业上值得信赖并努力提供高质量原材料的新供应商的关系。我们已经能够使用从新供应商那里获得的信息来评估我们与当前供应商的协议。我们不参与任何对冲协议来管理我们对食品价格波动的敞口。我们的中国商店和香颂23街分别谈判和管理供应安排。
我们的中国商店在日常业务过程中根据通常为期一年的供应协议形式与供应商签订供应协议。对于某些原材料,例如黄油,我们的供应商以固定价格提供一定数量的原材料,并根据我们的需求分别交付;对于其他原材料,例如鸡蛋,我们的供应商以下订单时确定的价格提供原材料。如果某些进口原材料的价格预计会上涨,供应商将至少提前一个月向我们提供书面通知,然后我们将在价格上涨之前决定是否订购其他原材料。供应商大约每周两次在星期一和星期五向我们的中央工厂交货。供应商交付后,我们的每笔订单付款是根据符合我们验证标准的合格产品的实际数量计算的。通常,我们有一到三个月的时间完成每笔订单的付款。截至2020年12月31日的财政年度,我们在中国商店的主要供应商包括新疆美世福食品有限公司,乌鲁木齐金达食品原料有限公司(以下简称“金达”),乌鲁木齐宇信商贸有限公司,和新疆正大食品有限公司。就该财政年度的货币价值而言,他们的供应分别占我们中国商店总原材料的23%,8%,6%和6%。截至2019年12月31日止财政年度,我们中国商店的主要供应商包括乌鲁木齐智信华嘉商贸有限公司(以下简称“智信华嘉”),金达,乌鲁木齐富康源商贸有限公司(以下简称“富康源”)和乌鲁木齐金茂盛商贸有限公司(以下简称“金茂盛”)。就该财政年度的货币价值而言,他们的供应分别占我们中国商店总原材料的25%,9%,7%和6%。
香颂23街根据其需求向供应商订购原材料,而不是与供应商签订长期供应协议。由于我们与这些供应商的长期业务关系,我们能够确保一致的交付和有竞争力的价格。糖和面粉供应商每周向香颂23街送货,蔬菜和水果供应商每天都这样做。截至2020年12月31日的财政年度,香颂23街的主要供应商包括Dairyland USA Corporation,Paris Gourmet和Baldor。按该财政年度的货币价值计算,他们的供应分别占香颂23街总原材料的29%,18%和15%。截至2019年12月31日的财政年度,香颂23街的主要供应商包括Dairyland USA Corporation,Baldor和Paris Gourmet。按该财政年度的货币价值计算,他们的供应分别占香颂23街总原材料的44%,17%和15%。
食品安全
食品安全对我们的成功至关重要,我们已经建立了程序来帮助确保我们的客户享受安全和优质的食品。
在原材料采购期间,我们的采购团队和合规团队会评估提交的原材料样品的质量和适用性,以及供应商在截止日期之前的能力。我们每年重新评估以前与之合作的供应商,以满足我们不断变化的生产需求。对于在供应给我们的产品中添加添加剂的供应商,我们要求他们保证其产品中的添加剂符合相关法律法规的食品安全要求和标准。我们还定期检查所有原材料的新鲜度,并确保我们的存储条件适当以保持其新鲜度。
92
在实际生产中,我们设计并应用了严格的标准和要求来监督产品配方,产品工艺和生产过程。我们亦定期举办强制性的全公司培训,教导员工如何在不同情况下采取适当的食物安全措施,以及提高他们对整体食物安全的认识和了解。未经培训经理批准,员工不能在生产线或厨房工作。我们的质量控制团队还分析了可能影响产品质量和安全的生产部门,并制定了相应的方法来防止潜在的负面影响。在运输或销售我们的产品之前,我们会根据食品行业标准对其进行严格的最终检查,以确保我们的产品具有高质量和安全的食用。
我们仅在烘焙产品制作之日出售,而便餐和饮料产品是按订单制作的,我们确保及时处置任何未售出或剩余的产品以及未使用的半成品,从而每天为客户提供符合严格食品安全标准的最新鲜的产品。我们还建立了系统和有效的程序,以迅速召回任何对我们的客户造成潜在或现有食品安全问题的产品,这些客户的健康和安全始终是我们最重要的。截至本招股说明书发布之日,我们从未召回过任何产品。为了进一步改善我们的质量和安全控制,我们定期进行客户满意度调查,以从客户的角度了解客户的需求和产品质量。
库存管理
在我们的中国商店和中央工厂,我们建立了政策和管理程序,并成立了一个专家小组,以监督库存团队中的员工并审查他们的工作表现。我们的专家还设计应急计划,以应对库存极低的关键情况,并进行每月审查,以评估通过ERP系统得出的库存帐户与实际剩余库存之间的差异。通过使用基于信息和专业知识的管理方法,我们有信心能够有效地降低成本和生产浪费。
| ● | 对于包装烘焙产品,我们采用基于销售历史的方法来估算生产配额,因为它使我们能够有效解决烘焙产品的短期功能,确保为客户提供新鲜的烘焙产品,并保持生产计划的灵活性,并加强我们有效减少库存的能力;和 | |
| ● | 对于店内糕点和生日蛋糕,我们可以采用基于销售历史的配额估算和及时需求相结合的方法。除了将一定数量的半成品交付给商店外,我们还将原材料交付给商店,因此,如果特定日期有过多或特殊的客户需求,商店员工可以制作额外的蛋糕或进一步装饰已交付的蛋糕。 |
在香颂23街,我们的商店经理或总厨根据他或她的经验和我们产品的近期销售趋势,每周或每天确定要订购的原材料数量。我们通常将库存保持在低位,并依靠供应商的及时交货。我们在每个月底盘点库存,以了解所用原材料的数量。
营销和销售策略
定价与折扣
我们根据各种因素确定产品价格,包括目标客户群的消费力,特定产品的市场需求,产品成本,竞争性产品的价格以及宏观经济环境。如果情况需要,这种方法为我们提供了灵活更改价格的空间,并使我们能够更好地响应客户对价格不断变化的敏感性。这种有利的方法使我们能够(并且我们希望将继续)吸引更多的客户,并加强和进一步扩大品牌忠诚度。我们计划进一步完善我们的计算公式,以确保我们的产品价格准确,谨慎地考虑现有和潜在的市场因素。
93
我们定期设计和执行折扣策略以刺激销售。我们有效地采取了许多折扣策略,包括:在我们的中国商店,(i)会员日,会员每周可享受所有产品原价的12%,(ii)第三方数字平台上的折扣活动,(iii)只可使用浦发银行有限公司及香颂二十三街所发行的信用卡,才可享受折扣优惠,(i)从上午11:30到下午4:30的“一周早午餐”菜单,使我们的客户可以以折扣价同时品尝我们的咖啡和甜点,(ii)“甜点品尝”菜单,可从我们的甜点吧中进行季节性选择,(ii)向附近公司(例如雅诗兰黛和蒂芙尼)的员工提供折扣。
社交媒体
我们在中国和美国的主要社交媒体平台以及我们自己的网站上加强产品的宣传以及其他营销策略的有效性。
对于我们的中国商店,我们在微信上运营一个官方帐户,截至2021年5月,该帐户拥有超过14,400名粉丝,并定期发布有关我们在那里的新产品,折扣活动和品牌发展的信息。
对于香颂23街(Chanson23rd Street),截至2021年5月,我们在Instagram上运营着两个官方帐户,总计拥有超过39,800名粉丝,以及两个Facebook官方帐户,截至2021年5月,拥有超过25,900名粉丝。我们定期发布香颂23街及其产品的图片,详细介绍我们的新产品和促销活动,以吸引潜在客户,并宣传我们作为专门从事甜点制作艺术的现代欧式咖啡馆和餐厅的形象。
自2019年以来,香颂23街与全方位服务的媒体机构Aranka Media Enterprise合作,以加速其品牌增长并改善客户关系。Aranka Media Enterprise负责监督香颂23街的媒体战略和整个在线业务,包括其在数字预订系统,交付平台和社交媒体上的业务。Aranka Media Enterprise还实现了数据收集系统,以提供销售报告和市场分析,这有助于香颂23街发现新的消费趋势并优化实体店面运营。
属性
我们在中国的物业
我们的总部和中心工厂位于新疆乌鲁木齐。根据日期为2020年4月30日的《房屋使用协议》和日期为2020年6月18日的《补充协议》,乌鲁木齐整形医院有限公司是由我们的董事长李刚控制的中国公司,免费为我们的总部提供了约5,382平方英尺的办公空间,为我们的中央工厂提供了10,763平方英尺的办公空间。除非任何一方另有终止,否则协议的期限为2020年1月1日至2028年6月25日。
我们的中心工厂有三条生产线,每周运行40至45小时。我们的中心工厂拥有先进的生产设备,包括打蛋机,打样柜,面团搅拌机,烤箱,热炉和冷藏设施,年烘焙产品生产能力为人民币3,000万元(约合443万美元)。在截至2020年12月31日的财政年度中,我们的中央工厂约占年产能的75%,生产了价值人民币1,520万元(约合233万美元)的烘焙产品和半成品。
我们计划在新疆乌鲁木齐建设新的中心工厂,以扩大我们的生产能力。2021年5月,我们签订了一份意向书,将约54,638平方英尺的建筑空间租赁10年,并支付了人民币574,357元(约合90,000美元)的押金。我们预计将在2021年10月签订租赁协议,并在2021年12月之前完成新中央工厂的建设。新中央工厂的计划投资约为人民币1,790万元(约合280万美元),新中央工厂的设计目标是年产烘焙产品,季节性产品和饮料产品5,000万元(约合785万美元)。我们计划将此次发行的部分净收益用于建设。
我们目前在新疆经营27家商店,单个商店的面积从482平方英尺到2,640平方英尺不等,平均月租金为人民币31,111元(约合4,763美元)。我们从第三方个人和公司租赁所有商店空间,但乌鲁木齐整形医院有限公司根据《房屋使用协议》和《补充协议》免费提供文华的商店空间。
94
下表显示了我们截至2021年5月的中国商店信息:
| 商店 | 城市 | 尺寸(平方英尺) | 已开业 | |||||||
| 1 | 米东 | 乌鲁木齐 | 579 | 2017年4月 | ||||||
| 2 | 德辉万达 | 乌鲁木齐 | 1,111 | 一月2018 | ||||||
| 3 | 昌吉优豪 | 昌吉 | 1,029 | 2015年8月 | ||||||
| 4 | 昌吉惠佳 | 昌吉 | 861 | 2015年9月 | ||||||
| 5 | 洪山 | 乌鲁木齐 | 2,422 | 2017年11月 | ||||||
| 6 | 中阳君 | 乌鲁木齐 | 905 | 2016年十月 | ||||||
| 7 | 北门 | 乌鲁木齐 | 942 | 2018年五月 | ||||||
| 8 | 闽珠 | 乌鲁木齐 | 1,830 | 2014年4月 | ||||||
| 9 | 日月星光 | 乌鲁木齐 | 1,428 | 2014年5月 | ||||||
| 10 | 万延城 | 乌鲁木齐 | 1,152 | 2017年10月 | ||||||
| 11 | 华润万家 | 乌鲁木齐 | 482 | 2015年1月 | ||||||
| 12 | 医学院 | 乌鲁木齐 | 990 | 2017年7月 | ||||||
| 13 | 长春 | 乌鲁木齐 | 1,335 | 2014年3月 | ||||||
| 14 | 汇佳三楼 | 乌鲁木齐 | 920 | 2012年九月 | ||||||
| 15 | 百上 | 乌鲁木齐 | 1,276 | 2019年2月 | ||||||
| 16 | 小西沟 | 乌鲁木齐 | 1,184 | 2019年4月 | ||||||
| 17 | 铁路局 | 乌鲁木齐 | 1,830 | 2019年五月 | ||||||
| 18 | 经济发展万达 | 乌鲁木齐 | 1,253 | 2019年7月 | ||||||
| 19 | 洪山生活方式店 | 乌鲁木齐 | 2,640 | 2019年十一月 | ||||||
| 20 | 南湖 | 乌鲁木齐 | 1,507 | 2020年9月 | ||||||
| 21 | 河北路华润 | 乌鲁木齐 | 1,033 | 2020年10月 | ||||||
| 22 | 德冈万达 | 乌鲁木齐 | 1,163 | 2020年12月 | ||||||
| 23 | 石河子 | 石河子 | 799 | 2014年5月 | ||||||
| 24 | 天白 | 乌鲁木齐 | 807 | 2015年10月 | ||||||
| 25 | 文华 | 乌鲁木齐 | 1,184 | 2012年10月 | ||||||
| 26 | 梅梅 | 乌鲁木齐 | 1,442 | 2012年11月 | ||||||
| 27 | 瑞泰 | 乌鲁木齐 | 1,076 | 2015年5月 | ||||||
根据每份租赁协议的特定条款,租赁期限为一至六年。关于租赁费的支付方式,一些协议要求每月最低租金,通常包括第一年之后的租金上涨,而其余协议规定了每年的固定租金,并要求预付第一年的押金。这些协议通常要求我们支付保险,公用事业,房地产税以及维修和维护费用。终止条款规定了出租人在不同情况下终止租赁协议的权利,包括但不限于不支付租金,未经出租人许可更改租赁空间的目的以及在租赁空间的非法行为。相应地,如果出租人在我们支付租赁费后未提供对租赁空间的访问权限或未正确修复租赁空间的破损区域,则某些租赁协议赋予我们终止协议的权利。
我们在中国的商店和中央工厂的有形财产包括生产,运输和电子设备。
我们在美国的物业
香颂23街(Chanson23rd Street)从2017年1月起向第三方租赁纽约市3,900平方英尺的商店空间,租期为15年,每月租金为50,000美元,并且每年的基本月租金都会增加。该协议要求我们支付保险,公用事业以及维修和维护费用,并从政府机构获得所有必需的许可证和许可证。租约到期后,我们可能会将租约再延长五年。
香颂格林威治(Chanson Greenwich)从第三方租赁纽约市4,140平方英尺的商店空间,租期自2020年7月1日起,为期10年,年租金为385,000美元,自第三年起年度基本租金增加年。该协议要求我们支付保险,公用事业以及维修和维护费用,并从政府机构获得所有必需的许可证和许可证。租约到期后,我们可能会将租约再延长六年。
我们香颂23街的有形财产包括生产,运输和电子设备。
研发
我们销售的很大一部分是由新产品的推出推动的,因此,产品研发现在是并且将继续是我们业务的重要组成部分。我们对新的产品开发采取深思熟虑的方法,主要专注于提高产品的质量,风味,质地,外观和包装,同时调整产品配方和不断发展的生产方法,以满足客户对健康,营养和即食食品的需求。在试验健康食品概念的领域中,例如低碳水化合物、低糖以及高纤维和维生素,我们一直在探索新的产品类别,包括多谷物产品和富含矿物质的产品。
95
我们为中国门店维持内部研发团队,以提高我们的市场研究和客户洞察能力。目前,我们在中国的门店研发团队有六名员工。香颂23街(Chanson23rd Street)于2017年至2019年聘请厨师罗里·麦克唐纳(Rory MacDonald)担任厨师,他之前曾在几家米其林星级餐厅工作,以其六道菜的奥马卡斯式甜点品尝菜单而闻名,并赢得了广泛赞誉。麦当劳大厨在香颂23街的启动阶段帮助开发了香颂23街的大部分维也纳美食和糕点。香颂23街(Chanson23rd Street)自2020年1月以来还聘请了Bertin Boston先生担任面包师总监,他在法国的本地面包店和纽约的Maison Kayser拥有多年的烘焙经验。我们希望投入资源来留住更多合格的员工。我们的研发团队成员经常参加行业会议并与行业专家合作,以开发符合关键客户趋势的产品配方并提高我们的产品质量。我们的管理团队还定期参加日本,美国和欧洲国家的行业展览,以了解最新的行业趋势和发展,加深他们在品牌建设和产品多元化方面的专业知识。
我们对创新的热情和奉献已转化为我们开发和推出新产品并快速将其量产的能力,从而将我们在研发方面的优势转化为我们在烘焙行业的商业竞争优势。自2020年以来,我们在中国商店推出了超过28种新产品,在香颂23街推出了28种新产品。
经过多年的努力,我们还开发了一种系统的方法来完善产品包装。我们通过将自动包装和包装技术与独特的热封功能与时尚的图形设计完美结合,将功能与美学完美结合。
知识产权
商标
我们已在中国的10个类别中注册了我们的品牌名称“George Chanson”作为商标,并在两个类别中注册了我们的徽标作为商标。这些注册使我们能够在这些类别的区域中独家使用该商标。我们已在美国注册了“Chanson”,“Patisserie Chanson”和“Chanson New YorkTM”作为我们的商标。下表总结了我们的商标注册:
我们在中国注册的商标
| 注册编号 | 类别 | 有效期限 | 商标徽标 | |||||
| 1 | 17999111 | 40 | 11/07/2016-11/06/2026 | ![]() |
||||
| 2 | 17999258 | 43 | 11/07/2016-11/06/2026 | ![]() |
||||
| 3 | 17999032 | 31 | 11/07/2016-11/06/2026 | ![]() |
||||
| 4 | 17999068 | 33 | 11/14/2016-11/13/2026 | ![]() |
||||
| 5 | 17998952 | 5 | 11/14/2016-11/13/2026 | ![]() |
||||
| 6 | 17998971 | 29 | 11/14/2016-11/13/2026 | ![]() |
||||
| 7 | 13241648 | 30 | 04/14/2015-04/13/2025 | ![]() |
||||
| 8 | 13241661 | 32 | 04/14/2015-04/13/2025 | ![]() |
||||
| 9 | 13241679 | 39 | 03/28/2015-03/27/2025 | ![]() |
||||
| 10 | 12911052 | 35 | 08/07/2017-08/06/2027 | ![]() |
||||
| 11 | 39954090 | 35 | 10/28/2020-10/27/2030 | ![]() |
||||
| 12 | 39954063 | 30 | 11/07/2020-11/06/2030 | ![]() |
||||
| 13 | 44626303 | 30 | 12/07/2020-12/06/2030 | ![]() |
||||
| 14 | 44629314 | 32 | 12/07/2020-12/06/2030 | ![]() |
||||
| 15 | 44623341 | 33 | 12/07/2020-12/06/2030 | ![]() |
||||
| 16 | 44639541 | 35 | 12/21/2020-12/20/2030 | ![]() |
96
我们在美国注册的商标
| 注册编号 | 注册日期 | 商标徽标 | ||||
| 1 | 5785931 | 六月25,2019 | 香森TM | |||
| 2 | 5768100 | 六月4,2019 | ![]() |
|||
| 3 | 5768096 | 六月4,2019 | ![]() |
我们目前还在美国注册“百里香吧”商标。
域名
我们在中国拥有Internet域名www.xsong.com.cn,在美国拥有www.chanson-international.com,www.patisseriechanson.com和www.thymebarnyc.com。
专利
截至本招股说明书发布之日,我们没有任何专利,也没有申请专利外观设计的注册或任何其他专利保护方式。但是,我们计划就我们独立设计的包装方法和生产方法积极申请专利保护。
员工
截至2020年12月31日,2019年和2018年12月31日,我们在中国分别有272,269和246名员工,在美国分别有18,27和39名员工。下表按业务领域列出了2020年12月31日我们的员工人数:
总部位于中国的员工
| 数量 员工 |
||||
| 管理 | 19 | |||
| 财务 | 13 | |||
| 生产与研发 | 51 | |||
| 一般与行政 | 6 | |||
| 物流 | 9 | |||
| 市场营销与销售 | 174 | |||
| 总计 | 272 | |||
97
总部位于美国的员工
| 员工人数 | ||||
| 管理 | 4 | |||
| 烹饪和烘焙 | 7 | |||
| 一般商店经营 | 7 | |||
| 总计 | 18 | |||
雇佣协议,不竞争和机密性
通常,我们与中国的高级管理人员,经理和其他员工签订标准雇佣协议,并与美国的员工签订随意的雇佣协议。根据这些协议中的不竞争和保密条款,我们要求高级管理人员和关键员工,特别是那些有机会处理我们的商业秘密和其他知识产权,与我们签订单独的不竞争广告保密协议的人。
不竞争和保密协议禁止员工在受雇于我们期间从事任何其他工作,也禁止代表自己或任何第三方征求我们的客户。这些协议限制员工发表任何可能损害我们声誉的评论。这些协议进一步禁止员工向任何第三方披露有关我们的业务,运营,发展和战略的任何信息和知识,包括商业秘密和客户信息,只要他们在任职期间获得了这些信息和知识在公司。禁止雇佣协议未续签的中国商店的员工在离开我们后的两年内为竞争对手工作。员工秘密保守我们的商业秘密的义务在其雇佣协议终止或到期后仍然有效。
职业健康与安全
我们履行法律责任,通过提供符合适用劳动和卫生标准的安全工作场所,控制健康风险,来保护员工的健康和安全,并确保我们的工厂和机械是安全的,并确保建立和遵守安全生产制度和准则。我们还确保危险物品和物质的运输,存储和使用安全,提供足够的福利设施,为员工提供维护其健康和安全所需的信息,指导,培训和监督,并就健康和安全事宜与员工进行协商。
一般而言,我们认为与员工的关系良好。
季节性
对于我们在中国商店和香颂23街出售的烘焙产品以及香颂23街提供的餐饮服务,我们的销售没有明显的季节性波动,因为客户通常每天都会消费这些产品。关于我们在中国的商店和香颂23街出售的饮料产品,由于客户需求增加,我们过去经历过,并且希望将来继续经历夏季更高的零售额。关于中国商店销售的季节性产品,由于客户对这些季节性产品作为礼物和个人需求的增加,我们过去经历过,并且希望将来继续经历零售的季节性波动。节日期间的消费。从历史上看,我们在端午节和中秋节之前的一两个月内产生了几乎所有季节性产品的零售额,分别发生在一年的第二季度末和第三季度初。
法律程序
我们目前不是任何重大法律程序的当事方。但是,在日常业务过程中,我们可能会不时受到各种索赔和法律诉讼。
98
法规
本节概述了与我们在中国和美国的业务和运营有关的主要法律法规。
中国法规
食品生产经营管理条例
食品安全
《中华人民共和国食品安全法》(以下简称“《食品安全法》”)由全国人民代表大会常务委员会(以下简称“SCNPC”)于2009年2月28日颁布,并于4月24日修订。2015年和2018年12月29日。食品安全法是为了保障食品安全,保障人民群众的身体健康和生命安全而制定的。在中国境内从事食品生产加工、食品流通和食品储运的,依照本法的规定办理。根据《食品安全法》,食品生产企业和食品经营者应当对食品消费者的安全负责,遵守食品安全标准,并满足具体要求。
《食品安全法》建立了食品制造和食品经营许可证制度,这意味着从事食品制造,食品销售和食品饮料服务的人员必须获得许可证。根据中国国务院于2009年7月20日颁布并于2016年修订的《食品安全法实施条例》,食品生产许可证的有效期为三年。《食品安全法实施条例》于2019年修订,规定食品生产许可证自2019年12月1日起有效期为五年。
食品生产许可证和食品经营许可证
《食品生产许可管理办法》或“食品生产许可办法”由国家食品药品监督管理总局或“CFDA”于2015年8月31日颁布,并于2017年11月7日和12月23日进行了修订,2019。根据《食品生产许可办法》,企业在中国境内从事食品生产活动,应当取得《食品生产许可证》。食品生产许可实行一户一证的原则,市场监督管理部门根据食品风险程度,对食品生产实行分类许可。食品生产企业在申请食品生产许可证时,应当有与生产食品的种类和数量相适应的原料搬运场所、食品加工、包装、贮存场所和生产设备或者设施,以及合理的设备布局和生产工艺,以及法律法规要求的其他条件。我们的中国子公司新疆和睦家已获得食品生产许可证,使我们能够生产烘焙产品。许可证将于2021年9月28日到期,我们将在到期日前30个工作日提出续签请求。一般来说,只要一个商业实体合法经营,信誉良好,其续展申请就会获得批准。
CFDA于2015年8月31日颁布了《食品企业许可管理办法》或“食品企业许可措施”,并于2017年11月7日和2019年12月23日进行了修订。根据《食品经营许可办法》,企业在中国境内从事食品销售和餐饮服务,必须取得《食品经营许可证》。食品经营许可实行一户一证的原则。食品经营者申请食品经营许可证,应当符合法律、法规规定的条件,包括但不限于对食品加工、储存、销售场所、经营设备设施、食品安全管理人员、食品安全保障规章制度的要求,合理的设备布局和工艺流程。
99
新疆和睦家的三个分支机构已获得食品经营许可证,尽管某些UFG实体在开业时尚未获得食品经营许可证,但截至本招股说明书发布之日,所有23个UFG实体均已获得当前有效的食品经营许可证,使我们可以零售烘焙产品以及商店生产的饮料和果汁产品。根据《食品安全法》,这些实体在开业时未获得食品经营许可证,可能会导致没收其非法收入,非法经营产生的食品,以及用于非法活动的工具,设备和成分。违法经营的食品价值在一万元人民币(约一千四百四十六美元)以下的,处五万元人民币(约七千二百三十一美元)以上十万元人民币(约一万四千四百六十美元)以下的罚款;食品价值在一万元人民币(约一千四百四十六美元)以上的,处以食品价值10倍以上20倍以下的罚款。尽管我们没有收到任何警告通知,也没有受到相关政府机构的处罚或其他处罚,例如在没有上述许可的情况下开展业务的收入没收,我们无法向您保证,我们将来不会受到任何处罚。我们将在这些许可证的到期日前30个工作日提出续签请求。一般而言,只要业务实体合法运营且信誉良好,其续签请求就会获得批准,但我们无法向您保证我们将来能够续签此类许可证。
员工健康检查系统和健康档案系统
根据《食品安全法》和《食品安全法实施条例》,食品制造商和食品经营者必须建立和实施员工健康检查制度和健康记录制度。患有国务院卫生行政部门规定的可能造成食品安全问题的疾病的人员,不得从事与即食食品接触的工作。食品生产、经营人员应当每年进行健康检查,取得健康证明后方可上岗。我们建立了员工健康检查系统和健康记录系统,我们的员工已按要求获得了健康证书。我们的员工健康检查系统和健康记录系统每年更新一次,未经首先获得有效期为一年的健康证书,任何员工都不得在我们的中国商店或中央工厂工作。
采购检查记录系统和食品检查系统
根据《食品安全法》和《食品安全法实施条例》的规定,食品生产企业和食品经营者在采购食品配料、食品添加剂、食品相关产品和食品时,应当审查供应商的有关许可证和资格证明文件。无相关资格证明文件的,应当按照食品安全标准对食品配料、食品添加剂、食品相关产品、食品进行检验,不符合本标准的,不得采购、使用。食品生产企业和食品经营者应当建立采购食品配料、食品添加剂、食品相关产品、食品的检验备案制度,并如实记载名称、规格、数量、生产日期或者批号、保质期和采购日期,食品配料、食品添加剂、食品相关产品和食品的供应商名称及联系方式,并保留相关证书。采购的食品配料、食品添加剂、食品相关产品、食品的检验记录应当真实,自产品保质期届满之日起至少保存六个月。如果没有保质期,则记录和证书应至少保存两年。食品生产企业还应当建立出厂食品检验记录制度,对出厂食品检验证书和安全状况进行核查,如实记录。我们已经建立了记录系统,目前正在遵守相关的法律要求。
食品召回制度
根据《食品安全法》和《食品安全法实施条例》,中国建立了食品召回制度。CFDA于2015年3月11日颁布了《食品召回管理办法》,该办法于2015年9月1日生效。《食品召回管理办法》对食品召回制度作出了详细规定。食品生产企业发现其生产的食品不符合食品安全标准的,应当立即停止生产,从市场上召回食品,通知有关食品经营者和消费者,并记录召回和通知的情况。食品经营者发现经营食品不符合食品安全标准的,应当立即停止经营,通知有关食品经营者和消费者,并记录停止经营和通知的情况。食品生产企业认为需要召回的,应当立即召回。食品生产企业和食品经营者应当对召回食品实施无害化处理和销毁措施,防止召回食品重新流入市场,并向县级以上食品药品监督管理局当地分局报告召回和处理情况。
100
污染物排放许可证
于2015年1月1日生效的《中华人民共和国环境保护法》第45条规定,企业,事业单位,在中国境内实施排污许可证管理的其他生产经营者,应当按照排污许可证的要求排放污染物;未取得排污许可证的,不得排放污染物。同时,根据《固定污染源排放许可证分类管理清单(2019年版)》的相关规定,对污染物排放许可证实行了重点管理、简化管理和登记管理。实行登记管理的排污单位不需要申请排污许可证,但应当在国家排污许可证管理信息平台上填写排污登记表。根据我们中心工厂的情况,以及我们的生产设备和生产过程,至少需要进行污水登记。截至本招股说明书日期,我们仍在申请污水注册。因此,我们可能会因未获得排污许可证或未填写排污登记表而排放污染物而受到环境保护部门或其他相关部门的行政处罚。
根据《中华人民共和国环境保护法》第六十三条,企业事业单位和其他生产者、经营者违反本法规定,未取得排污许可证排放污染物的,责令停止排放污染物,拒不执行,尚不构成犯罪的,依照有关法律、法规的规定处罚,县级以上人民政府环境保护部门或者其他有关部门应当将案件移送公安机关。对直接负责的主管人员和其他直接责任人员,处十日以上十五日以下拘留;情节较轻的,处五日以上十日以下拘留。
产品质量管理规定
在中国,缺陷产品的制造商和销售商可能会对此类产品造成的损失和伤害承担责任。根据1993年2月22日颁布并于2000年7月8日,2009年8月27日和2018年12月29日修订的《中华人民共和国产品质量法》或“产品质量法”,制造商和卖方对产品质量负责。
根据《产品质量法》,制造商和销售商应建立完善的内部产品质量控制体系。禁止在生产、销售的产品中掺假、掺杂不正当成份,以假乱真,以次充好。不合格产品不得作为不合格产品销售。产品不得对人身安全或者财产安全造成不合理的危害。有保护健康、人身安全和财产安全的国家标准或者行业标准的,应当遵守。生产企业不得生产国家规定应当淘汰的产品。制造商不得伪造产品原产地或伪造或模仿其他工厂的名称或地址。卖方应采取措施保持所售产品的质量。销售者不得销售国家规定应当淘汰、停止销售的产品,不得销售过期、变质的产品。
1993年10月31日颁布,2013年10月25日修订并于2014年3月15日生效的《中国消费者保护法》也为客户提供了食品安全方面的保护。食品经营者应当保证商品在正常使用状态下的必要质量、功能、使用和保质期,但消费者在购买商品前知道有缺陷,且该缺陷不违反法律强制性规定的除外。食品经营者通过广告、产品展示、实际样品或者其他方法展示其商品或者服务质量的,应当保证其商品的实际质量与展示的质量相一致。
产品责任规定
SCNPC于2009年12月26日颁布并于2010年7月1日生效的《侵权责任法》规定,如果产品因其缺陷而危及生命或财产,则制造商和分销商应承担侵权责任。
根据《产品质量法》,如果因缺陷产品造成人身伤害,制造商或销售商应向受害者支付医疗费,治疗期间的护理费以及因缺勤而造成的收入损失。因人身伤害致残的,制造者或者销售者还应当承担自给设备的费用、生活补助费、残疾人补偿费和残疾人供养所必需的生活费用。因缺陷造成死亡的,应当由制造者或者销售者支付丧葬费、赔偿金和死者赡养人的生活费用。缺陷产品造成财产损失的,制造者或者销售者应当恢复原状或者赔偿折旧价。受害方因此遭受其他重大损失的,也应当赔偿损失。主管部门应下令停止生产或销售,没收非法生产或销售的产品,处以罚款,并没收非法所得(如有)。情节严重的,吊销营业执照。构成犯罪的,依法追究刑事责任。
101
互联网广告法规
国家工商行政管理总局于2016年7月4日发布并于2016年9月1日生效的《互联网广告管理暂行办法》适用于在互联网上发布的所有广告,包括但不限于文本形式的广告,图像,音频,以及通过网站,网页和应用程序发布的视频。互联网广告经营者、发布者(一)不得为其知道或者应当知道的虚假广告设计、制作、提供代理服务或者发布广告;(二)建立审查备案管理制度,检查核实有关证明文件,检查广告内容;(三)不得为内容不真实或者无充分证明文件的广告设计、制作、代理或者发布广告。
有关信息安全和隐私保护的法规
从国家安全的角度来看,中国的互联网内容受到监管和限制。2000年12月28日,SCNPC颁布了《关于维护互联网安全的决定》,随后于2009年8月27日进行了修订,(一)利用互联网销售假冒伪劣产品或者对商品、服务进行虚假宣传的;(二)以损害商业信誉为目的使用互联网的和任何其他人的产品声誉;(3)使用互联网侵犯任何人的知识产权;(4)使用互联网制造和传播虚假信息影响证券期货交易或者以其他方式危害金融秩序的;(五)在互联网上创建色情网站或者网页,提供色情网站链接,传播淫秽书刊、电影、音像制品或者图片的。根据公安部(以下简称“MPS”)于1997年12月16日颁布,后经修订并于2011年1月8日生效的《与互联网连接的计算机信息网络安全保护管理办法》,禁止以除其他外会导致泄露国家秘密或传播破坏社会稳定的内容的方式使用互联网。2005年12月13日,MPS颁布了《保护互联网安全技术措施规定》,要求互联网服务提供商采取适当措施,包括防病毒,数据备份和其他相关措施,记录有关其用户的某些信息(包括用户注册信息、登录和退出时间、IP地址、内容以及用户发帖的时间)至少60天,并检测非法信息,停止此类信息的传输,并保留相关记录。互联网信息服务提供者违反本办法规定的,公安部和当地公安机关可以建议原发证机关吊销其经营许可证,关闭其网站。根据2007年6月22日发布的《国会议员,国家保密局,国家密码管理局和国务院新闻办公室关于印发信息安全分级保护管理办法的通知》,国家应,通过制定全国有效的信息安全分级保护行政规范和技术标准,组织公民、法人和其他组织对信息系统进行分级保护,对分级保护工作进行监督管理。信息系统的安全防护等级可分为五个等级。新建二级以上信息系统,其操作人员或者用户应当自信息系统投入运行之日起30日内,向所在地设区的市级公安机关办理备案手续。
知识产权条例
商标
商标受1982年8月23日通过并随后于1993年2月22日,2001年10月27日和2013年8月30日修订的《中国商标法》以及国务院通过的《中国商标法实施条例》的保护。2002年8月3日,并于2014年4月29日和2019年4月23日修订。国家市场监督管理总局中国商标局处理商标注册,并授予注册商标10年的期限,如果在第一个或任何续签的10年期限届满后提出要求,则再授予10年的期限。商标许可协议必须向中国商标局备案。《中国商标法》在商标注册方面采用了“先申请”原则。被注册商标与已经注册或者初步审定用于同类或者类似商品或者服务的其他商标相同或者近似的,该商标的注册申请可以驳回。任何人申请商标注册均不得损害他人首先获得的现有权利,也不得事先注册已由另一方使用并已通过该方获得“足够程度的声誉”的商标。使用。收到申请后,如有关商标通过初步审查,中国商标局将予以公告。在本公告发布后的三个月内,任何享有优先权的人和任何利害关系方都可以对该商标提出异议。可以就中国商标局关于驳回,异议或取消申请的决定向中国商标评审委员会提出上诉,该委员会的决定可以通过司法程序进一步上诉。如果在公告后三个月内未提出异议,或者异议被驳回,中国商标局将批准注册并颁发注册证,届时,除非另有撤销,否则该商标将被视为已注册,有效期为可延长的10年。许可人对注册商标的许可使用,应当向中国商标局备案,由中国商标局予以公告。未取得注册商标许可的,不得对抗善意的第三人。截至2021年5月,我们在中国拥有16个注册商标并享有相应的权利。
102
版权
根据SCNPC于1990年9月7日颁布,最近于2010年2月26日修订并于2010年4月1日生效的《中华人民共和国著作权法》,中国公民,法人或其他实体在其作品中拥有版权,无论是否出版,包括书面作品、口头作品、音乐、喜剧、谈唱艺术、舞蹈和杂技、艺术和建筑作品、摄影作品、电影作品和用类似于电影制作方法的方法创作的作品、工程设计图、产品设计图、地图,法律、行政法规规定的素描等图形作品和模型作品、计算机软件及其他作品。著作权人享有的权利包括但不限于下列人身权和财产权:出版权、署名权、修改权、整体权、复制权、发行权、租赁权、网络传播权、翻译权和编译权。
根据国务院于2001年12月20日颁布并于2013年1月30日修订的《计算机软件保护条例》,中国公民,法人或其他实体拥有版权,包括发布权,署名权,修改权,软件著作权人对其开发的软件享有复制权、发行权、租赁权、网络传播权、翻译权和其他权利,无论该软件是否已经发布。根据国家版权局于1992年4月6日发布并于2002年2月20日修订的《计算机软件著作权登记办法》,对软件著作权、软件著作权专有许可合同和软件著作权转让合同进行登记,国家版权局为软件著作权登记管理的主管部门,中国著作权保护中心为软件登记管理机构。中国著作权保护中心对符合有关规定的计算机软件著作权申请人颁发注册证书。
域名
根据工业和信息化部(“工信部”)于2017年8月24日发布并于2017年11月1日生效的《互联网域名管理办法》,《中国互联网络信息中心域名注册实施细则》由中国互联网络信息中心(以下简称“CNNIC”)于2012年5月28日发布,并于2012年5月29日生效,以及CNNIC于2014年9月1日发布并于同日生效的《中国互联网络信息中心域名争议解决办法》,域名注册由根据相关规定设立的域名服务机构处理,申请人注册成功后成为域名持有人,域名争议应提交中国互联网络信息中心授权的机构解决。
根据工信部于2017年11月27日发布并于2018年1月1日生效的《工业和信息化部关于规范互联网信息服务中域名使用的通知》,互联网接入服务提供者应当核实各互联网信息服务提供者的身份,不得向未提供真实身份信息的互联网信息服务提供者提供服务。
103
关于专利的规定
根据SCNPC于1984年3月12日颁布,最近于2008年12月27日修订并于2009年10月1日生效的《中华人民共和国专利法》或“专利法”,以及《专利法》的实施规则中国,国务院于2001年6月15日发布,最近于2010年1月9日修订,中国有三种专利:发明专利,实用新型专利和外观设计专利。发明专利的保护期为20年,实用新型专利和外观设计专利的保护期为10年,自申请之日起计算。未经专利权人事先授权,利用专利或者进行其他侵犯专利活动的个人或者单位,应当向专利权人支付赔偿,并由有关行政机关处以罚款;构成犯罪的,应承担刑事责任。如果专利由两个或多个共同所有人拥有,而未就专利的任何共同所有人的利用产生的收入分配达成协议,则该收入应在所有共同所有人之间分配。
由于各种原因,包括缺乏新颖性,创造性和专利申请中的缺陷,现有专利可能变得狭窄,无效或无法执行。在中国,专利必须具有新颖性、创造性和实用性。专利法所称新颖性,是指在专利申请提出前,同一发明或者实用新型没有在中国境内或者境外的出版物上公开披露,或者以其他方式公开使用或者公之于众,无论是在中国境内还是境外,也没有其他人向专利主管部门提交描述相同发明或实用新型的申请,并记录在申请日之后发布的专利申请文件或专利文件中。创造性是指与现有技术相比,发明具有显著的实质特征并代表显著的进步,而实用新型具有显著的特征并代表任何进步。实际应用是指一项发明或实用新型可以被制造或使用,并且可以产生积极的效果。中国的专利是向国家知识产权局或“SIPO”提交的。”通常,SIPO会在提交日期后的18个月内发布发明专利申请,可以应申请人的要求缩短。申请人必须在申请之日起三年内向国家知识产权局申请进行实质性审查。
公司设立条例
在中国成立,运营和管理公司受《中国公司法》或“公司法”的约束,该法律由SCNPC于1993年12月29日颁布,于1994年7月1日生效,随后于1999年修订,2004年,2005年,2013年和2018年。根据《公司法》,在中国成立的公司可以是有限责任公司,也可以是股份有限公司。公司法既适用于国内公司,也适用于外商投资公司。
2019年3月15日,全国人民代表大会批准了《中华人民共和国外商投资法》或《外商投资法》,该法于2020年1月1日生效,同时废除了《中华人民共和国中外合资经营企业法》合资企业,《中华人民共和国外商独资企业法》和《中华人民共和国中外合作经营企业法》。《外商投资法》对外商投资采取事前国民待遇和负面清单的管理制度。扶持企业的政策,依照法律、法规的规定,平等适用于外商投资企业。保证外商投资企业平等参与标准制定,平等适用国家制定的强制性标准。保护外商投资企业参与政府采购活动的公平竞争。《外商投资法》还规定了对知识产权和商业秘密的保护。此外,《中华人民共和国外商投资法实施条例》自2020年1月1日起生效。
国家市场监督管理总局于2019年12月31日发布了《关于实施外商投资法和外商投资企业登记的通知》。根据该通知,国家市场监督管理总局进行工商登记,申请人应当通过企业登记系统申请外商投资企业登记。登记机关应当对有关申请材料进行形式审查。外国投资者或者外商投资企业在负面清单以外的领域投资的,应当按照内外资一致的原则进行登记。
商务部于2019年12月19日通过了《外商投资信息报告办法》,经国家市场监督管理总局批准,并于2020年1月1日生效。根据本办法,外国投资者直接或者间接在中国境内进行投资活动的,外国投资者或者外商投资企业应当按照本办法向商务主管部门报送投资信息。
104
外国投资法规
外国投资者在中国的投资活动主要受商务部和国家发展和改革委员会(“发改委”)不时颁布和修订的《外商投资产业指导目录》的约束,该目录后来分为两个法律文件,包括《鼓励外商投资产业目录》或“鼓励目录”以及《外国投资准入特别管理措施》(负面清单)或“负面清单”。”当前的鼓励目录和负面清单均由商务部和国家发改委于2019年6月30日发布,并于2019年7月30日生效。被列入负面清单的行业分为两类:限制类和禁止类。未在负面清单中列出的行业通常构成“允许”,除非受到其他中国法规的特别限制,否则对外国投资开放。对于受限制的行业,一些仅限于股权或合同合资企业,而在某些情况下,中国合作伙伴必须在此类合资企业中持有多数股权。此外,受限类别的项目还需要获得更高级别的政府批准。外国投资者不得投资被禁止投资的行业。最新的负面清单由商务部和国家发改委于2020年6月30日发布,并于2020年7月23日生效。根据当前和更新的负面清单,烘焙产品的制造和销售是外国投资准入的鼓励行业。
外汇法规
国家外汇管理局
根据国务院于1996年1月29日颁布的《中华人民共和国外汇管理条例》,该条例于1996年4月1日生效,并于1997年1月14日和2008年8月1日进行了修订(该修正案于2008年8月5日生效),在中国境内进行的交易的付款必须以人民币支付。中国公司或个人可以将在海外收到的外汇收据汇回或存入海外。人民币可自由兑换为经常账户项目,包括股息分配,利息支付,与贸易和服务相关的外汇交易,但不能兑换为资本账户项目,例如直接投资,贷款,投资遣返和境外证券投资中国,除非事先获得国家外汇管理局的批准并事先在国家外汇管理局进行了注册。经常项目下的外汇收入可以保留,也可以出售给从事结售汇的金融机构。对于资本账户下的外汇收益,通常需要获得国家外汇管理局的批准,才能将这些收益保留或出售给从事外汇结算和出售的金融机构。
外国投资
根据国家外汇管理局于2013年5月10日发布的《外国投资者在中国直接投资外汇管理规定》,依法设立外商投资企业后,应向国家外汇管理局办理注册手续。外商投资企业发生增资、减资、股权转让等后续资本变动的,应当向外汇局办理登记变更手续。
根据国家外汇管理局于2012年11月19日发布并于2015年5月4日进一步修订的《国家外汇管理局关于进一步完善和调整直接投资外汇管理政策的通知》或“国家外汇管理局第59号通知”,以及2018年10月10日和2019年12月30日,开设外汇账户并将外汇存入与直接投资有关的账户无需批准。国家外汇管理局第59号通知还简化了外国投资者收购中国公司股权所需的外汇相关登记,并进一步完善了外商投资企业外汇结算管理。
105
国家外汇管理局于2015年3月30日发布并生效的《国家外汇管理局关于改革外商投资企业外汇资金结算管理方式的通知》或“国家外汇管理局第19号通知”于2015年6月1日生效,规定外商投资企业可以根据实际经营需要,与银行结算其资本账户中有关外汇管理部门已确认货币出资权益(或银行已注册将货币出资注入该账户)的外汇资本部分。根据国家外汇管理局第19号通知,目前,允许外商投资企业自行结汇100%;外商投资企业应当如实使用其资本金为经营范围内的经营目的;普通外商投资企业以结汇金额进行境内股权投资的,被投资企业应当先办理境内再投资登记,并在其注册地外汇管理局或银行开立相应的结汇待付账户。
海外投资和融资及往返投资
根据国家外汇管理局于2014年7月4日发布并生效的国家外汇管理局第37号通知,中国居民必须在建立或控制离岸SPV之前向当地国家外汇管理局分支机构注册,定义为由中国居民直接设立或间接控制的离岸企业,以其在中国持有的企业资产或权益进行离岸股权融资。如果离岸公司的基本信息发生任何变化或离岸公司的资本发生任何重大变化,则该中国居民也需要修改注册或随后向当地国家外汇管理局分支机构备案。同时,国家外汇管理局发布了《关于外汇管理与往返投资有关问题的操作指南》,涉及国家外汇管理局第37号通知下的国家外汇管理局注册程序,该指南于2014年7月4日生效,作为国家外汇管理局第37号通知的附件,并就如何根据国家外汇管理局第37号通知完成所需的注册提供了详细的运营指导。根据国家外汇管理局发布并于2015年6月1日生效的《关于进一步简化和完善直接投资外汇管理政策的通知》或“国家外汇管理局第13号通知”,取消境内直接投资和境外直接投资外汇登记的行政审批,简化外汇登记手续。投资者应当向银行办理境内直接投资和境外直接投资登记。
截至本招股说明书发布之日,我们所有中国居民的实益股东均已根据国家外汇管理局第37号通函完成注册。
股利分配
根据《公司法》,《外商投资法》和《外商投资法实施条例》,在中国的外商独资企业只能从其根据中国会计准则和准则确定的累计税后利润(如有)中支付股息。法规。根据《外国投资法》和《外国投资法实施条例》,外国投资者的投资,利润,资本收益,资产处置收入,知识产权许可费,依法获得的补偿或赔偿以及清算收入等,可以人民币或外币自由汇入或汇出中国。此外,根据《公司法》,中国的外商独资企业必须每年至少分配其各自累计利润的10%(如有)来为某些储备金提供资金,直到这些储备金达到注册资本的50%为止企业的资本。外商独资企业可以根据中国会计准则酌情将其税后利润的一部分分配给职工福利和奖金。这些准备金不能作为现金股利分配。请参阅“风险因素-与在中国开展业务有关的风险-我们的中国子公司在向我们支付股息或其他付款方面受到限制,这可能会对我们开展业务的能力产生重大不利影响。”
关于并购的规定
2006年8月8日,中国证监会、商务部、国有资产监督管理委员会、国家税务总局、国家工商行政管理总局、国家外汇局等6个监管机构通过了《企业并购管理规定》,该规定自2006年9月8日起施行,并于2009年6月22日进行了修订。外国投资者购买境内公司股权或者认购境内公司增资,将境内公司性质变更为外商投资企业的,应当遵守并购规则,当外国投资者在中国建立外商投资企业,购买国内公司的资产并经营资产时,或当外国投资者购买国内公司的资产时,通过注入此类资产建立外商投资企业时,并经营资产。境内公司、企业或者自然人以境内公司、自然人企业依法设立或者控制的境外公司名义并购境内有关联方关系的公司的,并购行为须经商务部审查批准。当事人不得利用外商投资企业的境内投资或者其他方式规避审批要求。
根据商务部于2008年12月18日发布并生效的《外国投资准入管理指南手册》,尽管(i)国内股东与外国投资者有关联或没有关联,(ii)外国投资者是现有股东或新投资者,并购规则不适用于将注册成立的外商投资企业的股权从国内股东转让给外国投资者。
106
关于税收的规定
企业所得税
根据SCNPC于2007年3月16日颁布的《企业所得税法》,该法于2008年1月1日生效,随后于2017年2月24日和2018年12月29日进行了修订,以及《企业所得税法》的实施细则中国,或国务院于2007年12月6日发布并于2008年1月1日生效的《实施细则》,将企业分为居民企业和非居民企业。居民企业在中国境内外取得的收入,按25%的税率缴纳企业所得税。非居民企业在中国境内设立机构的,对该机构在中国境内外取得的收入,按25%的税率缴纳企业所得税。在中国没有机构的非居民企业,以及与其在中国的机构没有实质性联系的收入的非居民企业,应按降低的10%的税率对其在中国获得的收入缴纳企业所得税。在中国境外成立且其“事实上的管理机构”位于中国境内的企业被视为“居民企业”,这意味着出于企业所得税目的,可以以类似于中国国内企业的方式对待它。《企业所得税法》的实施规则将“事实上的管理机构”定义为在实践中对企业的生产和运营,人员,会计和财产进行“实质性和全面管理和控制”的管理机构。出于中国税收目的,本公司及其离岸子公司很可能被视为非居民企业。请参阅“材料所得税注意事项-中华人民共和国中华企业税”。”
截至2018年12月31日止年度,新疆和睦家及其两个分支机构符合小型微利企业的资格;截至2019年12月31日止年度,新疆和睦家及其所有三个分支机构均符合小型微利企业的资格。根据《企业所得税法》,并根据财政部或“财政部”和国家税务总局于2018年7月11日发布的《关于进一步扩大小型微利企业所得税优惠政策范围的通知》,截至2018年12月31日止年度,企业符合一定条件,被认定为小型微利企业的,其应纳税所得额不超过人民币100万元的,减按10%的税率征收。根据国家税务总局于2019年1月18日发布的《关于2019年1月1日至2021年12月31日对小型微利企业实施普惠性所得税减免政策有关问题的公告》,其应纳税所得额不超过人民币100万元的部分按5%的税率降低,而人民币100万元至300万元之间的部分按10%的税率降低。
个体工商户的个人所得税
UFG实体是个人拥有的企业,不受《企业所得税法》的约束。国家税务总局于2014年12月19日通过了《个体工商户个人所得税计算办法》或“办法”,并于2014年12月27日颁布。根据《办法》第七条规定,个体工商户的生产经营所得,其应纳税所得额为各纳税年度的收入总额减去成本、费用、税金、亏损和其他支出后的余额,以及前几年损失的允许补偿,通常按当地税务机关评估的被视为TNI的一定百分比按固定税率征收所得税。截至2020年12月31日止年度,11家UFG实体应按TNI的1%缴纳每月人民币33,000元至120,000元的所得税。截至2019年12月31日止年度,八个UFG实体应缴纳的所得税为TNI的1%或1.5%,每月为人民币15,000元至人民币123,600元。UFG的其余实体免征所得税。
增值税
根据国务院于1993年12月13日颁布并于1994年1月1日生效并于11月10日修订的《中华人民共和国增值税暂行条例》或“增值税条例”,分别于2008年,2016年2月6日和2017年11月19日,以及财政部于1993年12月25日颁布并分别于2008年12月15日和2011年10月28日修订的《中华人民共和国增值税暂行条例实施细则》,以及销售商品或加工劳务的个人,中华人民共和国境内修理、更换、出售服务、无形资产、不动产或者进口货物,是增值税的纳税义务人。除另有规定外,销售货物、劳务、有形动产租赁服务或者进口货物的,按17%的税率征收增值税;销售运输服务、邮政服务、基础电信服务、建筑服务、不动产租赁服务、销售不动产、转让土地使用权的,按11%的税率征收增值税,除另有规定外,在规定范围内销售或者进口的;纳税人销售服务或者无形资产,不属于其他规定范围的,按6%计算。
根据国家税务总局和财政部于2018年4月4日发布的《关于调整增值税税率的通知》,纳税人进行增值税应税销售或进口货物的,适用税率应从17%调整为16%。分别从11%和10%。随后,国家税务总局,财政部和海关总署于2019年3月20日发布了《关于深化增值税改革政策的通知》,并于2019年4月1日生效,该通知进一步调整了适用税率。纳税人进行增值税应税销售或进口货物。适用税率应分别从16%调整为13%和从10%调整为9%。
在2019年4月之前,新疆和睦家及其分支机构为制造和销售烘焙产品缴纳16%的增值税。目前,新疆和睦家及其分支机构正在为生产和销售烘焙产品缴纳13%的增值税。UFG实体之一目前正在按3%的税率缴纳增值税,其余UFG实体免征所得税。
107
附加税
在2021年9月1日之前,国务院于1985年2月8日颁布并于2011年1月8日修订的《中华人民共和国城市维护和建设税暂行条例》(以下简称“暂行条例”)管辖支付城市维护和建设税。根据暂行条例,凡缴纳消费税、增值税、营业税的单位和个人,均为城市维护建设税的纳税人,应当按照本条例的规定缴纳城市维护建设税。全国人民代表大会常务委员会于2020年8月11日通过了《中华人民共和国城市维护与建设税法》,该法将于2021年9月1日后生效。根据这部法律,城市维护和建设税以纳税人实际缴纳的增值税和消费税为基础。因此,如果免征增值税,城市建设税也将免征。
国务院于1986年4月28日发布了《征收教育附加费暂行规定》,并于1990年6月7日,2005年8月20日和2011年1月8日进行了修订。根据暂行规定,教育附加费按各单位和个人实际缴纳的增值税、营业税、消费税计算征收。教育附加费税率为3%,与增值税、营业税、消费税同时缴纳。
财政部和国家税务总局于2016年1月29日发布了《关于扩大相关政府性基金豁免范围的通知》(以下简称“通知”),并于2016年2月1日起实施。根据通知,经国务院批准,免除教育附加费的范围,地方教育附加费,并将水利建设资金从月销售额或营业额不超过人民币30,000元(按季度支付的季度销售额或营业额不超过人民币90,000元)的付款人扩大到人民币100,000元(按季度支付的季度销售额或营业额不超过人民币300,000元)。
目前,新疆和睦家及其分支机构和UFG实体之一按7%的税率缴纳城市维护建设税,按3%的税率缴纳教育附加费,按2%的税率缴纳地方教育附加费。UFG的其余实体免征此类附加税。
股息预扣税
《企业所得税法》规定,自2008年1月1日起,向在中国没有营业所或营业地的非中国居民投资者宣派的股息通常适用10%的所得税率,或具有该营业场所或营业地点,但相关收入与该营业场所或营业地点没有有效联系,但该股息来自中国境内的来源。
根据《双重避税安排》和其他适用的中国法律,如果中国主管税务机关确定香港居民企业已满足该双重避税安排和其他适用法律的相关条件和要求,香港居民企业从中国居民企业收取的股息的10%预扣税可降低至5%。但是,根据国家税务总局于2009年2月20日发布的国家税务总局第81号通知,如果相关的中国税务机关酌情决定,由于主要是税收的结构或安排,公司从这种降低的所得税率中受益-驱动,此类中国税务机关可以调整税收优惠待遇。根据国家税务总局于2018年2月3日发布并于2018年4月1日生效的《关于税收协定中有关“实益拥有人”的若干问题的通知》,在确定申请人在税收方面的“实益拥有人”地位时与股息,利息有关的待遇,或税收协定中的特许权使用费,几个因素,包括但不限于申请人是否有义务在12个月内向第三国或地区的居民支付其收入的50%以上,申请人经营的业务是否构成实际业务活动,并将考虑税收协定的交易对手国家或地区是否对相关收入不征收任何税款或准予免税或以极低税率征税,并将根据具体案例的实际情况进行分析。本通知进一步规定,申请人打算证明其“实益拥有人”身份的,应根据《关于发布非居民纳税人享受税收优惠管理办法的公告》向有关税务局提交相关文件。税收协定项下的待遇。
就业和社会福利条例
中华人民共和国劳动法
《中华人民共和国劳动法》或“劳动法”于1994年7月5日颁布,最近于2018年12月29日修订。《劳动法》对劳动关系的建立和解除、劳动合同的基本内容、工作时间、报酬、劳动安全卫生、社会保险和其他福利以及违反劳动法的责任等作出了规定。2008年1月1日颁布并于2012年12月28日修订的《劳动合同法》主要旨在规范雇主和雇员的权利和义务,包括劳动合同的建立,履行和终止。根据《劳动合同法》,如果雇主与雇员之间将要建立或已经建立劳动关系,则劳动合同应为书面形式。禁止用人单位强迫劳动者超过一定的工作期限,用人单位应当按照国家规定支付劳动者的加班费。此外,员工工资不得低于当地最低工资标准,并应及时支付给员工。新疆和睦家及其分支机构和UFG实体已与所有员工签订了书面雇佣合同,并履行了中国相关法律法规规定的义务。
108
社会保险和住房基金
根据2004年1月1日实施并于2010年修订的《工伤保险条例》的要求,1995年1月1日实施的《企业职工生育保险暂行办法》,1997年7月16日发布的《国务院关于建立统一的养老保险制度的决定》、1998年12月14日发布的《国务院关于建立城镇职工医疗保险制度的决定》,1999年1月22日颁布的《失业保险办法》,1999年1月22日实施的《社会保险费征收暂行条例》和2011年7月1日实施的《中华人民共和国社会保险法》,雇主必须向其在中国的雇员提供福利,包括养老保险,失业保险,生育保险,工伤保险和医疗保险。这些款项支付给地方行政当局,任何不缴款的雇主都可能被处以罚款,并被责令在规定时限内补缴。新疆和睦家没有按照有关规定为所有员工足额缴纳社会保险费。
根据国务院于1999年颁布并于2002年修订的《住房公积金管理条例》,雇主必须在指定的行政中心注册并开设银行账户以存放员工的住房公积金。雇主和雇员还必须按时足额支付和存入住房资金,金额不得少于雇员前一年月平均工资的5%。新疆和睦家尚未为所有员工支付住房公积金。
请参阅“风险因素-与在中国开展业务有关的风险-我们的中国关联实体未按照中国法规的要求为所有员工提供足够的社会保险和住房基金供款,这可能会使我们受到处罚。”
美国法规
食品生产和经营管理的政府规定
香颂23街受广泛而多样的联邦,州和地方政府法规的约束,其中包括与公共和职业健康与安全,医疗保健,环境,卫生和防火有关的法规。我们按照旨在遵守适用法规的标准和程序运营香颂23街。但是,无法获得或保留卫生部或其他许可证将对香颂23街的运营产生不利影响。尽管我们在获得所需的许可证,许可证或批准方面没有遇到也没有预料到任何重大困难,延误或失败,但任何此类问题都可能延迟或阻止特定商店的开业或对其生存能力产生不利影响或一组商店。此外,由于法规变更而导致的困难,延误或未能保留或续签许可证,许可证或批准,或合规成本增加,可能会对香颂23街的运营产生不利影响。
此外,为了开发和建设更多商店,我们必须遵守适用的分区,土地使用和环境法规。迄今为止,联邦和州环境法规尚未对我们的运营产生重大影响,但地方政府机构在分区,土地使用和环境因素方面的更严格,更多样的要求可能会延迟甚至阻止建设,并增加新项目的开发成本商店。我们还必须遵守《美国残疾人法》规定的无障碍标准,该标准通常禁止在住宿或就业方面基于残疾的歧视。我们将来可能必须修改商店,例如,增加出入坡道或重新设计某些建筑固定装置,以向残疾人提供服务或为他们提供合理的便利。尽管这些费用可能很大,但目前的预期是,任何此类行动都不需要我们花费大量资金。
香颂23街的部分销售归因于酒精饮料的销售。酒精饮料控制法规要求我们向纽约州酒类管理局申请许可证,该许可证必须每年更新一次,并且可以随时因原因被撤销或暂停。酒精饮料控制法规涉及香颂23街日常运营的许多方面,包括顾客和员工的最低年龄,运营时间,广告,贸易惯例,批发采购,与酒精制造商,批发商和分销商的其他关系,库存控制以及酒精饮料的处理,存储和分配。在某些州,我们还受“DRAM商店”法规的约束,该法规通常规定被醉酒者伤害的人有权从错误地向醉酒者提供酒精饮料的机构中获得损害赔偿。香颂23街将白酒责任保险作为其现有综合一般责任保险的一部分。目前,香颂二十三街持有酒类经营许可证。
109
此外,香颂23街受《美国公平劳动标准法》,1986年《美国移民改革和控制法》,《职业安全与健康法》以及其他有关类似事项的各种联邦和州法律的约束,包括最低工资,加班,工作场所安全和其他工作条件。香颂23街雇用的大量食品服务和准备人员的工资与适用的最低工资相关,最低工资的进一步提高或这些法律的其他变更可能会增加其人工成本。香颂23街通过提高菜单价格来应对最低工资上涨的能力将取决于竞争对手和客人的反应。香颂23街的供应商也可能受到较高的最低工资和福利标准的影响,这可能导致香颂23街提供的商品和服务成本上升。香颂23街(Chanson23rd Street)也可能受到其员工,美国平等就业机会委员会(U.S.Equal Employment Opportunity Commission)或其他机构的诉讼,指控其违反有关工作场所和就业事务,歧视和类似事务的联邦和州法律。
美国对某些食品机构的监管已经加强,香颂23街可能需要花费更多的时间和资源来遵守当前或将来的联邦食品安全法规或立法所要求的新的食品安全要求。此外,香颂23街的供应商可能会发起或以其他方式进行食品召回,这可能会影响某些产品的可用性,导致不利的宣传或要求香颂23街采取可能对其造成成本高昂或损害其业务的行动。
环境问题
香颂23街受联邦,州和地方环境法律法规的约束,这些法律法规涉及废物处置,污染,环境保护以及有害或有毒物质的存在,排放,存储,处理,释放,处置或暴露。这些环境法可规定对违规行为处以巨额罚款和罚金,并规定补救责任,有时不考虑财产所有人或经营者是否知道有害或有毒物质的释放或存在,也不考虑其是否应对此负责。第三方还可以就与释放或实际或据称接触此类物质有关的人身伤害和财产损失向财产所有者或经营者提出索赔。我们不知道有任何环境法会严重影响香颂23街的收入或竞争地位,或导致与香颂23街有关的重大资本支出。但是,我们无法预测将来将颁布哪些环境法,如何管理,解释或执行现有或将来的环境法,或者我们可能需要为遵守或满足索赔要求而进行的未来支出金额与环境法有关。香颂23街可能会对其物业承担环境责任,任何此类责任都可能对其业务,财务状况或经营业绩产生重大影响。
其他规定
香颂23街还受有关广告,信息安全,隐私,无现金支付,在线支付,礼品卡和消费者信贷,保护和欺诈以及送餐的法律法规的约束,任何不遵守或被认为不遵守这些法律的行为都可能损害其声誉或导致诉讼,从而可能对其业务,财务状况或经营成果产生不利影响。
此外,香颂23街受进口法和关税的约束,这可能会影响其采购和获取食品,其他供应商以及运营所需设备的能力。
110
管理
以下是有关我们的董事和执行官的信息。
| 姓名 | 年龄 | 职位 | ||
| 李刚 | 54 | 董事长 | ||
| 程晨 | 35 | 首席执行官兼董事 | ||
| 蔡继红 | 50 | 首席财务官 | ||
| 杜勇 | 48 | 独立董事任命* | ||
| 王志远 | 36 | 独立董事任命* | ||
| 聂守华 | 40 | 独立董事任命* | ||
| 刘宇晨 | 29 | 独立董事任命* |
| * | Yong Du,Zhiyuan Wang,Shouhua Nie和Yuchen Liu已接受任命为我们的董事,该任命在本招股说明书所包含的我们的注册声明生效之前立即生效。 |
以下是上面列出的每位执行官,董事或董事任命的简要传记:
李刚先生自2020年9月起担任我们的董事长,自2019年7月起担任我们的董事,自2012年10月起担任新疆和睦家首席执行官。李先生自2011年7月起担任乌鲁木齐整形医院有限公司首席执行官,自2009年8月起担任乌鲁木齐玛丽妇产医院(有限公司)首席执行官,负责公司的运营和投资。李先生于1989年获得新疆大学中国文学学士学位。
Cheng Chen先生自2020年9月起担任我们的首席执行官兼董事。在加入我们公司之前,陈先生于2018年2月至2020年9月担任招商银行纽约分行公司银行部副总裁兼高级关系经理,先后担任分析师,助理,于2012年1月至2018年2月担任道明证券固定收益销售和交易副总裁,并于2011年5月至2011年12月担任标准普尔定量分析研究小组的合伙人。陈先生于2008年获得中国农业大学机电工程学士学位,于2009年获得哥伦比亚大学机械工程硕士学位,并于2011年获得卡内基梅隆泰珀商学院计算金融硕士学位。
蔡继红女士自2020年9月起担任我们的首席财务官。蔡女士自2018年9月起担任新疆和睦家首席财务官。在加入新疆和睦家之前,蔡女士于2016年6月至2018年8月担任新疆东宝集团首席财务官,于2011年6月至2016年5月担任新疆福地源房地产开发有限公司首席财务官,2002年7月至2011年1月,担任新疆奥斯曼生物技术有限公司的首席财务官。蔡女士是中国注册税务师,会计师和财务规划师。蔡女士于1991年获得湖北大学会计学学士学位。
杜勇先生将在本招股说明书所包含的注册声明生效之前立即担任我们的独立董事。杜先生自2019年9月起担任广东外语外贸大学华南工商学院会计学教授,博士生导师和会计领域学术带头人以及新经济与管理研究院院长。他的研究领域包括会计和投资者保护、预算管理、资本市场会计和金融以及资本市场审计。从2004年7月至2019年8月,杜先生在新疆财经大学任教,自2017年12月起担任会计学教授,自2018年8月起担任博士生导师,自2019年3月起担任会计领域的学术带头人。杜先生于2013年10月至2015年11月担任北京大学博士后研究员。杜先生自2019年3月起担任新疆财经大学丝绸之路经济与管理研究院学术委员会专家,自2017年6月起担任中国商业经济协会学术委员会专家,自2016年7月起担任Wuyige Certified Public Accountants LLP审计研究所高级研究员,北京大学财务分析与投资研究中心兼职研究员,北京市国有资产管理与创新中心研究员,自2013年10月起担任北京工商大学会计与投资者保护研究中心特聘研究员。杜先生于2011年获得中央财经大学会计学博士学位。
111
王志远先生将在本招股说明书所包含的注册声明生效之前立即担任我们的独立董事。王先生成立了人力资源在线服务公司胜德汉华(北京)人力资源有限公司,并自2020年1月起担任其首席执行官兼董事。王先生创立了北京Unique Way Technology Limited Corporation,该公司提供定制的旅行计划,管理和咨询服务,于2013年1月至2019年12月担任首席执行官,并自2013年1月起担任董事。从2007年7月至2013年10月,王先生担任国家开发银行经理。王先生自2020年1月起担任北京团叮当管理咨询中心(LP)主任。王先生于2007年获得北京邮电大学通信工程学士学位。
聂守华先生将在本招股说明书所包含的注册声明生效之前立即担任我们的独立董事。涅先生是投资管理公司深圳汉荣投资管理有限公司的创始合伙人,自2019年4月起担任其首席执行官。在成立深圳汉荣投资管理有限公司之前,聂总于2018年1月至2019年1月担任对冲基金浙江白鹭资产管理有限公司的投资组合经理兼衍生品部门负责人,并担任投资管理公司First Seafront Fund Management Co.,Ltd.定量投资集团的投资组合经理。Nie先生还曾在法国国际银行集团BNP Paribas(OTCMKTS:BNPQY)工作,于2013年11月至2015年9月担任利率交易员,并于2010年6月至2013年11月担任定量分析师。Nie先生于2003年在复旦大学获得物理学学士学位,于2008年在佛罗里达州立大学获得物理学博士学位,并于2009年在卡内基梅隆大学泰珀商学院获得计算金融硕士学位。
刘宇晨先生将在本招股说明书所包含的注册声明生效之前立即担任我们的独立董事。刘先生自2020年4月起担任晨鑫科技有限公司的天使投资者,自2018年8月起担任北京宣艺科技有限公司的天使投资者,北京东亿盛达投资有限公司(Farrington International Pre-School)的联合创始人兼首席运营官自2018年6月起,自2017年12月起担任Iczoom Electronic Components Exchange的天使投资者和合伙人。刘先生于2015年获得北京工商大学电气工程学士学位,并于2017年获得波士顿大学财务管理理学硕士学位。
我们的高级职员由董事会和通过普通决议案投票的股东任命并酌情决定。我们的董事没有设定的任期,直到下一次股东大会要求选举董事为止,直到其继任人被正式任命或其去世,辞职或被股东罢免为止。普通决议案。如果(其中包括)董事以书面形式辞职,破产或与其债权人进行任何安排或组成,或者被发现心智不健全或变得不健全,则董事职位将自动空出。
有关更多信息,请参阅“股本说明-董事”。”
家庭关系
我们的董事或执行官均无S-K条例第401条所定义的家庭关系。
参与某些法律程序
据我们所知,在过去10年中,我们的董事或执行官均未参与S-K条例第401条(f)项所述的任何法律程序。
受控公司
此次发行完成后,假设不行使超额配股权,我们的董事长李刚先生将作为一个整体实益拥有我们已发行和流通的A类和B类普通股总投票权的约86.62%,假设充分行使超额配股权,则为86.03%。因此,就纳斯达克上市规则而言,我们将被视为“受控公司”。作为一家受控公司,我们被允许选择依靠某些豁免义务来遵守某些公司治理要求,包括:
| ● | 要求我们的董事提名仅由独立董事选择或推荐;和 | |
| ● | 要求我们有一个提名和公司治理委员会以及薪酬委员会,该委员会完全由独立董事组成,并有书面章程阐明委员会的目的和职责。 |
112
尽管即使我们被视为受控公司,我们也不打算依靠纳斯达克上市规则规定的受控公司豁免,但我们可以选择将来依靠这些豁免,如果是,您将无法获得受纳斯达克所有公司治理要求约束的公司股东所享有的保护。
董事会
此次发行完成后,我们的董事会将由六名董事组成。我们的董事会已确定,我们任命的四名独立董事Yong Du,Zhiyuan Wang,Shouhua Nie和Yuchen Liu符合纳斯达克公司治理规则的“独立性”要求。
董事职责
根据开曼群岛法律,所有董事均应对我们承担三类职责:(i)法定职责,(ii)信托职责和(iii)普通法职责。开曼群岛《公司法》(2021年修订)对董事规定了许多法定职责。开曼群岛董事的信托义务尚未编纂,但是开曼群岛法院认为董事应承担以下信托义务:(a)有义务以董事真诚认为符合公司最大利益的方式行事,(b)为所赋予的目的行使权力的义务;(c)避免今后束缚其自由裁量权的义务;以及(d)避免利益冲突和职责冲突的义务。董事所负的普通法职责是指合理地预期执行与该董事就公司所执行的职能相同的职能的人所应具有的技能,谨慎和勤勉的行为,以及以该技能行事,谨慎和勤奋,以符合与他们所拥有的任何特定技能相称的谨慎标准,这使他们能够达到比没有这些技能的董事更高的标准。在履行对我们的谨慎义务时,我们的董事必须确保遵守不时修订和重述的公司章程。如果违反了我们任何董事所欠的义务,我们有权要求赔偿。
董事会的职能和权力包括:
| ● | 任命官员并确定官员的任期; | |
| ● | 行使公司的借款权并抵押公司的财产;和 | |
| ● | 维护或注册公司的抵押,费用或其他产权负担的登记册。 |
董事和执行官的条款
我们的高级职员由董事会和通过普通决议案投票的股东任命并酌情决定。我们的董事没有设定的任期,直到下一次股东大会要求选举董事为止,直到其继任人被正式任命或其去世,辞职或被股东罢免为止。普通决议案。如果(其中包括)董事以书面形式辞职,破产或与其债权人进行任何安排或组成,或者被发现心智不健全或变得不健全,则董事职位将自动空出。
资格
尽管董事的持股资格可以由我们的股东通过普通决议案确定,但目前没有董事的持股资格。
113
雇佣协议和赔偿协议
我们已经与我们的每位执行官签订了雇佣协议。根据雇佣协议(其形式作为本招股说明书一部分的本注册声明的附件10.1提交),我们同意在指定的时间段内雇用我们的每位执行官,除非任何一方在当前雇用期结束前六个月书面通知另一方终止协议,否则该协议将自动续签。我们可以随时因执行官的某些行为而无故终止雇用,恕不另行通知或报酬,包括但不限于任何严重或持续违反或不遵守雇用条款和条件的承诺,刑事犯罪定罪,故意不服从合法合理的命令,欺诈或不诚实,收受贿赂或严重玩忽职守。执行官可以在提前三个月书面通知的情况下随时终止雇用。每位执行官均同意在雇佣协议期满期间和之后严格保密,未经书面同意,不得使用或向任何人,公司或其他实体披露任何机密信息。
我们还将与我们的每位董事和执行官签订赔偿协议。根据这些协议,我们同意赔偿董事和执行官因其担任公司董事或高级管理人员而引起的与索赔有关的某些责任和费用。
董事和执行官的薪酬
截至2020年12月31日的财政年度,我们向执行官和董事支付了总计227,159美元的薪酬。我们没有预留或应计任何金额向我们的董事和执行官提供退休金,退休金或其他类似福利。法律要求我们的中国关联实体为其养老保险,医疗保险,失业保险以及其他法定福利和住房公积金缴纳相当于每个雇员工资一定百分比的供款。
有关高管薪酬的内幕参与
我们的两位董事李刚先生和Cheng Chen先生目前正在做出有关执行官薪酬的所有决定。当我们的薪酬委员会成立时,它将做出有关执行官薪酬的所有决定(请参阅下面)。
董事会委员会
在本次发行完成之前,我们将在董事会下设立三个委员会:审核委员会,薪酬委员会以及提名和公司治理委员会。每个委员会将由我们的独立董事组成。委员会的任命将在本招股说明书构成部分的注册声明生效之日之前立即生效。我们将为三个委员会中的每个委员会通过一项宪章。每个委员会的成员和职能如下。
审核委员会。我们的审计委员会将由我们任命的三名独立董事Yong Du,Shouhua Nie和Zhiyuan Wang组成。杜勇将担任我们的审计委员会主席。我们已经确定,我们任命的每位独立董事也都符合《证券交易法》第10a-3条的“独立性”要求。董事会还确定,杜勇符合SEC规则所指的审计委员会财务专家的资格,或者具有纳斯达克上市规则所指的财务成熟度。审核委员会将监督我们的会计和财务报告流程以及对公司财务报表的审核。审核委员会将负责以下工作:
| ● | 任命独立审计师,并预先批准独立审计师允许执行的所有审计和非审计服务; | |
| ● | 与独立审计师一起审查任何审计问题或困难以及管理层的回应; | |
| ● | 与管理层和独立审计师讨论年度经审计的财务报表; | |
| ● | 审查我们的会计和内部控制政策和程序的充分性和有效性,以及为监视和控制重大财务风险敞口而采取的任何步骤; | |
| ● | 审查并批准所有拟议的关联方交易; |
114
| ● | 与管理层和独立审计师分别定期举行会议;和 | |
| ● | 监控对我们的《商业行为与道德守则》的遵守情况,包括审查我们程序的充分性和有效性,以确保适当遵守。 |
薪酬委员会。我们的薪酬委员会将由我们的三名独立董事任命,Yong Du,Shouhua Nie和Zhiyuan Wang组成。聂守华将担任我们薪酬委员会的主席。薪酬委员会将协助董事会审查和批准与我们的董事和执行官有关的薪酬结构,包括所有形式的薪酬。我们的首席执行官可能不会出席审议其薪酬的任何委员会会议。薪酬委员会将负责以下工作:
| ● | 审查并批准我们最高级执行官的总薪酬方案; | |
| ● | 批准并监督除最高级执行官以外的高管人员的总薪酬方案; | |
| ● | 就董事的薪酬进行审查并向董事会推荐; | |
| ● | 定期审查并批准任何长期激励性薪酬或股权计划; | |
| ● | 在考虑与该人独立于管理层有关的所有因素后,选择薪酬顾问,法律顾问或其他顾问;和 | |
| ● | 审查计划或类似安排,年度奖金,员工退休金和福利计划。 |
提名和公司治理委员会。我们的提名和公司治理委员会将由我们任命的三名独立董事Yong Du,Shouhua Nie和Zhiyuan Wang组成。王志远将担任我们的提名和公司治理委员会主席。提名和公司治理委员会将协助董事会选择有资格成为我们董事的个人,并确定董事会及其委员会的组成。提名和公司治理委员会将负责以下工作:
| ● | 确定并推荐候选人以选举或连任我们的董事会或任命填补任何空缺; | |
| ● | 根据独立性,年龄,技能,经验和为我们提供服务的特点,每年与董事会一起审查其当前组成; | |
| ● | 确定并向董事会推荐董事担任委员会成员; | |
| ● | 定期就公司治理法律和实践的重大发展以及我们对适用法律和法规的遵守情况向董事会提供建议,并就公司治理的所有事项以及应采取的任何纠正措施向董事会提出建议;和 | |
| ● | 监控对我们的《商业行为与道德守则》的遵守情况,包括审查我们程序的充分性和有效性,以确保适当遵守。 |
商业行为与道德守则
我们的董事会已通过《商业行为与道德守则》,该守则作为本注册声明的附件99.1提交,适用于我们的所有董事,高级职员和员工。在本次发行结束之前,我们将在我们的网站上公开发布我们的《商业行为与道德守则》。
115
主要股东
下表列出了截至本招股说明书发布之日,《交易法》第13d-3条所指的我们的A类普通股和B类普通股的实益拥有权的信息,并进行了调整,以反映本次发行中出售的A类普通股的出售情况:
| ● | 我们的每位董事和执行官;和 | |
| ● | 我们已知的每个人实益拥有我们5%以上的A类普通股或B类普通股。 |
实益拥有权包括对证券的投票权或投资权。除下文所述者外,并受适用的社区财产法的约束,表中所列人员对显示为他们实益拥有的所有A类普通股和B类普通股具有唯一的投票权和投资权。此次发行前,每个上市人士的实益拥有权百分比基于3,060,000股A类普通股和5,940,000股流通在外的B类普通股(反映了3月27日股东和董事会批准的普通股的1,000比1远期拆分,2021年),截至本招股说明书发布之日。假设未行使超额配股权,则本次发行后每个上市人士的实益拥有权百分比基于本次发行完成后立即发行的6,060,000股A类普通股和5,940,000股B类普通股,假设充分行使超额配股权,则为6,510,000股A类普通股和5,940,000股B类普通股。
每位董事,高级管理人员或实益拥有人已提供了我们5%或以上的A类普通股或B类普通股的实益拥有人的信息。实益拥有权是根据SEC的规则确定的,通常要求该人对证券具有投票权或投资权。在计算以下所列人员实益拥有的A类普通股的数量以及该人,期权,认股权证或可转换证券(包括B类普通股)的A类普通股的所有权百分比时,在本招股说明书发布之日起60天内可行使或可转换的每个此类人士持有的股份均被视为未偿还,但在计算任何其他人的所有权百分比时不被视为未偿还。截至招股说明书发布之日,我们有五名在册股东,其中两名位于美国。为了满足纳斯达克上市规则,交易结束时我们将被要求至少有300名无限制轮手股东。
| A级 普通 股份 有益地 拥有之前 此产品* |
B级 普通 股份 有益地 拥有之前 此产品 |
A级 普通 股份 有益地 拥有后 此产品 (超额分配 选项不 行使)* |
A级 普通 股份 有益地 拥有后 此产品 (超额分配 完全选项 行使)* |
B级 普通 股份 有益地 拥有后 此产品 |
投票权 在此之后 产品 (超额分配 选项不 行使)* |
投票权 在此之后 产品 (超额分配 完全选项 行使)* |
||||||||||||||||||||||||||||||||||||||||||
| 号码 | % | 号码 | % | 号码 | % | 号码 | % | 号码 | % | % | % | |||||||||||||||||||||||||||||||||||||
| 董事和执行官(1): | ||||||||||||||||||||||||||||||||||||||||||||||||
| 李刚(2) | 2,700,000 | 88.24 | % | 5,400,000 | 90.91 | % | 2,700,000 | 44.55 | % | 2,700,000 | 41.47 | % | 5,400,000 | 90.91 | % | 86.62 | % | 86.03 | % | |||||||||||||||||||||||||||||
| 程晨(3) | — | — | 270,000 | 4.55 | % | — | — | — | — | 270,000 | 4.55 | % | 4.12 | % | 4.10 | % | ||||||||||||||||||||||||||||||||
| 蔡继红(4) | — | — | 270,000 | 4.55 | % | — | — | — | — | 270,000 | 4.55 | % | 4.12 | % | 4.10 | % | ||||||||||||||||||||||||||||||||
| 杜勇 | — | — | — | — | — | — | — | — | — | — | — | — | ||||||||||||||||||||||||||||||||||||
| 王志远 | — | — | — | — | — | — | — | — | — | — | — | — | ||||||||||||||||||||||||||||||||||||
| 聂守华 | — | — | — | — | — | — | — | — | — | — | — | — | ||||||||||||||||||||||||||||||||||||
| 刘宇晨 | — | — | — | — | — | — | — | — | — | — | — | — | ||||||||||||||||||||||||||||||||||||
| 所有董事和执行官(共7人): | ||||||||||||||||||||||||||||||||||||||||||||||||
| 2,700,000 | 93.75 | % | 5,942,222 | 97.06 | % | 2,700,000 | 45.92 | % | 2,700,000 | 42.65 | % | 5,940,000 | 97.06 | % | 92.59 | % | 91.96 | % | ||||||||||||||||||||||||||||||
| 5%的股东: | ||||||||||||||||||||||||||||||||||||||||||||||||
| 丹东环球有限公司(2) | 2,700,000 | 88.24 | % | 5,400,000 | 90.91 | % | 2,700,000 | 44.55 | % | 2,700,000 | 41.47 | % | 5,400,000 | 90.91 | % | 86.62 | % | 86.03 | % | |||||||||||||||||||||||||||||
| YVAN环球有限公司(5) | 180,000 | 5.88 | % | 0 | 0 | % | 180,000 | 2.97 | % | 180,000 | 2.76 | % | 0 | 0 | % | 0.27 | % | 0.27 | % | |||||||||||||||||||||||||||||
| Yetta Global Limited(6) | 180,000 | 5.88 | % | 0 | 0 | % | 180,000 | 2.97 | % | 180,000 | 2.76 | % | 0 | 0 | % | 0.27 | % | 0.27 | % | |||||||||||||||||||||||||||||
116
| * | 持有人可以选择在发行后随时一对一地将B类普通股转换为A类普通股。A类普通股的数量和百分比不包括可从B类普通股转换的A类普通股,因为B类普通股的实益拥有权是单独列出的。 |
| (1) | 除非另有说明,否则每个人的营业地址均为中国新疆乌鲁木齐天山区文化路26号。 |
| (2) | 本次发行前实益拥有的A类普通股和B类普通股的数量代表Danton Global Limited持有的2,700,000股A类普通股和5,400,000股B类普通股,Danton Global Limited是一家英属维尔京群岛公司,由李刚先生100%拥有。Danton Global Limited的注册地址为VG1110英属维尔京群岛托尔托拉路镇J&C大楼3楼。 |
| (3) | 此次发行前实益拥有的B类普通股数量代表特拉华州有限责任公司C&C Capital Investments LLC持有的270,000股B类普通股,该公司由Cheng Chen先生100%拥有。C&C Capital Investments LLC的注册地址是19801年特拉华州新城堡县威尔明顿1201N.Orange St.,Suite762,One Commerce Center。 |
| (4) | 此次发行前实益拥有的B类普通股数量代表英属维尔京群岛公司Haily Global Limited持有的270,000股B类普通股,该公司由蔡继红女士100%拥有。Haily Global Limited的注册地址为VG1110英属维尔京群岛托尔托拉路镇J&C大楼3楼。 |
| (5) | 此次发行前实益拥有的A类普通股数量代表由胡新霞女士100%拥有的英属维尔京群岛公司Yvan Global Limited持有的180,000股A类普通股。Yvan Global Limited的注册地址为VG1110英属维尔京群岛托尔托拉路镇J&C大楼3楼。 |
| (6) | 此次发行前实益拥有的A类普通股代表Yetta Global Limited持有的180,000股A类普通股,Yetta Global Limited是一家英属维尔京群岛公司,由王辉女士100%拥有。Yvan Global Limited的注册地址为VG1110英属维尔京群岛托尔托拉路镇J&C大楼3楼。 |
截至本招股说明书发布之日,我们88.24%的流通在外A类普通股和95.46%的流通在外B类普通股由美国的两名记录持有人李刚先生和Cheng Chen先生持有。
我们不知道有任何安排可能在随后的日期导致对我们公司的控制权发生变化。
117
关联方交易
与UFG实体和UFG运营商的合同安排
请参阅“公司历史和结构。”
雇佣协议
请参阅“管理-雇佣协议和赔偿协议”。”
与关联方的重大交易
关联方交易的关系和性质概述如下:
| 关联方名称 | 与我们的关系 | |
| 李刚 | 我们的董事长 | |
| 程晨 | 我们的首席执行官 | |
| 蔡继红 | 我们的首席财务官 | |
| 乌鲁木齐市整形医院有限公司。 | 由我们的董事长控制 |
向关联方发行股票
于2019年7月26日,我们转让了一股普通股,并间接向与公司成立有关的某些执行官和董事发行了94股普通股(使我们的已发行和流通股总数达到100股普通股),在根据开曼群岛法律进行的一项私人交易中,包括向丹东环球有限公司(Danton Global Limited)发行的92股普通股(连同原始认购股份的转让,使丹东环球有限公司持有的普通股数量达到93股),丹东环球有限公司是一家由李刚100%控股的实体,我们的董事长以92美元的对价向Haily Global Limited发行了三股普通股,Haily Global Limited是我们的首席财务官蔡继红女士100%控制的实体,对价为3美元。
2021年3月27日,我们的董事会批准向我们的一些执行官和董事发行A类普通股和B类普通股,以增加本次发行完成前已发行和流通在外的普通股总数,包括向Danton Global Limited发行的2,610,000股A类普通股和5,400,000股B类普通股,向Haily Global Limited发行的对价为8,010,267,000美元,向C&C Capital Investments LLC发行的对价为267,000股B类普通股,由我们的首席执行官Cheng Chen先生100%控制的实体,对价为267美元。
请参阅“股本说明-股票发行历史”。”
房地使用协议
根据日期为2020年4月30日的《房屋使用协议》和日期为2020年6月18日的《补充协议》,乌鲁木齐整形医院有限公司是由我们的董事长李刚先生控制的中国公司,免费为我们的总部提供了约5,382平方英尺的办公空间,为我们的中央工厂提供了10,763平方英尺的办公空间。除非任何一方另有终止,否则协议的期限为2020年1月1日至2028年6月25日。
应收关联方款项
截至2018年12月31日,应收关联方款项1,924,910美元是预付给我们的董事长李刚先生的现金,主要用作开设五个新UFG实体的初始营运资金,例如预付租金,装修,以及2019年的其他启动费用。此类预付款不计息,并于2019年被我们充分利用或收取。
由于关联方
截至2019年12月31日和2020年12月31日,应收关联方款项分别为797,352美元和6,316美元,代表我们的董事长李刚先生为公司运营提供的预付款。这些应付款项是无抵押的,不计息的,应要求支付。截至本招股说明书发布之日,应付关联方的款项已全额偿还。
关联方担保
我们的董事长李刚先生及其妻子熊颖女士为2018年,2019年和2020年从华夏银行借入的新疆和睦家贷款提供了担保。请参阅我们的合并财务报表的“附注7-短期银行贷款”。
有限责任公司权益转让
2020年9月28日,我们的董事长李刚先生将其在Chanson Greenwich的100%会员权益转让给了Chanson NY,对价为10美元。转让后,香颂格林威治成为香颂纽约的全资子公司。
118
股本说明
以下对我们的股本的描述以及我们经修订和重述的组织章程大纲和细则的规定是摘要,并不完整。请参阅我们的经修订和重述的组织章程大纲和细则,该章程大纲和细则将在本次发行完成之时或之前生效,其副本作为本招股说明书一部分的注册声明的附件提交(在本节中分别称为“备忘录”和“条款”)。
我们于2019年7月26日根据开曼群岛《公司法》(2021年修订)或“开曼公司法”注册成立为获豁免的有限责任公司。开曼群岛豁免公司:
| ● | 是一家主要在开曼群岛以外开展业务的公司; | |
| ● | 禁止与任何人在开曼群岛进行交易,公司或法人,但为促进在开曼群岛以外开展的获豁免公司的业务(为此目的,可以在开曼群岛生效并签订合同)并在开曼群岛行使在开曼群岛以外开展业务所需的所有权力); | |
| ● | 不必举行年度股东大会; | |
| ● | 无须将其会员名册开放给该公司的股东查阅; | |
| ● | 可以获得反对征收任何未来税款的承诺; | |
| ● | 可以继续在另一个司法管辖区注册,并在开曼群岛注销注册; | |
| ● | 可以注册为有限期公司;和 | |
| ● | 可以注册为单独的投资组合公司。 |
普通股
截至本招股说明书发布之日,我们的法定股本为50,000美元,分为44,000,000股每股面值0.00 1美元的A类普通股和6,000,000股每股面值0.00 1美元的B类普通股。A类普通股和B类普通股的持有人享有相同的权利,但投票权和转换权除外。对于需要所有股东投票的事项,每位A类普通股持有人将有权每一A类普通股获得一票,而每位B类普通股持有人将有权每一B类普通股获得10票。A类普通股不可转换为任何其他类别的股份。持有人可以选择在发行后随时一对一地将B类普通股转换为A类普通股。
我们所有已发行和流通在外的A类普通股和B类普通股均已缴足且不可评估。我们的A类普通股和B类普通股以记名形式发行,并在我们的股东名册中登记时发行。除非董事会另有决定,否则我们的A类普通股或B类普通股的每个持有人将不会获得有关此类股份的证书。我们的非开曼群岛居民股东可以自由持有其A类普通股和B类普通股并对其进行投票。我们可能不会向不记名发行股票或认股权证。
在遵守《开曼公司法》和我们有关赎回和购买股份的条款的规定的前提下,董事具有一般和无条件的权力,可以分配(无论是否确认放弃权利),授予期权或以其他方式处理任何未发行的股份给这样的人,在他们决定的时间,条款和条件下。董事可以行使该权力,以分配具有优先于A类普通股或B类普通股所附权利的权利和特权的股份。除非根据《开曼公司法》的规定,否则不得折价发行股票。董事可以出于任何原因或无故拒绝接受任何股份申请,并可以全部或部分接受任何申请。
在本次发行完成后,纳斯达克资本市场的最低要求是,至少有300名非限制性流通股股东和实益拥有人将发行和发行6,060,000股(如果未行使承销商的超额配股权)或6,510,000股(如果充分行使承销商的超额配股权)A类普通股,以及已发行和发行的5,940,000股B类普通股。本次发行中出售的A类普通股将在【】或大约【】在纽约纽约发行结束时由承销商支付。
119
上市
我们已申请在纳斯达克资本市场上市A类普通股,股票代码为“CHSN”。”
转让代理和注册商
我们的A类普通股和B类普通股的转让代理和注册商是Transhare Corporation,地址为2849Executive Drive,Suite200,Clearwater,FL33762。
股息
在遵守《开曼公司法》的规定以及根据本条款并根据本条款所附的任何一类或多类股份所附的任何权利的前提下:
| (a) | 董事可从我们合法可用于此目的的资金中宣派股息或分红;和 |
| (b) | 我们的股东可以通过普通决议案宣派股息,但该股息不得超过董事建议的金额。 |
根据《开曼公司法》关于适用公司股票溢价账户的要求,并在普通决议案的制裁下,也可以从任何股票溢价账户中宣派和支付股息。董事向股东支付股息时,可以现金或实物支付。
除非股份附带的权利另有规定,否则任何股息均不计息。
投票权
在投票中,亲自出席的每位股东和通过代理人代表股东的每位人均应对其本人或代理人代表的每股A类普通股拥有一票,对每股B类普通股拥有10票。此外,持有特定类别股份的所有股东均有权在该类别股份的持有人会议上投票。投票可以亲自进行,也可以由代理人进行。
转换权
A类普通股不可转换。B类普通股可由其持有人选择以一对一的方式转换为A类普通股。
股份权利的变更
每当我们的资本分为不同类别的股份时,任何类别的股份所附的权利(除非该类别股份的发行条款另有规定)可以在不少于该类别已发行股份的三分之二的持有人的书面同意下进行变更,或经不少于三分之二的该类股份持有人亲自出席或由代理人出席该类别股份持有人的单独股东大会通过的决议的批准。
除非发行某类股份的条款另有规定,否则授予持有任何类别股份的股东的权利不应被视为因创建或发行与该类别现有股份享有同等地位的其他股份而改变。
股本变动
在遵守开曼公司法的前提下,我们可以通过普通决议:
| (a) | 以该普通决议案确定的金额以及该普通决议案规定的所附权利,优先权和特权增加我们的股本; | |
| (b) | 合并我们的全部或任何股本,并将其分成比我们现有股份更大的股份; | |
| (c) | 将我们的全部或任何缴足股转换为股票,并将该股票重新转换为任何面额的缴足股; | |
120
| (d) | 将我们的股份或其中的任何股份细分为小于固定金额的股份,但是,在细分中,已支付金额与金额(如果有)之间的比例,每股减少的股份未支付的金额应与产生减少的股份的股份相同;和 | |
| (e) | 注销在通过该普通决议案之日尚未由任何人持有或同意持有的股份,并将我们的股本金额减去如此注销的股份数量,或对于没有面值的股票,减少将我们的资本分配给的股票数量。 |
在遵守《开曼公司法》以及暂时授予持有特定类别股份的股东的任何权利的前提下,我们可以通过特别决议以任何方式减少我们的股本。
催缴股份和没收
在遵守分配条款的前提下,董事可以就其股份未支付的任何款项(包括任何溢价)向股东发出呼吁,每位股东应(在收到至少14个整日的通知后,指明付款的时间和地点)作出),向我们支付他的股票赎回额。登记为股份联名持有人的股东应承担连带责任,以支付与股份有关的所有催缴股款。如果催缴到期且应付款后仍未付款,则应付款人应从应付款之日起支付未付金额的利息并应支付,直到以股份分配条款或催缴通知中确定的利率支付为止,或者如果没有固定利率,则以每年百分之十的利率支付。董事可全部或部分放弃支付利息。
我们对以股东名义(无论是单独还是与他人共同)注册的所有股份(无论是否缴足)拥有第一和最高留置权。留置权是指股东或股东遗产应支付给我们的所有款项:
| (a) | 单独或与任何其他人共同(无论该其他人是否为股东);和 | |
| (b) | 这些款项是否目前应支付。 |
董事可随时宣布任何股份全部或部分免除本细则股份规定的留置权。
如果已发出应付款项的适当通知(根据《公司章程》的规定),我们可以按照董事确定的方式出售目前应支付留置权金额的任何股份,在根据本条款被视为发出通知之日起14天内,未遵守该通知。
无人领取的股息
到期应付后六年内仍无人认领的股息将被本公司没收,并不再由本公司欠下。
没收或交出股份
如果股东未支付任何催缴股款,则董事可在不少于14个整日的通知中通知该股东,要求其付款并指定未支付的金额,包括可能产生的任何利息,由于该人的违约和付款地点而由我们产生的任何费用。该通知还应包含警告,如果不遵守该通知,则进行催缴的股份将被没收。
如果未遵守该通知,则董事可以在收到通知要求的付款之前,决定没收该通知标的的任何股份(没收应包括就没收的股份应支付的所有股息或其他款项,且在没收前未支付)。
121
没收的股份可以按照董事确定的条款和方式出售,重新分配或以其他方式处置,并且在出售,重新分配或处置之前的任何时间,可以按照董事认为的条款取消没收。合适。
股份被没收的人将不再是被没收股份的股东,但即使被没收,仍有责任向我们支付他在没收之日应向我们支付的所有款项关于股份,以及从没收或退回之日起至付款之日的所有费用和利息,但如果我们收到全额未付款项,则他的责任将终止。
由董事或秘书作出的声明(不论是法定的或经宣誓的),即为作出声明的人是董事或秘书以及该等特定股份已在特定日期被没收或交出的不可推翻的证据。
在执行转让文书的前提下,如有必要,声明应构成股份的良好所有权。
股份溢价账户
董事应建立股份溢价账户并应不时记入该帐户的贷方,其金额等于发行任何股份或资本所支付的溢价金额或价值,或《开曼公司法》要求的其他金额。
赎回和购买自己的股份
在遵守《开曼公司法》以及当时授予持有特定类别股份的股东的任何权利的前提下,我们可以通过董事的行动:
| (a) | 根据我们的董事在发行这些股份之前确定的条款和方式,由我们选择或持有这些可赎回股份的股东发行要赎回或有可能赎回的股份; | |
| (b) | 经持有特定类别股份的股东的特别决议案同意,更改该类别股份所附的权利,以规定我们可以选择按照董事在更改时确定的条款和方式赎回或有可能赎回这些股份;和 | |
| (c) | 按照董事在购买时确定的条款和方式购买我们自己的任何类别的全部或任何股份,包括任何可赎回股份。 |
我们可以按照《开曼公司法》授权的任何方式赎回或购买其自己的股份,包括从资本,我们的利润和新发行股票的收益的任何组合中支付。
在支付赎回或购买股票的款项时,如果获得这些股份的分配条款或适用于这些股份的条款的授权,则董事可以现金或实物(或部分以一种和部分以另一种形式)付款,或以其他方式与持有这些股份的股东达成协议。
股份转让
前提是A类普通股的转让符合纳斯达克资本市场的适用规则,股东可以通过以普通形式完成转让文书或将A类普通股或B类普通股转让给另一人,对于A类普通股,以纳斯达克规定的形式或董事批准的任何其他形式执行:
| (a) | 如果A类普通股或B类普通股已由该股东或代表该股东全额支付;和 | |
| (b) | 如果A类普通股或B类普通股是由该股东和受让人或代表该股东和受让人部分支付的。 |
122
转让人应被视为仍是A类普通股或B类普通股的持有人,直到受让人的姓名记入公司股东名册为止。
如果有关的A类普通股或B类普通股未在纳斯达克资本市场上市或不受纳斯达克资本市场规则的约束,则我们的董事会可全权酌情决定拒绝注册任何尚未缴足或受公司留置权约束的A类普通股或B类普通股的任何转让。我们的董事会也可能拒绝注册此类A类普通股或B类普通股的任何转让,除非:
| (a) | 转让文书已提交给公司,附有与之相关的A类普通股或B类普通股的证书,以及我们董事会可能合理要求的其他证据,以表明转让人进行转让的权利; | |
| (b) | 转让工具仅针对一类股份; | |
| (c) | 如有需要,转让文书已加盖适当印花; | |
| (d) | 转让的A类普通股或B类普通股已缴足股款且没有对我们有利的留置权; | |
| (e) | 与转让有关的任何费用已支付给我们;和 | |
| (f) | 转让给不超过四个联名持有人。 |
如果我们的董事拒绝注册转让,则必须在提交转让文书之日起三个月内向转让人和受让人分别发送拒绝通知。
可以在一份或多份报纸上以广告或电子方式发出的14个日历日的通知中暂停转让登记,并在董事会不时决定的时间和期限内关闭我们的会员登记册。时间确定。但是,在任何一年中,转让登记不得暂停30天以上,登记也不得关闭。
帐簿和记录的检查
根据《开曼公司法》,我们的A类普通股和B类普通股的持有人将无权检查或获取我们的股东名册或公司记录的副本。
股东大会
作为开曼群岛获豁免的公司,根据《开曼公司法》,我们没有义务召集股东周年大会;因此,我们可以但没有义务每年举行股东大会作为年度股东大会。举行的任何年度股东大会应在董事会确定的时间和地点举行。除年度股东大会外,所有股东大会均称为临时股东大会。
董事可在其认为适当的时候召开股东大会。股东大会还应根据有权出席的一名或多名股东的书面要求召开并在我们的股东大会上投票,这些股东(共同)根据条款中的通知规定,在该股东大会上拥有不少于百分之十的投票权,并指明了会议的目的,并由每位股东签署。要求。如果董事未在收到书面请求之日起21个整日之内召开该会议,要求召开会议的股东可以在该21个整日的期限结束后的三个月内亲自召开股东大会,在这种情况下,由于董事未能召开会议而产生的合理费用应由我们偿还。
有权出席该会议并在该会议上投票的股东应至少提前14天通知临时股东大会,并提前21天通知年度股东大会。通知应指明会议的地点,日期和时间以及该业务的一般性质。此外,如果决议被提议为特别决议,则该决议的文本应发给所有股东。每次股东大会的通知也应发给董事和我们的审计师。
123
在遵守《开曼公司法》的前提下,并经单独或集体持有所有有权在股东大会上投票的股东至少90%的投票权的股东同意,可以在较短的时间内召开股东大会通知。
法定人数应包括一名或多名股东的出席(无论是亲自出席还是由代理人代表),这些股东持有的股份不少于在该股东大会上具有表决权的流通股的三分之一。
如果在股东大会指定的时间起15分钟内或在会议期间的任何时间未达到法定人数,则应股东的要求召开的会议将被取消。在任何其他情况下,休会的时间和地点应为七天,或由董事确定的其他时间或地点。
主席可在出席法定人数的会议的同意下休会。休会七天或以上时,应根据条款发出休会通知。
在任何股东大会上,供会议表决的决议均应以举手方式决定,除非(在,会议主席或至少两名对决议有表决权的股东或一名股东要求的举手结果声明)出席会议的一个或多个股东合计持有所有有权对该决议进行表决的股东的不少于百分之十的表决权。除非有人如此要求进行投票,否则主席就某项决议的结果所作的声明,以及在会议纪录中为此所作的记项,即为举手表决结果的不可推翻的证据,没有记录的赞成或反对该决议的票数或比例的证明。
如果适当要求进行投票,则应按照主席指示的方式进行,投票结果应视为要求进行投票的会议的决议。
在票数均等的情况下,无论是举手表决还是投票表决,举手表决或要求进行投票的会议的主席均无权进行第二次投票或投决定票。
董事
我们可能会不时通过普通决议案确定要任命的最大和最小董事人数。根据条款,我们必须至少有一名董事,而最大董事人数应不受限制。
董事可以通过普通决议案或董事任命。任何任命都可以是填补空缺或担任额外董事。
除非董事的薪酬由股东通过普通决议案确定,否则董事有权获得董事确定的薪酬。
董事的持股资格可以由我们的股东通过普通决议案确定,除非且直到确定为止,否则无需任何股份资格。
除非罢免或重新任命,否则每位董事的任期应在下一次年度股东大会(如果举行)上届满。在举行的任何年度股东大会上,我们的董事将通过股东的普通决议案选举产生。在每次年度股东大会上,如此当选的每位董事应任期一年,直至选举其各自的继任人或罢免为止。
董事可以通过普通决议案罢免。
董事可随时通过书面通知我们辞职或退休。除非通知指定了不同的日期,否则董事应被视为在通知交付给我们之日辞职。
124
在不违反本条款规定的前提下,在以下情况下,董事的职务可以立即终止:
| (a) | 开曼群岛法律禁止他担任董事; |
| (b) | 他已破产,或与债权人作出一般的安排或组成; |
| (c) | 他通过通知我们辞去职务; |
| (d) | 他仅担任固定任期的董事,该任期届满; |
| (e) | 接受治疗的注册医生认为,他在身体上或精神上已无能力担任董事; |
| (f) | 其他多数董事(人数不少于两名)通知他离职(但不影响因违反与提供该董事服务有关的任何协议而提出的任何损害赔偿要求); |
| (g) | 通过法院命令或其他方式,使他受与精神健康或无能有关的任何法律的约束;要么 |
| (h) | 未经其他董事同意,他将连续六个月缺席董事会议。 |
薪酬委员会以及提名和公司治理委员会均应至少由三名董事组成,并且大多数委员会成员应为《纳斯达克上市规则》第5605(a)(2)条所指的独立成员。审核委员会应由至少三名董事组成,所有董事均应为《纳斯达克上市规则》第5605(a)(2)条所指的独立董事,并应符合《上市规则》第10a-3条或《上市规则》规定的独立性标准。交易法第10c-1条。
董事的权力和义务
在遵守《开曼公司法》以及我们经修订和重述的组织章程大纲和细则的规定的前提下,我们的业务应由董事管理,董事可以行使我们的所有权力。董事的任何先前行为均不得因我们的组织章程大纲或细则的任何后续变更而无效。但是,在《开曼公司法》允许的范围内,股东可以通过特别决议来验证董事先前或将来的任何行为,否则将违反其职责。
董事可以将其任何权力下放给由一个或多个不必是股东的人组成的任何委员会并且只要这些人中的大多数是董事,就可以包括非董事;如此组成的任何委员会在行使如此委派的权力时均应遵守董事可能施加给它的任何规定。此次发行完成后,我们的董事会将成立审核委员会,薪酬委员会以及提名和公司治理委员会。
董事会可以建立任何地方或部门的董事会或机构,并将其权力和权限(有权再委派)下放给它,以管理我们在开曼群岛或其他地方的任何事务并可委任任何人为本地或分区董事会成员,或经理或代理人,并可厘定其薪酬。
董事可不时通过授权书或以其确定的任何其他方式任命任何人,无论是一般任命还是就任何特定事项任命,成为我们的代理人,无论该人是否有权委托该人的全部或任何权力。
董事可以不时通过授权书或以他们确定的任何其他方式任命任何人,无论是由董事直接还是间接提名,成为我们的律师或我们的授权签字人,并在他们认为合适的期限和条件下。但是,权力,权限和酌处权不得超过董事根据本条款赋予或行使的权力,权限和酌处权。
董事会可以罢免如此任命的任何人,并可以撤销或更改授权。
董事可以行使我们的所有权力来借钱,抵押或抵押其现有和未来以及未赎回资本或其任何部分的业务,财产和资产,发行债券和其他证券,无论是直接发行还是作为任何债务的抵押担保,我们或我们的母公司(如果有)或我们或任何第三方的任何子公司的责任或义务。
125
董事不得作为董事对其拥有重大利益(连同与其相关的任何人的任何利益)的任何合同,交易,安排或提案进行表决(除非凭借他的直接或间接利益,(以我们的股份,债权证或其他证券的形式,或以其他方式在我们内部或通过我们),如果他这样做,他的投票将不计入,也不计入出席会议的法定人数,但是(在没有以下提及的其他重大利益的情况下),这些禁止均不适用于:
| (a) | 就以下方面提供任何担保,保证或赔偿: | |
| (i) | 他或任何其他人为我们或我们的任何子公司的利益借出的款项或承担的义务;要么 | |
| (ii) | 董事本人根据担保或弥偿或提供担保而单独或与他人共同承担全部或部分责任的我们或我们的任何子公司的债务或义务; | |
| (b) | 如果我们或我们的任何子公司正在提供要约董事有权或可能有权作为证券持有人参与的证券,或董事将要参与或可能参与的承销或分承销; | |
| (c) | 影响他直接或间接拥有权益的任何其他法人团体的任何合同,交易,安排或提议,无论是作为高级管理人员,股东,债权人还是以其他方式,提供他(连同与他有关的人)据他所知并不持有代表该法人团体(或衍生其权益的任何第三法人团体)的任何类别股本的百分之一或以上的权益)或相关法人团体的股东可享有的投票权; | |
| (d) | 就任何安排已作出或将作出的任何作为或事情为了我们或我们的任何子公司的雇员的利益,他未被授予董事的任何特权或利益,而该特权或利益通常不授予与该安排有关的雇员;要么 | |
| (e) | 与购买或维护任何保险董事免于承担任何责任或(在开曼公司法允许的范围内)有利于董事的赔偿有关的任何事项,一名或多名董事为针对他或他们的法律程序辩护而为支出提供的资金,或为使该一名或多名董事能够避免招致此类支出而采取的任何行动。 |
董事可以作为董事对其拥有非重大利益或如上所述的任何合同,交易,安排或提议进行表决(并计入法定人数)。
利润资本化
董事可决定将以下资金资本化:
| (a) | 我们不需要支付任何优先股息的利润的任何部分(无论这些利润是否可用于分配);要么 | |
| (b) | 计入我们的股票溢价账户或资本赎回准备金(如有)的任何款项。 |
决定资本化的金额必须分配给有权获得该金额的股东,如果该金额以股息和相同比例分配的话。
126
清算权
如果我们清盘,则在遵守《开曼公司法》所规定的条款和任何其他制裁的前提下,股东可以通过一项特别决议,允许清算人采取以下任何一项或两项措施:
| (a) | 在股东之间实物分配我们全部或任何部分资产,并为此目的对任何资产进行估值,并确定如何在股东或不同类别的股东之间进行分配;和 | |
| (b) | 将全部或任何部分资产归属于受托人,以使股东和有责任为清盘作出贡献的人受益。 |
董事有权代表我们向开曼群岛大法院提出清盘呈请,而无需获得股东大会通过的决议的批准。
会员名册
根据《开曼公司法》,我们必须保存会员名册,并应在其中输入:
| ● | 公司成员的姓名和地址,即每个成员所持股份的声明,该声明:根据股份数量区分每股股份(只要股份有编号);确认已支付或同意被视为已支付的金额,关于每个会员的股份;确认每个会员持有的股份的数量和类别;并确认会员持有的每个相关类别的股份是否具有《章程》规定的表决权,如果是,则该表决权是否有条件; | |
| ● | 任何人的姓名以会员身分记入登记册的日期;及 | |
| ● | 任何人停止成为会员的日期。 |
为此目的,“表决权”是指授予股东的权利,包括任命或罢免董事的权利,涉及其股份在公司股东大会上对所有或几乎所有事项进行表决的权利。如果表决权仅在某些情况下产生,则表决权是有条件的。
根据《开曼公司法》,公司成员名册是其中所列事项的初步证据(即,除非被驳回,否则会员名册将就上述事项提出事实推定。(由1998年第25号第2条修订根据《开曼公司法》,在股东名册中注册的股东被视为对股份具有法定所有权,该所有权与其在股东名册中的名称相对应。发行完成后,将立即更新会员名册,以记录并使我们向托管人或其代名人发行股票生效。一旦更新了我们的股东名册,记录在股东名册中的股东将被视为对以其名义设定的股份具有合法所有权。
如果任何人的姓名被错误地输入或从我们的股东名册中省略,或者如果在输入名册中存在任何默认或不必要的延迟,则任何人已不再是我们公司的股东,受害的个人或股东(或我们公司或我们公司本身的任何股东)可以向开曼群岛大法院申请命令更正登记册,法院可以拒绝该申请,也可以,如对案件的公正性感到满意,则作出更正登记册的命令。
公司法的差异
《开曼公司法》在很大程度上源自英格兰和威尔士的《旧公司法》,但并未遵循英国最近的成文法,因此,《开曼公司法》与现行的《英格兰公司法》之间存在重大差异。威尔士。此外,《开曼公司法》与适用于美国公司及其股东的法律不同。以下概述了适用于我们的《开曼公司法》的规定与适用于在美国特拉华州注册成立的公司的可比法律之间的某些重大差异。
127
合并及类似安排
《开曼公司法》允许开曼群岛公司之间以及开曼群岛公司与非开曼群岛公司之间的合并和合并。为此目的,(a)“合并”是指两个或多个组成公司的合并,并将其业务,财产和负债归属于尚存的公司等公司之一,(b)“合并”是指将两个或多个组成公司合并为一个合并公司,并将这些公司的业务,财产和负债归属于合并公司。为了进行这种合并或合并,每个组成公司的董事必须批准书面合并或合并计划,然后必须由(a)每个组成公司股东的特别决议授权,以及(b)此类其他授权(如果有),该组成公司的公司章程中可能指定的内容。该计划必须与公司注册处一起提交,并附有关于合并或幸存公司的偿付能力的声明,每个组成公司的资产和负债清单,并承诺将向每个组成公司的股东和债权人提供合并或合并证书的副本,并且合并或合并通知将在开曼群岛宪报上发布。根据这些法定程序进行的合并或合并不需要法院批准。
开曼群岛母公司与其开曼群岛子公司之间的合并不需要股东决议的授权。为此目的,子公司是母公司拥有至少90%有权投票的已发行股份的公司。
除非开曼群岛法院放弃该要求,否则必须征得组成公司的固定或浮动担保权益的每个持有人的同意。
除非在某些有限的情况下,否则开曼群岛组成公司的异议股东有权在不同意合并或合并时支付其股份的公允价值。行使此类异议权将阻止异议股东行使其因持有股份而可能享有的任何其他权利,但以合并或合并无效或非法为由寻求救济的权利除外。
此外,还有一些法律规定可以促进公司的重组和合并,但前提是该安排必须获得与之进行安排的每一类股东和债权人的多数批准,此外,代表亲自出席或由代理人出席为此目的召开的一次或多次会议并投票的每一类股东或债权人(视情况而定)的价值的四分之三。会议的召开以及随后的安排必须得到开曼群岛大法院的批准。尽管持异议的股东有权向法院表达不应批准该交易的观点,但如果法院确定以下情况,则可以期望法院批准该安排:
| (a) | 关于法定多数票的法定规定已得到满足; |
| (b) | 股东在有关会议上有公平的代表,法定多数人在不胁迫少数人的情况下真诚行事,以促进不利于该类别利益的利益; |
| (c) | 该安排可由该阶层中一名为其利益行事的聪明诚实的人合理地批准;及 |
| (d) | 根据《开曼公司法》的某些其他规定,该安排不会受到更适当的制裁。 |
当提出要约并在四个月内被受影响的90%的股份的持有人接受时,要约人可以在该四个月期限届满之日起的两个月内,要求剩余股份的持有人根据要约条款转让此类股份。可以向开曼群岛大法院提出异议,但如果要约已获得批准,则除非有欺诈,恶意或串通的证据,否则这不太可能成功。
128
如果因此批准了安排和重组,或者提出并接受了收购要约,则异议股东将没有与评估权可比的权利,否则特拉华州公司的异议股东通常可以获得评估权,提供以司法确定的股份价值收取现金付款的权利。
股东诉讼
原则上,我们通常是起诉我们作为公司所犯错误的适当原告,并且作为一般规则,小股东可能不会提起衍生诉讼。但是,根据英国法律权威,该权威很可能在开曼群岛具有说服力,可以预期开曼群岛法院将遵循并适用普通法原则(即Foss诉Harbottle的规则及其例外),因此可以允许非控股股东以公司的名义对以下行为提起集体诉讼或衍生诉讼:
| (a) | 对公司而言是非法或越权的行为,因此无法获得股东的批准; |
| (b) | 尽管不越权,但需要获得合格(或特别)多数(即不仅仅是简单多数)授权但尚未获得的行为;和 |
| (c) | 构成“对少数人的欺诈”的行为,其中违法者自己控制着公司。 |
董事和执行官的赔偿和责任限制
开曼群岛法律并不限制公司章程可以规定对高级职员和董事进行赔偿的程度,除非开曼群岛法院认为任何此类规定违反公共政策,例如,对民事欺诈或犯罪后果提供赔偿。我们的公司章程规定,在法律允许的范围内,我们应赔偿每位现任或前任秘书,董事(包括候补董事)以及我们的任何其他高级职员(包括投资顾问或管理人或清算人)及其个人代表反对:
| (a) | 现任或前任董事(包括候补董事),秘书发生或承受的所有诉讼,诉讼,费用,收费,费用,损失,损害或负债,或与我们的业务或事务有关的人员,或执行或履行现有或前任董事(包括候补董事),秘书或高级职员的职责,权力,权限或酌处权的人员;和 |
| (b) | 在不限于上述(a)款的前提下,现任或前任董事(包括候补董事),秘书或高级管理人员为辩护(无论是成功还是其他方式)任何民事,刑事,行政,或调查程序(无论是否受到威胁,(待决或已完成),涉及我们或我们在开曼群岛或其他地方的任何法院或法庭的事务。 |
但是,此类现任或前任董事(包括候补董事),秘书或高级职员因其自身的不诚实行为而引起的任何事项均不得获得赔偿。
在法律允许的范围内,我们可以通过预付款,贷款或其他方式支付或同意支付现任或前任董事(包括候补董事),秘书产生的任何法律费用,或我们的任何高级管理人员就上述任何事项提出的条件是,董事(包括候补董事),秘书或高级管理人员必须偿还我们支付的款项,直至最终被发现无责任赔偿董事(包括候补董事),秘书,或该官员的法律费用。
129
该行为标准通常与《特拉华州总公司法》对特拉华州公司允许的行为标准相同。此外,我们打算与董事和执行官签订赔偿协议,以向这些人提供超出公司章程规定的其他赔偿。
我们条款中的反收购规定
公司章程的某些规定可能会阻止,延迟或阻止股东认为有利的对公司或管理层的控制权变更,包括授权董事会在董事会决定的时间,条款和条件下发行股票的规定,而无需股东进一步投票或采取行动。
根据《开曼公司法》,我们的董事仅可真诚地认为符合我们公司的最佳利益并出于适当目的行使我们公司章程赋予他们的权利和权力。
董事的信托义务
根据特拉华州公司法,特拉华州公司的董事对公司及其股东负有信托义务。这一义务由两部分组成:注意义务和忠诚义务。谨慎的义务要求董事真诚行事,并谨慎行事,就像通常审慎的人在类似情况下会行使的那样。根据这一职责,董事必须告知自己并向股东披露有关重大交易的所有合理可用的重要信息。忠诚义务要求董事以其合理认为符合公司最大利益的方式行事。他或她不得利用其公司职务谋取私利或利益。该义务禁止董事进行自我交易,并规定公司及其股东的最大利益优先于董事,高级管理人员或控股股东所拥有的,股东通常不享有的任何利益。一般而言,假定董事的行为是在知情的基础上,真诚地并真诚地认为所采取的行动符合公司的最大利益。但是,如果有证据表明违反了其中一项信托义务,则可以推翻这一推定。如果董事提出有关交易的此类证据,则董事必须证明交易的程序公平性,并且该交易对公司具有公允价值。
根据开曼群岛法律,董事对公司负有三类职责:(i)法定职责,(ii)信托职责和(iii)普通法职责。《开曼公司法》对董事施加了许多法定职责。开曼群岛董事的信托义务尚未编纂,但是开曼群岛法院认为董事应承担以下信托义务(a)有义务以董事真诚认为符合公司最大利益的方式行事,(b)为所赋予的目的行使权力的义务;(c)避免今后束缚其自由裁量权的义务;以及(d)避免利益冲突和职责冲突的义务。董事所负的普通法职责是指合理地预期执行与该董事就公司所执行的职能相同的职能的人所具有的技能,谨慎和勤勉的行为,以及具有的行为技能,谨慎和勤奋,以符合与他们所拥有的任何特定技能相称的谨慎标准,这使他们能够达到比没有这些技能的董事更高的标准。在履行对我们的谨慎义务时,我们的董事必须确保遵守不时修订和重述的公司章程。如果违反了我们任何董事所欠的义务,我们有权要求赔偿。
股东提案
根据《特拉华州总公司法》,只要符合管理文件中的通知规定,股东有权将任何提案提交股东年会。特拉华州总公司法并未赋予股东在股东周年大会上提出任何提案的明确权利,但根据普通法,特拉华州的公司通常为股东提供提出建议和提名的机会,前提是他们必须遵守公司注册证书或章程中的通知规定。董事会或管理文件中授权的任何其他人可以召集特别会议,但可能不允许股东召集特别会议。
130
《开曼公司法》仅赋予股东要求召开股东大会的有限权利,并未赋予股东在股东大会上提出任何提案的权利。但是,这些权利可以在公司的公司章程中提供。我们的公司章程提供股东大会应根据有权出席的一名或多名股东的书面要求召开并在我们的股东大会上投票,这些股东(根据公司章程的通知规定)在该股东大会上拥有不少于10%的投票权,指定会议的目的,并由提出要求的每个股东签署。如果董事未在收到书面请求之日起21个整日之内召开该会议,要求召开会议的股东可以在该21个整日的期限结束后的三个月内亲自召开股东大会,在这种情况下,由于董事未能召开会议而产生的合理费用应由我们偿还。我们的公司章程没有规定在年度股东大会或临时股东大会上提出任何提案的其他权利。作为开曼群岛获豁免的公司,我们没有法律义务召集股东周年大会。
累积投票
根据《特拉华州总公司法》,除非公司的公司注册证书明确规定,否则不得对董事选举进行累积投票。累积投票可能会促进少数股东在董事会中的代表,因为它允许少数股东将股东有权获得的所有票数投给一名董事,这增加了股东选举该董事的投票权。根据《开曼公司法》的允许,我们的公司章程未规定累积投票权。因此,与特拉华州公司的股东相比,我们的股东在此问题上获得的保护或权利没有任何减少。
罢免董事
根据《特拉华州总公司法》,除非公司注册证书另有规定,否则只有在有权投票的大多数流通股批准的情况下,才能出于正当理由罢免拥有机密董事会的公司董事。在遵守我们公司章程的规定(包括通过普通决议案罢免董事)的前提下,如果(a)开曼群岛法律禁止其担任董事,则董事职务可以立即终止,(b)他已破产或与其债权人作出一般安排或组成,(c)他借向我们发出通知而辞职,(d)他只担任固定任期的董事,而该任期届满,(e)他正接受治疗的注册医生认为他在身体上或精神上已无能力担任董事,(f)其他大多数董事(人数不少于两名)已通知他离职(但不影响因违反与提供该董事的服务有关的任何协议而提出的任何损害赔偿要求),(g)他必须遵守与精神健康或无能有关的任何法律,无论是通过法院命令还是其他方式,或者(h)未经其他董事同意,他连续六个月缺席董事会议。
与感兴趣的股东的交易
特拉华州总公司法包含适用于特拉华州上市公司的企业合并法规,根据该法规,除非公司通过修改公司注册证书或股东批准的章程明确选择不受该法规的约束,自“利害关系人”成为利害关系人之日起三年内,禁止与“利害关系人”进行某些业务合并。感兴趣的股东通常是指拥有或拥有目标公司15%或以上的有表决权的股份的个人或集团,或者是公司的关联公司或联营公司的个人或集团并在过去三年中拥有公司15%或更多的有表决权的股份。这会限制潜在收购方对目标进行两级出价的能力,在该目标中,不会平等对待所有股东。如果(其中包括)在该股东成为有利益关系的股东之日之前,董事会批准了导致该人成为有利益关系的股东的业务合并或交易,则该法规不适用。这鼓励特拉华州公司的任何潜在收购方与目标公司的董事会协商任何收购交易的条款。
131
开曼公司法没有可比的法规。因此,我们无法利用《特拉华州企业合并法规》提供的保护类型。但是,尽管《开曼公司法》并未规范公司与其重要股东之间的交易,根据开曼群岛法律,此类交易必须出于公司的最佳利益并出于适当的公司目的而真诚进行,而不会构成对少数股东的欺诈。
解散;清盘
根据《特拉华州总公司法》,除非董事会批准解散提案,否则解散必须获得持有公司总投票权100%的股东的批准。只有在董事会发起解散的情况下,才能获得公司流通股的简单多数批准。特拉华州法律允许特拉华州公司在其公司注册证书中包含与董事会发起的解散有关的多数表决要求。
根据《开曼公司法》和我们的公司章程,公司可以通过股东的特别决议进行清算,或者如果清算是由董事会发起的,则可以通过成员的特别决议进行清算,或者如果我们的公司无法偿还到期的债务,则通过会员的普通决议。此外,开曼群岛法院的命令可能会使公司清盘。法院有权在若干特定情况下下令清盘,包括法院认为这样做是公正和公平的情况。
股份权利的变更
根据《特拉华州总公司法》,除非公司注册证书另有规定,否则公司可以在该类多数流通股的批准下更改该类股份的权利。根据《开曼公司法》和《公司章程》,如果我们的股本分为一类以上的股份,任何类别的股份所附的权利(除非该类别股份的发行条款另有规定)可以在不少于该类别已发行股份的三分之二的持有人的书面同意下进行变更,或经不少于三分之二的该类股份持有人亲自出席或由代理人出席该类别股份持有人的单独股东大会通过的决议的批准。
修订管理文件
根据《特拉华州总公司法》,只有在董事会通过并宣布建议并获得大多数有表决权的流通股批准的情况下,才能修改公司的成立证书,并且章程可以在大多数有权投票的流通股的批准下进行修改,并且如果公司注册证书中有此规定,则董事会也可以进行修改。根据《开曼公司法》,我们的公司章程只能通过股东的特别决议进行修改。
反洗钱-开曼群岛
为了遵守旨在防止洗钱的法律或法规,我们可能需要采用和维护反洗钱程序,并可能要求订户提供证据以验证其身份。在允许的情况下,并在一定条件下,我们还可以将维护反洗钱程序(包括获取尽职调查信息)的工作委托给合适的人。
我们保留要求提供必要信息以验证订户身份的权利。如果订户延迟或未能提供验证所需的任何信息,我们可能会拒绝接受该申请,在这种情况下,收到的任何资金将不计利息地退还给最初借记的帐户。
我们还保留拒绝向股东支付任何赎回款项的权利如果我们的董事或高级管理人员怀疑或被告知向该股东支付赎回收益可能导致任何相关司法管辖区的任何人违反适用的反洗钱或其他法律或法规,或如果认为这种拒绝是必要或适当的,以确保我们在任何适用司法管辖区遵守任何此类法律或法规。
132
如果居住在开曼群岛的任何人知道或怀疑或有理由知道或怀疑另一人从事犯罪行为或参与恐怖主义或恐怖主义财产,以及他们在受监管部门或其他行业,专业,业务或就业的业务过程中注意到这种知识或怀疑,该人将被要求根据收益向(i)指定官员(根据开曼群岛《犯罪收益法》(修订版)任命)或开曼群岛财务报告机构报告此类知识或怀疑犯罪法(修订版),如果披露涉及犯罪行为或洗钱,或(ii)涉及警察或指定官员(根据开曼群岛《反恐怖主义法》(经修订))或财务报告机构(根据《反恐怖主义法》(经修订)),如果披露的内容涉及参与恐怖主义或资助恐怖主义和恐怖主义财产。此类报告不应被视为违反任何成文法则或其他方式对信息披露施加的信任或任何限制。
开曼群岛的数据保护–隐私声明
本隐私通知解释了我们根据开曼群岛2017年《数据保护法》(不时修订)以及任何法规,业务守则或命令收集,处理和维护有关公司投资者的个人数据的方式。据此颁布(“DPL”)。
我们致力于按照DPL处理个人数据。在使用个人数据时,我们将在DPL下被称为“数据控制器”,而我们的某些服务提供商,关联公司和代表可以在DPL下充当“数据处理器”。这些服务提供商可能会出于与提供给我们的服务有关的合法目的处理个人信息。
凭借您对公司的投资,我们和我们的某些服务提供商可能会收集,记录,存储,转移和以其他方式处理个人数据,从而可以直接或间接地识别个人。
您的个人数据将得到公平合理的处理,以用于合法目的,包括(a)如果我们需要进行处理以履行您为订约方的合同或应您的要求采取合同前步骤,(b)处理是遵守任何法律所必需的,我们应承担的税收或监管义务,或(c)处理是为了我们或向其披露数据的服务提供商追求的合法利益。作为数据控制器,我们只会将您的个人数据用于我们收集数据的目的。如果我们需要将您的个人数据用于不相关的目的,我们将与您联系。
我们预计,出于本隐私通知中规定的目的,我们将与我们的服务提供商共享您的个人数据。在合法且有必要遵守我们的合同义务或您的指示的情况下,或者在与任何监管报告义务有关的必要或可取的情况下,我们也可能共享相关的个人数据。在特殊情况下,我们将与监管,检察和其他政府机构或部门以及诉讼各方(无论是未决还是受到威胁)共享您的个人数据,在我们有公共或法律义务这样做的任何国家或地区,包括对任何其他人(例如,协助发现和防止欺诈,逃税和金融犯罪或遵守法院命令)。
就数据处理而言,公司持有您的个人数据的时间不得超过必要的时间。
我们不会出售您的个人数据。在开曼群岛以外的任何个人数据转移均应符合DPL的要求。在必要时,我们将确保与该数据的接收者订立单独和适当的法律协议。
我们将仅根据DPL的要求传输个人数据,并将采用适当的技术和组织信息安全措施,以防止未经授权或非法处理个人数据以及防止个人数据的意外丢失,破坏或损坏。数据。
如果你是一个自然人,这将直接影响到你。如果您是公司投资者(包括为此目的的法律安排,例如信托或获豁免的有限合伙企业),出于与您对公司的投资有关的任何原因,向我们提供与您有联系的个人的个人数据,这将与这些个人相关,您应该将内容告知这些个人。
根据DPL,您拥有某些权利,包括(a)被告知我们如何收集和使用您的个人数据的权利(并且本隐私通知履行了我们在这方面的义务),(b)获得以下内容副本的权利:您的个人数据,(c)要求我们停止直接营销的权利,(d)纠正不准确或不完整的个人数据的权利,(e)撤回您的同意并要求我们停止处理或限制处理或不开始处理的权利处理您的个人数据,(f)被通知数据泄露的权利(除非该泄露不太可能造成损害),(g)获得有关我们直接或间接向其提供的开曼群岛以外的任何国家或地区的信息的权利,转移,打算转移,或希望转移您的个人数据,我们为确保个人数据安全而采取的一般措施以及我们可获得的有关您的个人数据来源的任何信息,(h)向开曼群岛监察员办公室投诉的权利群岛,(i)有权要求我们在某些有限的情况下删除您的个人数据。
133
如果您认为您的个人数据未得到正确处理,或者您对我们对您提出的有关使用个人数据的任何请求的答复不满意,则您有权向开曼群岛监察员投诉。可以致电+1(345)946-6283或通过电子邮件info@ombudsman.ky与监察员联系。
股票发行历史
以下是我们自成立以来的股票发行摘要。
作为重组的一部分,我们采取了以下公司行动:
2019年7月26日,我们向香颂国际的某些创始股东发行了以下普通股:
| 购买者 | 发行日期 | 普通股数量 | ||||
| 丹东环球有限公司 | 七月26,2019 | 93 | ||||
| 海利环球有限公司 | 七月26,2019 | 3 | ||||
| Yetta Global Limited | 七月26,2019 | 2 | ||||
| YVAN环球有限公司 | 七月26,2019 | 2 | ||||
2021年3月27日,我们的股东和董事会批准(i)按1,000比1的比例对流通在外的普通股进行远期拆分,以及(ii)创建A类普通股和B类普通股分享。2021年3月29日,我们向开曼注册服务商提交了第二份经修订和重述的组织章程大纲和细则,以采取此类公司行动,该文件于2021年3月31日生效。
2021年3月27日,我们的股东批准将已发行的普通股重新指定为A类普通股,如下表所示:
| 股东 | 数量 A级 普通 股份 |
|||
| 丹东环球有限公司 | 90,000 | |||
| Yetta Global Limited | 2,000 | |||
| YVAN环球有限公司 | 2,000 | |||
2021年3月27日,我们的股东批准将已发行的普通股重新指定为B类普通股,如下表所示:
| 股东 | 数量 B级 普通 股份 |
|||
| 海利环球有限公司 | 3,000 | |||
| C&C Capital Investments LLC | 3,000 | |||
2021年3月27日,我们的董事会批准向以下股东发行A类普通股和B类普通股,以将本次发行完成前已发行和流通的普通股总数从100,000股增加到9,000,000股:
| 购买者 | 证券 | 证券数量 | ||||
| 丹东环球有限公司 | A类普通股 | 2,610,000 | ||||
| 丹东环球有限公司 | B类普通股 | 5,400,000 | ||||
| 海利环球有限公司 | B类普通股 | 267,000 | ||||
| Yetta Global Limited | A类普通股 | 178,000 | ||||
| YVAN环球有限公司 | A类普通股 | 178,000 | ||||
| C&C Capital Investments LLC | B类普通股 | 267,000 | ||||
134
符合未来出售条件的股票
在首次公开募股之前,我们的A类普通股没有公开市场,尽管我们希望申请A类普通股在纳斯达克资本市场上市,我们的A类普通股的常规交易市场可能不会发展。首次公开募股后,未来在公开市场上出售大量A类普通股,或发生这些出售的可能性,可能导致我们的A类普通股的现行市场价格下跌或削弱我们未来筹集股本的能力。发行完成后,如果承销商不行使其超额配股权,我们将拥有公众股东持有的流通在外的A类普通股,约占已发行A类普通股的49.50%,以及如果承销商完全行使其超额配股权,则约占已发行A类普通股的53.00%。本次发行中出售的所有A类普通股将由我们的“关联公司”以外的其他人自由转让,不受《证券法》的限制或进一步注册。
锁定协议
自本招股说明书发布之日起六个月内,除某些例外情况外,我们的每位董事,执行官和拥有5%或以上A类普通股的股东均已同意不出售,转让或处置直接或间接地未经承销商事先书面同意,我们的任何A类普通股或可转换为,可行使或交换为A类普通股的证券。
我们不知道有任何重要股东计划出售大量A类普通股。但是,一个或多个现有股东或可转换为或可转换为A类普通股或可行使为A类普通股的证券的所有者将来可能会出售大量A类普通股。我们无法预测A类普通股的未来出售或可供未来出售的A类普通股的可用性会不时对A类普通股的交易价格产生什么影响。在公开市场上出售大量A类普通股,或认为可能发生这些出售,可能会对A类普通股的交易价格产生不利影响。
规则144
本次发行完成前我们所有流通在外的A类普通股均为《证券法》第144条所定义的“限制性证券”,并且只能在美国公开出售如果它们受《证券法》规定的有效注册声明的约束,或者受《证券法》颁布的第144条和第701条规定的注册要求的豁免。
一般而言,根据本招股说明书日期后90天开始生效的第144条规则,在出售前三个月内的任何时候都不被视为我们的关联公司,并且实益拥有规则144所指的限制性证券超过六个月的人,将有权出售无限数量的这些股份,仅取决于有关我们的当前公共信息的可用性。自从我们或我们的关联公司购买这些股份之日起至少一年实益拥有限制性证券的非关联公司将有权自由出售这些股份。
135
被视为我们的关联公司并实益拥有“限制性证券”至少六个月的人有权在任何三个月内出售不超过以下两者中较大者的股份:
| ● | 假设承销商未行使其超额配股权,则以A类普通股或其他形式发行的A类普通股数量的1%,约等于本次发行后立即发行的6,060,000股;要么 | |
| ● | 在144表格上提交有关此类出售的通知之前的四个日历周内,纳斯达克资本市场上A类普通股的平均每周交易量。 |
我们的关联公司或代表我们的关联公司出售股票的人根据规则144进行的销售还应遵守某些销售方式的规定和通知要求,以及有关我们的当前公共信息的可用性。
规则701
一般而言,根据现行的《证券法》第701条,我们的每位员工,顾问,或根据本次发行完成前执行的补偿性股票计划或其他书面协议向我们购买我们的A类普通股的顾问,有资格根据规则144转售这些A类普通股,但不遵守规则144中包含的某些限制,包括持有期限。但是,规则701的股票仍将受到锁定安排的约束,并且只有在禁售期届满时才有资格出售。
法规S
S法规通常规定,在离岸交易中进行的销售不受《证券法》的注册或招股说明书交付要求的约束。
136
重大所得税注意事项
中华人民共和国中华企业税
以下对中国企业所得税的简要说明旨在突出企业一级对我们收益的征税,这将影响我们最终能够支付给股东的股息金额(如果有)。请参阅“股息政策。”
根据SCNPC于2007年3月16日颁布的《企业所得税法》,该法于2008年1月1日生效,于2017年2月24日修订,最近于2018年12月29日修订,以及《企业所得税法》的实施规则,国务院于2007年12月6日发布,自2008年1月1日起施行,企业分为居民企业和非居民企业。居民企业在中国境内外取得的收入,按25%的税率缴纳企业所得税。非居民企业在中国境内设立机构的,对该机构在中国境内外取得的收入,按25%的税率缴纳企业所得税。在中国没有机构的非居民企业,以及与其在中国的机构没有实质性联系的收入的非居民企业,应按降低的10%的税率对其在中国获得的收入缴纳企业所得税。
我们是一家在开曼群岛注册成立的控股公司,我们通过从中国子公司支付给我们的股息获得可观的收入。《企业所得税法》及其实施细则规定,外国企业的中国来源收入,例如中国子公司向非居民企业的股权持有人支付的股息,通常应按10%的税率缴纳中国预扣税,%,除非任何此类外国投资者的注册成立司法管辖区与中国签订了规定优惠税率或免税的税收协定。
根据《企业所得税法》,在中国境外设立并在中国境内设有“事实上的管理机构”的企业被视为“居民企业”,这意味着出于企业所得税目的,其待遇与中国企业相似。尽管《企业所得税法》的实施规则将“事实上的管理机构”定义为在实践中对企业的生产和运营,人员,会计和财产进行“实质性和全面的管理和控制”的管理机构,目前唯一可用的有关此定义的官方指南在SAT第82号通知中阐明,该通知为确定中国控制的离岸注册成立企业的税收居民身份提供了指南,定义为根据外国或地区的法律注册成立并以中国企业或企业集团为主要控股股东的企业。尽管香颂国际没有中国企业或企业集团作为我们的主要控股股东,因此不是SAT第82号通知所指的中国控制的离岸注册成立企业,但在没有特别适用于我们的指导下,我们已应用SAT第82号通知中规定的指南来评估香颂国际及其在中国境外组织的子公司的税收居住状况。
根据SAT82通知,由于在中国拥有“事实上的管理机构”,中国控制的离岸注册成立企业将被视为中国税收居民,并且仅对其全球收入缴纳中国企业所得税具备下列条件的:(一)负责企业日常生产经营管理的高级管理人员和高级管理部门主要在中国境内履行职责的地点;(二)财务决策(如借款、借款、借款等),财务和财务风险管理)和人事决定(例如任用,解雇以及薪金和工资)由位于中国境内的组织或个人决定或需要决定;(iii)主要财产,会计账簿,公司印章,企业的董事会和股东大会记录的档案位于或保存在中国境内;(iv)半数(或以上)有表决权的董事或高级管理人员惯常居住在中国境内。
我们认为,我们不符合前一段概述的一些条件。例如,作为一家控股公司,香颂国际的关键资产和记录,包括董事会的决议和会议记录以及股东的决议和会议记录,均位于并维护在中国境外。出于同样的原因,我们认为我们在中国境外的其他实体也不是中国居民企业。此外,我们不知道有任何离岸控股公司的公司结构与我们相似,被中国税务机关视为中国“居民企业”。因此,我们认为,如果国家税务总局第82号通知中规定的“事实上的管理机构”标准被视为适用于我们,则出于中国税收目的,香颂国际及其离岸子公司不应被视为“居民企业”。但是,企业的税收居民身份由中国税务机关确定,对于适用于我们离岸实体的“事实上的管理机构”一词的解释仍存在不确定性,我们将继续监控我们的税收状况。
137
《企业所得税法》的实施规则规定,(i)如果分配股息的企业在中国注册,或者(ii)如果通过转让在中国注册的企业的股权实现了收益,则将此类股息或收益视为中国来源的收入。尚不清楚《企业所得税法》如何解释“住所”,也可能将其解释为企业是税收居民的司法管辖区。因此,如果出于中国税收目的将我们视为中国税收居民企业,我们向非居民企业的海外股东支付的任何股息以及这些股东从转让我们的股份中获得的收益均可视为中国来源的收入,因此应按以下税率缴纳中国预扣税:高达10%。我们的中国法律顾问Dentons,无法提供“意愿”意见,因为它认为我们和我们的离岸子公司很可能出于中国税收目的被视为非居民企业,因为我们不符合SAT通知中概述的某些条件82。此外,截至招股说明书发布之日,Dentons尚不知道任何具有与我们类似公司结构的离岸控股公司被中国税务机关视为中国“居民企业”。因此,Dentons认为,我们的海外股东收到的收入有可能但极不可能被视为中国来源的收入。
请参阅“风险因素-与在中国开展业务有关的风险-根据《中国企业所得税法》,出于中国企业所得税目的,我们可能被归类为中国“居民企业”。此类分类可能会对我们和我们的非中国股东造成不利的税收后果,并对我们的经营成果和您的投资价值产生重大不利影响。”
如果中国税务机关出于企业所得税目的确定香颂国际为中国居民企业,则可能会产生许多不利的中国税收后果。首先,我们将对全球收入统一征收25%的企业所得税。此外,我们还将承担中国企业所得税报告义务。最后,我们可能需要从支付给非居民企业股东的股息中预扣10%的预扣税。此外,如果非居民企业股东因出售或以其他方式处置A类普通股或B类普通股而实现的收益被视为来自中国境内,则可能要缴纳10%的中国税。如果我们被确定为中国居民企业,则尚不清楚我们的非中国个人股东是否应就该非中国个人股东获得的股息或收益缴纳任何中国税。如果对此类股息或收益适用任何中国税,则通常适用20%的税率,除非根据适用的税收协定可以降低税率。同样不清楚的是,如果香颂国际被视为中国居民企业,香颂国际的非中国股东是否能够要求其税收居住国与中国之间的任何税收协定的利益。
香港税务
在香港注册成立的实体须在香港缴纳16.5%的利得税。
英属维尔京群岛税收
英属维尔京群岛目前不根据利润,收入,收益或增值向个人或公司征税,也没有遗产税或遗产税性质的税收。英属维尔京群岛政府对我们征收的其他税款可能不重大,但印花税可能适用于在英属维尔京群岛管辖范围内执行或在执行后执行的文书。英属维尔京群岛公司(持有英属维尔京群岛土地权益的公司除外)发行股份或转让股份时,无需在英属维尔京群岛缴纳印花税。英属维尔京群岛不是适用于向我们支付或由我们支付的任何双重税收协定的缔约方。英属维尔京群岛没有外汇管制条例或货币限制。
就我们的A类普通股或B类普通股支付的股息和资本将无需在英属维尔京群岛征税并且在向我们的A类普通股或B类普通股(视情况而定)的任何持有人支付股息或资本时,无需预扣,出售我们的A类普通股或B类普通股所获得的收益也无需缴纳英属维尔京群岛收入或公司税。
138
开曼群岛税收
以下是对投资A类普通股或B类普通股的某些开曼群岛所得税后果的讨论。讨论是对现行法律的一般概述,可能会进行前瞻性和追溯性更改。它无意作为税收建议,不考虑任何投资者的特殊情况,也不考虑开曼群岛法律规定以外的税收后果。
开曼群岛目前不根据利润,收入,收益或增值向个人或公司征税,也没有遗产税或遗产税性质的税收。开曼群岛政府对我们征收的其他税款可能不重大,但印花税可能适用于在开曼群岛执行或在执行后纳入开曼群岛司法管辖区的文书。开曼群岛公司(持有开曼群岛土地权益的公司除外)发行股份或转让股份时,无需在开曼群岛缴纳印花税。开曼群岛没有外汇管制法规或货币限制。
就我们的A类普通股或B类普通股支付的股息和资本将无需在开曼群岛征税并且在向我们的A类普通股或B类普通股(视情况而定)的任何持有人支付股息或资本时,无需预扣,出售我们的A类普通股或B类普通股获得的收益也无需缴纳开曼群岛收入或公司税。
美国联邦所得税
以下内容未解决对任何特定投资者或处于特殊税收情况下的人的税收后果:
| ● | 银行; | |
| ● | 金融机构; | |
| ● | 保险公司; | |
| ● | 受监管的投资公司; | |
| ● | 房地产投资信托; | |
| ● | 经纪交易商; | |
| ● | 选择将其证券标记为市场的人; | |
| ● | 美国外籍人士或前美国长期居民; | |
| ● | 政府或机构或其工具; | |
| ● | 免税实体; | |
| ● | 应缴纳替代性最低税的人; | |
| ● | 作为跨行,对冲,转换或综合交易的一部分持有我们的A类普通股的人; | |
| ● | 实际或建设性地拥有我们10%或更多投票权或价值的人(包括由于拥有我们的A类普通股); |
139
| ● | 根据行使任何员工购股权或其他方式获得我们的A类普通股的人; | |
| ● | 通过合伙企业或其他传递实体持有我们的A类普通股的人; | |
| ● | 持有我们的A类普通股的信托的受益人;要么 | |
| ● | 通过信托持有我们的A类普通股的人。 |
以下讨论仅针对在本次发行中购买A类普通股的美国持有人。敦促潜在的购买者就美国联邦所得税规则在其特定情况下的适用以及购买,拥有和处置A类股票对他们造成的州,地方,外国和其他税收后果咨询自己的税务顾问。普通股。
适用于美国A类普通股持有人的重大税收后果
以下列出了与我们的A类普通股的所有权和处置有关的重大美国联邦所得税后果。它针对我们的A类普通股的美国持有人(定义见下文),并基于自本招股说明书发布之日起生效的法律及其相关解释,所有这些法律和解释均可能发生变化。本说明未涉及与我们的A类普通股或美国税法的所有权和处置有关的所有可能的税收后果,但美国联邦所得税法除外,例如非美国税法,州,地方和其他税法。
以下简要说明仅适用于持有A类普通股作为资本资产并以美元作为功能货币的美国持有人(定义见下文)。本简要说明基于自本招股说明书发布之日起生效的美国联邦所得税法以及自本招股说明书发布之日起生效或在某些情况下提议的美国财政部法规,以及在该日期或之前可用的司法和行政解释。上述所有当局均可能发生变更,该变更可能追溯适用,并可能影响下文所述的税收后果。
如果您是A类普通股的实益拥有人,并且出于美国联邦所得税目的,以下有关美国联邦所得税对“美国持有人”的后果的简要说明将适用于您,
| ● | 是美国公民或居民的个人; | |
| ● | 根据美国,其任何州或哥伦比亚特区法律组建的公司(或出于美国联邦所得税目的应课税为公司的其他实体); | |
| ● | 不论其来源如何,其收入均应缴纳美国联邦所得税的遗产;要么 | |
| ● | 信任(1)受美国境内法院的主要监督,并受一个或多个美国人对所有重大决定的控制,或(2)根据适用的美国财政部法规具有有效的有效选举被视为美国人。 |
如果合伙企业(或出于美国联邦所得税目的被视为合伙企业的其他实体)是我们A类普通股的实益拥有人,则合伙企业中合伙人的税收待遇将取决于合伙人的身份和合伙企业的活动。敦促持有我们的A类普通股的合伙企业和合伙企业的合伙人就投资我们的A类普通股咨询其税务顾问。
如果个人满足以下“绿卡测试”或“实质性存在测试”,则出于联邦所得税目的,该个人被视为美国居民:
绿卡测试:根据美国移民法,您在任何时候都是美国的合法永久居民,如果您获得了作为移民永久居住在美国的特权。如果美国公民和移民服务局向您颁发了I-551表格的外国人登记卡(也称为“绿卡”),则您通常具有此身份。”
140
实质存在测试:如果外国人在当前日历年的至少31天在美国,如果以下各项之和等于183天或以上(请参阅《国内税收法》和相关的《美国财政部条例》第7701(b)(3)(A)条),则他或她将被归类为居民外国人:
| 1. | 当年在美国的实际天数;加 |
| 2. | 上一年他或她在美国的三分之一的时间;加 |
| 3. | 前一年他或她在美国的六分之一天。 |
对A类普通股的股息和其他分配征税
在遵守以下讨论的PFIC(定义见下文)规则的前提下,我们就A类普通股向您分配的总金额(包括从中预扣的任何税款)通常应包括在您收到之日的总收入中,作为股息收入,但仅在分配是从我们当期或累计的收入和利润(根据美国联邦所得税原则确定)中支付的范围内。对于美国公司持有人,股息将不符合从其他美国公司收到的股息所允许的公司收到的股息扣除额。
对于非公司美国持有人,包括个人美国持有人,股息将按照适用于合格股息收入的较低资本利得税率征税,但前提是:(1)A类普通股易于在已建立的美国证券市场上交易,,或我们有资格获得与美国批准的合格所得税条约的利益,其中包括信息交换计划,(2)在我们支付股息的纳税年度中,我们都不是PFIC(定义见下文)或上一个纳税年度,(3)满足一定的持有期限要求。由于美国与开曼群岛之间没有所得税条约,因此只有在A类普通股易于在已建立的美国证券市场上交易的情况下,才能满足上述第(1)条的规定。根据美国国税局(US Internal Revenue Service Authority)的规定,就上述第(1)款而言,A类普通股如果在某些交易所(目前包括纽约证券交易所和纳斯达克股票市场)上市,则可以在已建立的美国证券市场上轻松交易。敦促您就针对我们的A类普通股支付的较低股息利率的可用性咨询您的税务顾问,包括本招股说明书日期之后任何法律变更的影响。
出于限制外国税收抵免的目的,股息将构成外国来源收入。如果将股息作为合格的股息收入征税(如上所述),则为计算外国税收抵免限制而考虑的股息金额将限于股息总额,乘以降低的税率除以通常适用于股息的最高税率。有资格获得抵免的外国税收的限制是针对特定收入类别单独计算的。为此,我们就A类普通股分配的股息将构成“被动类别收入”,但对于某些美国持有人而言,可能构成“一般类别收入”。”
如果分配金额超过了我们当期和累计的收入和利润(根据美国联邦所得税原则确定),则将首先在A类普通股中将其视为您的税基的免税申报表,并且在分配金额超过您的税基的范围内,超出部分将作为资本收益征税。我们无意根据美国联邦所得税原则计算我们的收入和利润。因此,美国持有人应期望分配将被视为股息,即使根据上述规则,该分配将被视为非应税资本收益或资本收益。
处置A类普通股的税收
在遵守以下讨论的被动外国投资公司规则的前提下,您将确认任何出售的应纳税所得额或损失,股份的交换或其他应税处置,等于该股份的已实现金额(美元)与您在A类普通股中的税基(美元)之间的差额。损益将是资本损益。如果您是持有A类普通股超过一年的非公司美国持有人,包括个人美国持有人,则通常有资格享受降低的税率。资本损失的可抵扣性受到限制。出于限制外国税收抵免的目的,您确认的任何此类损益通常都将被视为美国来源的收入或损失,这通常会限制外国税收抵免的可用性。
141
被动外国投资公司(“PFIC”)
根据《美国国内税收法》第1297(a)条的定义,在以下任何一个纳税年度,非美国公司均被视为PFIC:
| ● | 该纳税年度其总收入的至少75%为被动收入;要么 | |
| ● | 其资产价值的至少50%(基于应纳税年度中资产季度价值的平均值)归因于产生或为产生被动收入而持有的资产(“资产测试”)。 |
被动收入通常包括股息,利息,租金和特许权使用费(不包括因积极开展贸易或业务而产生的租金或特许权使用费)以及处置被动资产的收益。我们将被视为拥有我们按比例分配的资产,并获得我们直接或间接拥有至少25%(按价值计算)股票的任何其他公司按比例分配的收入。在为PFIC资产测试目的确定我们资产的价值和组成时,(1)我们在此次发行中筹集的现金通常被视为为产生被动收入而持有,并且(2)我们的资产价值必须根据不时发行的A类普通股的市场价值确定,这可能导致我们的非被动资产的价值在任何特定的季度测试日期均低于我们所有资产(包括本次发行中筹集的现金)价值的50%,以进行资产测试。
根据我们的运营和资产构成,根据当前的PFIC规则,我们不希望被视为PFIC。但是,我们必须每年单独确定我们是否为PFIC,并且不能保证我们在当前纳税年度或任何未来纳税年度的PFIC地位。根据我们在此次发行中筹集的现金量,以及为产生被动收入而持有的任何其他资产,有可能在我们当前的纳税年度或随后的任何纳税年度,我们超过50%的资产可能是为产生被动收入而持有的资产。我们将在任何特定纳税年度结束后做出此决定。尽管这方面的法律尚不清楚,但我们将UFG实体视为出于美国联邦所得税目的归我们所有,这不仅是因为我们控制着他们的管理决策,而且还因为我们有权获得与UFG相关的经济利益实体,因此,出于美国联邦所得税目的,我们将UFG实体视为我们的全资子公司。如果出于美国联邦所得税目的不将我们视为拥有UFG实体,则我们可能会被视为PFIC。此外,由于出于资产测试的目的,我们的资产价值通常将根据A类普通股的市场价格确定,并且由于现金通常被视为为产生被动收入而持有的资产,我们的PFIC地位将在很大程度上取决于我们A类普通股的市场价格以及我们在此次发行中筹集的现金量。因此,A类普通股市场价格的波动可能导致我们成为PFIC。此外,PFIC规则的应用在几个方面存在不确定性,我们的收入和资产构成将受到我们如何以及以多快的速度使用本次发行筹集的现金的影响。如上所述,我们没有义务采取措施来降低我们被归类为PFIC的风险,资产价值的确定将取决于可能不在我们控制范围内的重大事实(包括不时发行的A类普通股的市场价格和我们在此次发行中筹集的现金量)。如果我们是您持有A类普通股的任何一年的PFIC,则在您持有A类普通股的所有后续年份中,我们将继续被视为PFIC。但是,如果我们不再是PFIC,并且您之前没有如下所述进行及时的“按市值计价”选举,则可以通过进行“净化选举”来避免PFIC制度的某些不利影响(如下所述)关于A类普通股。
如果我们是您持有A类普通股的纳税年度的PFIC,对于您收到的任何“超额分配”以及从出售或其他处置(包括质押)A类普通股中获得的任何收益,您将受到特殊的税收规则的约束,除非您进行“按市值计价”如下所述的“市场”选举。您在一个纳税年度收到的分红大于您在前三个纳税年度或您持有的A类普通股的持有期中较短者收到的平均年度分红的125%,将被视为超额分红。根据这些特殊税收规则:
| ● | 超额分配或收益将在您的持有期内按比例分配给A类普通股; |
142
| ● | 分配给您当前纳税年度的金额,以及分配给我们为PFIC的第一个纳税年度之前的任何纳税年度的任何金额,将被视为普通收入,并且 | |
| ● | 分配给您的其他每个纳税年度的金额将以该年度有效的最高税率为准,并且通常适用于少缴税款的利息费用将对每个该年度应占的所得税款征收。 |
分配给处置年度或“超额分配”年度之前年度的应纳税额不能被该年度的任何净经营亏损所抵消,并且出售A类普通股所实现的收益(但不包括亏损)不能被视为资本,即使您将A类普通股作为资本资产持有。
PFIC中的“有价证券”(定义见下文)的美国持有人可以根据《美国国内税收法》第1296条对此类股票进行按市值计价的选举,以选择退出上述税收待遇。如果您在持有(或被视为持有)A类普通股且我们被确定为PFIC的第一个纳税年度进行按市值计价的选举,则您将在每年的收入中包括等于超出部分(如果有),截至该纳税年度结束时,该A类普通股在您调整后的基础上在该A类普通股中的公允市场价值的百分比,超出部分将被视为普通收入,而不是资本收益。截至纳税年度结束时,您被允许就调整后的A类普通股基准超出其公允市场价值的部分(如果有)承担普通损失。但是,仅在您先前纳税年度的收入中包含的A类普通股的任何按市值计价的净收益的范围内,才允许这种普通损失。按市值计价的选举中包含在您的收入中的金额,以及实际出售或以其他方式处置A类普通股的收益,均视为普通收入。普通损失处理也适用于在实际出售或处置A类普通股时实现的任何损失,只要该损失的金额不超过该A类普通股先前计入的按市值计价的净收益。您在A类普通股中的基础将进行调整,以反映任何此类收入或损失金额。如果您进行有效的按市值计价的选举,则适用于非PFIC公司的分配的税收规则将适用于我们的分配,除非上文“—对我们的A类普通股的股息和其他分配征税”中讨论的合格股息收入的较低适用资本利得率通常不适用。
按市值计价的选择仅适用于“有价证券”,即在每个日历季度中至少15天在合格交易所或其他市场上以最低数量交易的股票(“正常交易”)(根据适用的美国财政部法规定义),包括纳斯达克资本市场。如果A类普通股定期在纳斯达克资本市场上交易,并且您是A类普通股的持有人,那么如果我们成为或成为PFIC,您将可以进行按市值计价的选举。
或者,PFIC的美国股票持有人可以根据《美国国内税收法》第1295(b)条针对该PFIC进行“合格的选举基金”选举,以选择退出上述税收待遇。就PFIC进行有效的合格选举基金选举的美国持有人通常会在应纳税年度的总收入中包括该持有人在该纳税年度公司收入和利润中按比例分配的份额。但是,只有在该PFIC根据适用的美国财政部法规向该美国持有人提供有关其收入和利润的某些信息的情况下,才能进行合格的选举基金选举。我们目前不打算准备或提供使您能够进行合格的选举基金选举的信息。如果您在我们为PFIC的任何纳税年度中持有A类普通股,则将需要在每个此类年度提交美国国税局表格8621,并提供有关此类A类普通股的某些年度信息,包括收到的A类普通股的分配以及处置A类普通股所实现的任何收益。
如果您没有及时进行“按市值计价”选举(如上所述),并且在您持有A类普通股期间的任何时候我们都是PFIC,那么,即使我们在未来一年不再是PFIC,此类A类普通股也将继续被视为您的PFIC股票,除非您在我们不再是PFIC的那一年进行“净化选举”。“净化选举”会在我们被视为PFIC的最后一年的最后一天以其公允市场价值视为出售此类A类普通股。如上所述,清洗选举确认的收益将受特殊税收和利息费用规则的约束,该规则将收益视为超额分配。作为清洗选举的结果,您将有一个新的基础(等于我们被视为PFIC的去年最后一天的A类普通股的公允市场价值)出于税收目的,您的A类普通股的持有期(新的持有期将从该最后一天的第二天开始)。
143
IRC第1014(a)条规定,从先前是A类普通股持有人的死者继承时,A类普通股的公允市场价值将提高。但是,如果我们被确定为PFIC,并且是美国持有人的死者在我们作为美国持有人持有(或被视为持有)我们的A类普通股的第一个纳税年度中也没有及时进行合格的选举基金选举,或继承按市值计价的选举和这些A类普通股的所有权,IRC第1291(e)条中的一项特殊规定规定,新的美国持有人的基准应减少等于第1014条基准减去死者的金额。死亡前的调整基准。因此,如果我们在死者去世之前的任何时候都被确定为PFIC,PFIC规则将导致从美国持有人手中继承我们的A类普通股的任何新美国持有人无法根据第1014条获得提升,而是将获得这些A类普通股的结转基础。
敦促您就PFIC规则在您投资我们的A类普通股和上述选举中的应用咨询您的税务顾问。
信息报告和备份预扣
有关我们的A类普通股的股息支付和出售收益,交换或赎回我们的A类普通股可能需要向美国国税局(US Internal Revenue Service)报告信息,并可能根据美国国税局(US Internal Revenue Code)第3406条进行美国备用预扣,当前固定汇率为24%。但是,备用预扣税不适用于提供正确的纳税人识别号并在美国国税局W-9表格上进行任何其他必要证明的美国持有人,或者可以免除备用预扣税。被要求建立免税身份的美国持有人通常必须在美国国税局W-9表格上提供此类证明。敦促美国持有人就美国信息报告和备用预扣规则的适用情况咨询其税务顾问。
备用预扣税不是额外的税。作为备用预扣款预扣的金额可以记入您的美国联邦所得税负债中,并且您可以通过向美国国税局提出适当的退款要求并提供任何所需信息来获得根据备用预扣规则预扣的任何超额金额的退款。我们无意为个人股东代扣代缴税款。但是,通过某些经纪人或其他中介机构进行的交易可能需要缴纳预扣税(包括备用预扣税),并且法律可能要求此类经纪人或中介机构预扣此类税款。
根据2010年《恢复就业雇佣激励法》,除某些例外情况(包括某些金融机构持有的账户中持有的A类普通股的例外情况)外,某些美国持有人必须报告与我们的A类普通股有关的信息,通过附上完整的美国国税局表格8938(特定外国金融资产报表),以及其持有A类普通股的每年的纳税申报表。不报告此类信息可能会导致严厉的处罚。您应就自己提交8938表格的义务咨询自己的税务顾问。
144
包销
我们希望与其中指定的承销商Univest Securities,LLC就本次发行的A类普通股签订承销协议。根据包销协议中包含的条款和条件,包销商已同意购买,并且我们已同意向其出售3,000,000股A类普通股。
承销商将在接受我们的A类普通股并进行事先出售的前提下提供A类普通股。包销协议规定,包销商支付和接受本招股说明书所提供的A类普通股的义务须经其律师批准某些法律事项并遵守其他条件。如果购买了任何此类A类普通股,承销商有义务购买并支付本招股说明书提供的所有A类普通股。但是,承销商无需购买或支付承销商选择购买以下所述的其他A类普通股所涵盖的A类普通股。
我们已向承销商授予选择权,可在本次发行结束后的45天内行使,以本招股说明书封面所列的首次公开发行价格减去承销折扣购买最多450,000股额外的A类普通股。承销商行使此选择权的唯一目的是支付与本招股说明书拟进行的发行有关的超额配售(如有)。
承销商将按照本招股说明书封面所列的首次公开发行价格向公众发售A类普通股并以首次公开发行价减去不超过每股A类普通股【】美元的销售特许权给选定的交易商。发行后,承销商可以降低首次公开发行的价格,特许权和对经销商的重新分配。这些条款的任何更改都不会改变本招股说明书封面所述的我们将收到的收益金额。证券由承销商按本文所述提供,但须经其接受和接受,并有权拒绝全部或部分拒绝任何订单。
折扣和费用
承销折扣等于本招股说明书封面所列首次公开发行价格的8%。
下表显示了每股A类普通股和首次公开募股总价,承销折扣以及扣除我们的费用前的收益。显示这些金额时假设承销商没有行使或完全行使了购买最多450,000股A类普通股的选择权。
| 每 分享 |
总计 没有 行使 过度- 分配 选项 |
总计 全额 行使 过度- 分配 选项 |
||||||||||
| 首次公开发行价格 | ||||||||||||
| 我们将支付的包销折扣 | ||||||||||||
| 扣除费用前给我们的收益 | ||||||||||||
我们已同意向承销商偿还最高200,000美元的自付费用,包括但不限于其法律顾问的合理费用,尽职调查和背景调查费用以及路演的合理费用。
在执行我们之间的聘用协议时,我们向承销商支付了75,000美元的预付款以及承销商的预期自付费用;根据FINRA规则5110(f)(2)(C),在承销商的自付责任费用未实际发生的范围内,任何预付款将退还给我们。
145
我们已同意支付与发行有关的费用,包括:(i)与本次发行中将向美国证券交易委员会出售的A类普通股的注册以及向FINRA提交发行材料有关的所有备案费和通讯费用;(ii)所有合理的旅行以及包销商或其律师因访问和检查我们公司而产生的住宿费用;(iii)出于尽职调查目的的翻译费用;(iv)所有费用,支出,以及与承销商合理指定的州和其他司法管辖区的“蓝天”证券法所规定的此类A类普通股的注册或资格有关的支出(包括但不限于所有备案和注册费,以及承销商律师的合理费用和支出);(v)所有邮寄和印刷配售文件,注册声明,招股说明书以及所有修订,补充及其展品的费用,以及承销商合理认为必要的尽可能多的初步和最终招股说明书;(vi)准备,印刷,并交付代表A类普通股的证书以及此类A类普通股的转让代理的费用和支出;(vii)路演会议和准备电力点演示文稿的合理费用。
我们估计,我们应付的发行总费用(不包括承销折扣)约为950,031美元,其中包括最高报销总额200,000美元的承销商应计费用。
我们已申请在纳斯达克资本市场上市A类普通股,股票代码为“CHSN”。”不能保证该申请将获得批准,并且如果我们的申请未获批准,则本次发行可能无法完成。
承销商的认股权证
此外,我们已同意向承销商发行认股权证,以购买数量等于本次发行中出售的A类普通股的4%的A类普通股,不包括因行使承销商的超额配股权而出售的任何A类普通股。承销商认股权证的行使价等于本次发行中发行的A类普通股发行价的125%。承销商的认股权证将在发行后行使,直到此类认股权证在本次发行开始销售之日起五年后到期。承销商的认股权证和相关的A类普通股已被FINRA视为补偿,因此受FINRA规则5110(e)(1)的约束。根据FINRA规则5110(e)(2),除非FINRA规则另有允许,否则承销商的认股权证或在行使承销商的认股权证后发行的我们的任何A类普通股均不得出售,转让,转让,质押或假设,或作为任何对冲的对象,在本次发行开始后的180天内,进行卖空,衍生,认沽或看涨交易,这将导致任何人对此类证券进行有效的经济处置。
我们将承担行使认股权证后可发行的A类普通股的注册所产生的所有费用,但持有人产生和应付的承销佣金除外。行使认股权证后可发行的A类普通股的行使价和数量可能会在某些情况下进行调整,包括在股票股利,特别现金股利或我们的注资,重组,合并或合并的情况下。认股权证行使价和/或相关股份也可以以低于认股权证行使价的价格发行A类普通股进行调整。
在此次发行之前,A类普通股没有公开市场。首次公开募股价格将由我们与承销商之间的谈判确定。在确定首次公开募股价格时,我们和承销商希望考虑许多因素,包括:
| ● | 本招股说明书中列出的信息以及代表可以其他方式获得的信息; | |
| ● | 我们的前景以及我们竞争行业的历史和前景; | |
| ● | 对我们管理层的评估; | |
| ● | 我们对未来收益的前景; | |
| ● | 发行时证券市场的总体状况; |
146
| ● | 一般可比公司的公开交易证券的近期市场价格和需求;和 | |
| ● | 承销商和我们认为相关的其他因素。 |
本初步招股说明书封面上列出的估计首次公开募股价格可能会因市场状况和其他因素而发生变化。我们和承销商均无法向投资者保证我们的A类普通股将建立活跃的交易市场,或者这些股票将以首次公开发行价或更高的价格在公开市场上交易。
优先购买权
我们已同意,前提是本次发行完成,在2022年2月25日之前,承销商有权优先拒绝担任我们的证券或子公司的证券或其他证券的任何承销公开发行或私募的经理融资,合并,企业合并,资本重组或出售公司的部分或全部股权或资产;但是,前提是该权利应遵守FINRA规则5110(g)。
赔偿
我们已同意赔偿承销商某些责任,包括《证券法》规定的责任。如果我们无法提供此赔偿,我们将为承销商可能需要为这些负债支付的款项作出贡献。
观察者的权利
在承销商通知我们后,自本招股说明书构成部分的注册声明生效之日起一年内,承销商有权派一名代表(从一个会议到另一个会议不必是同一个人)观察我们董事会的每次会议;提供该代表应签署承销商及其律师合理接受的,与该代表出席我们董事会会议有关的符合FD法规的保密协议;并进一步规定,在书面通知承销商后,如果我们的律师的书面意见认为代表的出席会破坏律师-客户特权,我们可能会将代表排除在会议之外。我们同意在每次此类会议上向承销商发出书面通知,并在不迟于承销商发出此类通知并向其他董事提供此类项目的情况下,向承销商提供会议议程和会议记录,并偿还承销商代表因出席会议而产生的合理的自付费用,包括但不限于食物,住宿和交通。
锁定协议
除以下披露的内容外,我们的每位管理人员,董事和拥有5%或以上A类普通股的股东均已与承销商达成协议,不提供,发行,出售,合同出售,负担,授予任何出售期权的权利,或以其他方式处置任何A类普通股或其他可转换为,可行使或可交换为A类普通股的证券,自本招股说明书发布之日起六个月内,未经承销商事先书面同意。
承销商可以在禁售期届满之前,自行决定随时释放部分或全部受禁售协议约束的股份,恕不另行通知。承销商在确定是否从锁定协议中释放股票时,将考虑(其中包括)证券持有人要求释放的原因,要求释放的股票数量以及当时的市场状况。时间。
电子发售,出售和分配A类普通股
可以在承销商维护的网站上以电子形式提供招股说明书。此外,承销商可以将A类普通股出售给将A类普通股转售给在线经纪账户持有人的证券交易商。除电子形式的招股说明书外,承销商网站上的信息以及承销商维护的任何其他网站中包含的任何信息均不属于招股说明书或本招股说明书所包含的注册声明的一部分,未经我们或承销商以承销商的身份批准和/或认可,投资者不应依赖。
价格稳定,空头头寸和罚款投标
与本次发行有关,承销商可能从事稳定,维持或以其他方式影响我们A类普通股价格的交易。具体而言,承销商出售的A类普通股可能超过其根据承销协议有义务购买的数量,从而产生空头头寸。如果空头头寸不超过承销商根据购买额外A类普通股的选择权可购买的A类普通股的数量,则可以进行卖空。承销商可以通过行使选择权来购买额外的A类普通股或在公开市场上购买A类普通股来平仓有担保的卖空。承销商在确定A类普通股的来源以平仓有担保的卖空时,将考虑(其中包括)A类普通股的公开市场价格与购买其他A类普通股的选择权下的可用价格相比。承销商还可以出售超出购买额外A类普通股的选择权的A类普通股,从而产生空头头寸。承销商必须通过在公开市场上购买A类普通股来平仓任何裸露的空头头寸。如果承销商担心定价后公开市场上A类普通股的价格可能面临下行压力,这可能会对购买本次发行的投资者产生不利影响,则更有可能产生空头头寸。
147
承销商也可以施加罚款投标。当特定的承销商或交易商偿还允许其在本次发行中分配我们的A类普通股的销售特许权时,就会发生这种情况,因为该承销商通过稳定或做空交易回购了这些A类普通股。
最后,承销商可以在做市交易(包括下文所述的“被动”做市交易)中竞标和购买我们的A类普通股。
这些活动可能会以高于没有这些活动时可能存在的价格的价格稳定或维持我们的A类普通股的市场价格。承销商不需要从事这些活动,并且可以随时中止任何这些活动,恕不另行通知。这些交易可能会在纳斯达克资本市场,场外市场或其他地方进行。
被动做市
与本次发行有关,承销商可以根据《交易法》第M条第103条的规定,在纳斯达克资本市场上从事我们的A类普通股的被动做市交易,在A类普通股的要约或出售开始之前的一段时间内,直至分配完成为止。被动做市商必须以不超过该证券最高独立出价的价格显示其出价。但是,如果将所有独立出价降低到被动做市商的出价以下,则在超过指定的购买限制时,必须将该出价降低。
潜在的利益冲突
承销商及其关联公司可能会在其日常业务过程中不时与我们进行交易并为我们提供服务,并可能收取惯常费用和费用报销。在日常的各种业务活动中,承销商及其关联公司可以进行或持有多种投资,并为自己的账户以及客户的账户和此类投资积极交易债务和股本证券(或相关衍生证券)和金融工具(包括银行贷款)证券活动可能涉及我们公司的证券和/或工具。承销商及其关联公司还可以就此类证券或工具提出投资建议和/或发表或发表独立的研究观点,并可以随时持有或建议客户购买此类证券的多头和/或空头头寸和工具。
印花税
如果您购买本招股说明书中提供的A类普通股,则除本招股说明书封面上列出的发行价外,还可能需要根据购买国的法律和惯例缴纳印花税和其他费用。
在美国境外提供限制
除美国以外,我们或承销商未采取任何行动允许本招股说明书所提供的证券在需要为此目的采取行动的任何司法管辖区公开发行。不得直接或间接发行或出售本招股说明书提供的证券,也不得在任何司法管辖区分发或发行本招股说明书或与任何此类证券的发行和出售有关的任何其他发行材料或广告,除非会导致遵守该司法管辖区的适用规则和法规的情况。建议拥有本招股说明书的人告知自己并遵守与本招股说明书的发行和分发有关的任何限制。本招股说明书在该要约或招揽不合法的任何司法管辖区均不构成出售要约或招揽购买本招股说明书所提供的任何证券的要约。
澳大利亚。就《2001年公司法》(澳大利亚联邦)(以下简称“法案”)而言,本招股说明书不是产品披露声明,招股说明书或其他类型的披露文件,也不意图包括产品披露声明所要求的信息,根据该法第6D.2章的招股说明书或其他披露文件。尚未或将不会向澳大利亚证券和投资委员会或澳大利亚证券交易所提交与股票要约有关的产品披露声明,招股说明书,披露文件,要约材料或广告。
148
因此,(1)根据本招股说明书提出的股份要约只能向以下人士提出:(i)根据该法令第6D.2章规定的一项或多项豁免规定,在不向投资者披露的情况下向其提供股份是合法的在该法令第708条中,(ii)是该法案第761G条所定义的“批发客户”,(2)本招股说明书只能在澳大利亚提供给上述第(1)款所述的人,以及(3)接受此要约,受要约人表示受要约人是上文第(1)款所述的人,除非该法令另有允许,否则受要约人同意在发行后的12个月内不出售或要约出售任何出售给受要约人的股份。
加拿大。不得直接或间接发行,出售或分配股份,在安大略省和魁北克省以外的加拿大任何省或地区,或为安大略省和魁北克省以外的加拿大任何省或地区的任何居民或为其利益,并且仅在免除在该省份提交招股说明书的要求的基础上,并且仅通过根据该省份适用的证券法正式注册的交易商或免除适用的注册交易商要求的情况下进行。
开曼群岛。本招股说明书并不构成在开曼群岛以出售或认购方式公开发售股份。每位承销商均已表示并同意,其尚未向开曼群岛的任何公众发售或出售,也不会直接或间接向任何公众发售或出售任何股份。
欧洲经济区。对于已实施招股说明书指令的欧洲经济区的每个成员国或相关成员国,自该相关成员国实施招股说明书指令之日起(包括该日)或相关实施日期,在发布与该有关会员国主管当局批准的股份有关的招股说明书之前,不得在该有关会员国向公众提出要约,或在适当情况下,已根据招股说明书指令通知了另一相关成员国的批准和该相关成员国的主管当局,但该指令可能自相关实施日期(包括该日)起生效,在任何时候向该相关成员国的公众提出A类普通股的要约,
| ● | 项目资本基金(定义为主要参与投资于在投资时(i)主要从事新技术产品或工艺的研发或制造以及(ii)涉及高于平均水平的风险的公司的实体); | |
| ● | 主要从事资本市场活动的实体,在该实体中,所有股权所有者均符合上述一项或多项标准; | |
| ● | 为购买本次发行的股份而成立的实体以外的实体,其股东权益(包括根据《证券法》所定义的外国会计准则,国际会计准则和美国公认会计准则(编制年度财务报表),1993年)超过2.5亿新谢克尔。 |
但任何此类要约均不得导致公司根据招股说明书指令第3条发布招股说明书的要求。
就上述规定而言,与任何相关成员国中的任何股份有关的“向公众发售股份”一词是指以任何形式和通过任何方式充分提供有关要约条款的信息的通讯以及为使投资者能够决定购买或认购股份而要发行的股份,因为该成员国可以通过在该成员国实施招股说明书指令的任何措施来改变该股份,“招股说明书指令”一词是指第2003/71/EC号指令,包括每个相关成员国的任何相关实施措施。
149
香港。除(i)在不构成《公司条例》(第32章)所指的要约或邀请公众的情况下,不得通过本文件或任何其他文件发售或出售股份,香港法律)或《证券及期货条例》(香港法例第571章),或(ii)《证券及期货条例》(香港法例第571章)所指的“专业投资者”,以及根据该条例制定的任何规则,或(iii)在其他情况下,不会导致该文件成为《公司条例》(香港法例第32章)所指的“招股说明书”,并且没有广告,与股份有关的邀请或文件可以发行,也可以由任何人拥有,以发行为目的(在每种情况下,无论是在香港还是在其他地方),或其内容可能会被访问或阅读,香港公众(除(如果根据香港法律允许的话),但仅针对或拟出售给香港以外人士或仅出售给《证券及期货条例》所指的“专业投资者”的股份除外(第571章,香港法律)及其下制定的任何规则。
日本。承销商将不会在日本直接或间接向任何日本人或其他人出售或出售任何股份,也不会为任何日本人或其他人的利益而在日本直接或间接向任何日本人出售或再出售任何股份,但在每种情况下,根据对日本《证券交易法》和日本任何其他适用法律和法规的注册要求的豁免,或以其他方式遵守。就本款而言,“日本人”是指在日本居住的任何人,包括根据日本法律组建的任何公司或其他实体。
中华人民共和国。本招股说明书不得在中国流通或分发,也不得发售或出售股票,除非根据中国的适用法律和法规,否则不会向任何人直接或间接提供或出售给任何人以重新提供或转售给中国的任何居民。就本款而言,中国不包括台湾以及香港和澳门特别行政区。
新加坡。本招股说明书尚未在新加坡金融管理局注册为招股说明书。因此,本招股说明书及与要约或出售或认购或购买股份的邀请有关的任何其他文件或材料不得流通或分发,也不得发行或出售股份,或被邀请直接或间接认购或购买新加坡人,但(i)根据新加坡《证券和期货法》(第289章)第274条或SFA向机构投资者除外,(ii)给相关人员,或根据SFA第275(1A)条并根据SFA第275条规定的条件的任何人,或(iii)根据SFA任何其他适用规定并根据其条件的任何人。
如果股份是由相关人士根据第275条认购或购买的,则该相关人士是:(a)其唯一业务是持有投资且其全部股本由一个人拥有的公司(非认可投资者)或多个个人,每个人都是合格的投资者;(b)信托(如果受托人不是合格的投资者),其唯一目的是持有投资,并且每个受益人都是合格的投资者,该公司的债权证,股份单位和债权证或受益人在该信托中的权益在该公司或该信托根据第275条获得股份后的六个月内不得转让,但以下情况除外:(1)机构投资者(对于公司,根据《证券及期货条例》第274条)或《证券及期货条例》第275(2)条所界定的相关人士,或根据要约提出的要约的任何人,(2)该法团的债权证、股份单位及债权证,或该信托的该等权利及权益,是以每宗交易不少于200,000新元(或等值外币)的代价购得的,不论该等款项是以现金支付,还是以证券或其他资产的交换支付,以及为法团而支付,根据《证券及期货条例》第275条规定的条件;(3)没有考虑或将不考虑转让;(4)转让是通过法律执行的。
韩国。不得直接或间接发售,出售和交付A类普通股,也不得直接或间接将其出售或出售给任何人以进行重新发售或转售,在韩国或韩国的任何居民,除非根据韩国的适用法律和法规,包括《金融投资服务和资本市场法》和《外汇交易法》及其下的法令和法规。A类普通股尚未在韩国金融服务委员会注册以在韩国公开发行。此外,除非股票购买者符合所有适用的监管要求(包括但不限于《外汇交易法》及其下属法令规定的政府批准要求),否则不得将A类普通股重新出售给韩国居民和法规)与他们的购买有关。
150
台湾。股份尚未,也不会在以下机构注册,归档或批准:台湾金融监督管理委员会根据相关证券法律法规的规定,不得通过公开发售或在构成《台湾证券交易法》或相关法律法规所指的要约的情况下在台湾发售或出售须经台湾金融监督管理委员会登记、备案或核准。台湾没有任何个人或实体被授权在台湾发售或出售股票。
英国。根据经修订的《2000年金融服务和市场法》第102B条或FSMA的规定,不得在英国向公众提出要约,除经授权或受监管在金融市场上经营的法人实体外,或未经授权或受监管的法人实体,其公司目的仅是投资证券或在不需要公司根据金融服务管理局或FSA的招股说明书规则发布招股说明书的情况下进行其他投资。
邀请或诱使从事投资活动(根据FSMA第21条的定义)只能传达给在与《金融服务》第19条第(5)款有关的投资方面具有专业经验的人员和2005年《2000年市场法(金融促进)令》,或在FSMA第21条不适用于公司的情况下。
对于承销商就股份所做的任何事情,FSMA的所有适用规定都必须在英国境内,来自英国或以其他方式涉及英国。
151
与本次发行有关的费用
以下是总费用的细目,不包括我们预计因此次发行而产生的承销折扣。除SEC注册费,FINRA备案费和纳斯达克资本市场上市费外,所有金额均为估算值。
| 证券交易委员会注册费 | $ | 2,388 | ||
| 纳斯达克资本市场上市费 | $ | 50,000 | ||
| FINRA备案费 | $ | 3,784 | ||
| 律师费和支出 | $ | 401,036 | ||
| 会计费用和支出 | $ | 102,928 | ||
| 印刷和雕刻费用 | $ | 20,000 | ||
| 转让代理费用 | $ | 19,000 | ||
| 承销商自付费用 | $ | 200,000 | ||
| 投资者关系费 | $ | 80,770 | ||
| 杂项支出 | $ | 70,125 | ||
| 费用总额 | $ | 950,031 |
这些费用将由我们承担。承销折扣将由我们根据发售中出售的A类普通股的数量按比例承担。
152
法律事项
在有关美国联邦证券和纽约州法律的某些法律事项上,我们由Hunter Taubman Fischer&Li LLC代理。本次发行中提供的A类普通股的有效性以及与开曼群岛法律有关的某些其他法律事项将由我们的开曼群岛法律顾问Ogier代为转嫁给我们。有关中国法律的法律事项将由Dentons Law Offices,LLP(广州)代为转交给我们。Ortoli Rosenstadt LLP担任承销商的律师。
专家
本招股说明书中包含的截至2020年12月31日和2019年12月31日止年度的合并财务报表是根据独立注册公共会计师事务所Friedman LLP的报告而包括的,该报告是该公司作为审计专家的授权和会计。弗里德曼律师事务所(Friedman LLP)的办公室位于纽约州百老汇大街165号自由广场一号21楼,纽约州10006。
在哪里可以找到其他信息
我们已向美国证券交易委员会(SEC)提交了F-1表格的注册声明,包括《证券法》规定的相关展品和时间表,涵盖了本招股说明书提供的A类普通股。如果您想了解更多有关我们和A类普通股的信息,请参阅我们的注册声明及其展览品和时间表。本招股说明书概述了合同的重要规定以及我们推荐给您的其他文件。由于招股说明书可能未包含您可能会发现重要的所有信息,因此您应该阅读这些文件的全文。
发行完成后,我们将立即遵守适用于外国私人发行人的《交易法》的定期报告和其他信息要求。因此,我们将被要求向SEC提交报告,包括20-F表格的年度报告以及其他信息。作为外国私人发行人,我们不受《交易法》规则的约束,该规则规定了根据《交易法》第14(a),(b)和(c)条所载的联邦代理规则向股东提供代理声明及其内容。,以及我们的执行官,董事和主要股东不受《交易法》第16条所载的报告和短期利润回收规定的约束。
如此提交的注册声明,报告和其他信息可以在SEC维护的位于华盛顿特区20549N.E.的公共参考设施中进行检查和复制。您可以通过写信给SEC,在支付复制费后索取这些文件的副本。请致电1-800-SEC-0330致电SEC,以获取有关公共资料室运营的更多信息。SEC还维护着一个网站,其中包含报告,委托书和有关发行人(例如我们)的其他信息,这些发行人以电子方式向SEC提交文件。该网站的地址是http://www.sec.gov。该网站上的信息不属于本招股说明书的一部分。
任何经销商,销售人员或其他人均无权提供任何信息或代表本招股说明书中未包含的任何内容。您不得依赖任何未经授权的信息或陈述。本招股说明书仅是出售特此提供的证券的要约,但仅在合法的情况下和司法管辖区内出售。本招股说明书中包含的信息仅截至其日期为最新信息。
153
合并财务报表索引
香颂国际控股及其子公司
目录
| F-1 |
独立注册公共会计师事务所的报告
致股东和董事会
香颂国际控股
关于财务报表的意见
我们已审核了截至2020年12月31日和2019年12月31日的香颂国际控股及其子公司(以下统称“公司”)的随附合并资产负债表,以及相关的综合业务报表和综合收益(亏损),股东权益变动,以及截至2020年12月31日的两年中每个年度的现金流量以及相关附注(统称为“合并财务报表”)。我们认为,合并财务报表在所有重大方面公允地反映了公司截至2020年12月31日和2019年12月31日的财务状况以及该期间两年中每年的经营成果和现金流量截至2020年12月31日,符合美利坚合众国普遍接受的会计原则。
意见基础
这些合并财务报表是公司管理层的责任。我们的责任是根据我们的审计对公司的合并财务报表发表意见。我们是一家在美国上市公司会计监督委员会(“PCAOB”)注册的公共会计师事务所,根据美国联邦证券法和证券交易委员会的适用规则和规定,我们必须相对于公司具有独立性和PCAOB。
我们按照PCAOB的标准进行了审计。这些准则要求我们计划和执行审计,以合理保证合并财务报表是否不存在由于错误或欺诈引起的重大错报。本公司无须也没有义务对其财务报告的内部控制进行审计。作为审计的一部分,我们必须了解财务报告的内部控制,但并非出于对公司财务报告内部控制的有效性发表意见的目的。因此,我们不表示任何此类意见。
我们的审计包括执行程序以评估由于错误或欺诈而导致的合并财务报表重大错报的风险,以及执行应对这些风险的程序。此类程序包括在测试的基础上检查有关合并财务报表中金额和披露的证据。我们的审计还包括评估管理层使用的会计原则和做出的重大估计,以及评估合并财务报表的整体列报方式。我们认为,我们的审计为我们的意见提供了合理的基础。
/s/弗里德曼律师事务所
自2019年以来,我们一直担任公司的审计师。
纽约,纽约
| 六月2, 2021 |
| F-2 |
香颂国际控股
合并资产负债表
| 12月31日, | 12月31日, | |||||||
| 2020 | 2019 | |||||||
| 资产 | ||||||||
| 当前资产: | ||||||||
| 现金及现金等价物 | $ | 4,098,546 | $ | 3,874,288 | ||||
| 应收账款,净额 | 713,389 | 455,668 | ||||||
| 库存 | 469,370 | 351,095 | ||||||
| 递延发行成本 | 479,226 | 193,256 | ||||||
| 预付费用及其他流动资产 | 255,370 | 286,634 | ||||||
| 流动资产总额 | 6,015,901 | 5,160,941 | ||||||
| 物业及设备净额 | 3,322,671 | 3,165,211 | ||||||
| 经营租赁使用权资产 | 10,824,945 | 8,346,190 | ||||||
| 限制现金 | 22,522 | 11,003 | ||||||
| 长期保证金 | 823,457 | 589,741 | ||||||
| 长期预付费用 | 127,883 | 174,639 | ||||||
| 总资产 | $ | 21,137,379 | $ | 17,447,725 | ||||
| 流动负债: | ||||||||
| 短期银行贷款 | $ | 2,289,038 | $ | 2,138,962 | ||||
| 应付账款 | 920,870 | 677,732 | ||||||
| 应收关联方款项 | 6,316 | 797,352 | ||||||
| 递延收入 | 4,657,000 | 3,410,303 | ||||||
| 应付税款 | 56,350 | 126,404 | ||||||
| 营业租赁负债,流动 | 1,105,664 | 901,797 | ||||||
| 其他流动负债 | 400,425 | 353,577 | ||||||
| 流动负债合计 | 9,435,663 | 8,406,127 | ||||||
| 长期银行贷款 | 209,291 | - | ||||||
| 非流动经营租赁负债 | 9,253,187 | 6,770,538 | ||||||
| 负债总额 | 18,898,141 | 15,176,665 | ||||||
| 承诺与或有事项 | ||||||||
| 股东权益 | ||||||||
| 普通股,面值$0.00 1,已授权50,000,000股;截至2020年12月31日和2019年12月31日,已发行和流通的股票分别为9,000,000股:* | ||||||||
| A类普通股,面值$0.00 1,已授权44,000,000股;截至2020年12月31日和2019年12月31日,已发行和流通的股票分别为3,060,000股 | 3,060 | 3,060 | ||||||
| B类普通股,面值$0.00 1,已授权6,000,000股;截至2020年12月31日和2019年12月31日分别发行和发行了5,940,000股 | 5,940 | 5,940 | ||||||
| 普通股与额外实收资本 | 869,400 | 869,400 | ||||||
| 法定储备 | 447,231 | 447,231 | ||||||
| 留存收益 | 597,594 | 761,623 | ||||||
| 累计其他综合收益 | 316,013 | 183,806 | ||||||
| 股东权益总额 | 2,239,238 | 2,271,060 | ||||||
| 负债总额和股东权益 | $ | 21,137,379 | $ | 17,447,725 | ||||
| * | 追溯重述,以于2021年3月27日进行1,000比1的远期拆分和股票发行(请参阅附注13) |
随附的注释是这些合并财务报表的组成部分。
| F-3 |
香颂国际控股
综合业务报表和综合收益(亏损)
| 在结束的年度 12月31日, |
||||||||
| 2020 | 2019 | |||||||
| 收入 | $ | 10,313,512 | $ | 12,577,135 | ||||
| 收益成本 | 5,164,178 | 5,903,456 | ||||||
| 毛利 | 5,149,334 | 6,673,679 | ||||||
| 营业费用 | ||||||||
| 销售费用 | 2,947,088 | 3,152,341 | ||||||
| 一般和行政开支 | 2,230,893 | 2,454,375 | ||||||
| 总营业费用 | 5,177,981 | 5,606,716 | ||||||
| 经营收入(亏损) | (28,647 | ) | 1,066,963 | |||||
| 其他收入(支出) | ||||||||
| 利息支出净额 | (108,852 | ) | (148,902 | ) | ||||
| 其他收入(支出)净额 | (11,946 | ) | 87,093 | |||||
| 其他费用合计,净额 | (120,798 | ) | (61,809 | ) | ||||
| 所得税拨备前的收入(亏损) | (149,445 | ) | 1,005,154 | |||||
| 准备金 | 14,584 | 59,686 | ||||||
| 净收入(亏损) | (164,029 | ) | 945,468 | |||||
| 外币换算收益(亏损) | 132,207 | (26,787 | ) | |||||
| 综合收益总额(亏损) | $ | (31,822 | ) | $ | 918,681 | |||
| 每股普通股收益(亏损)-基本和摊薄 | $ | (0.02 | ) | $ | 0.11 | |||
| 加权平均份额-基本和摊薄* | 9,000,000 | 9,000,000 | ||||||
| * | 追溯重述,以于2021年3月27日进行1,000比1的远期拆分和股票发行(请参阅附注13) |
随附的注释是这些合并财务报表的组成部分。
| F-4 |
香颂国际控股
合并股东权益变动表
截至2020年12月31日和2019年12月31日
| 普通股* | 额外的 | 留存收益 | 累计其他 | 总计 | ||||||||||||||||||||||||||||||||
| A级 股份 |
金额 | B级 股份 |
金额 | 实收资本 | 法定储备 | (累计赤字) | 综合收益 | 股东的 权益 |
||||||||||||||||||||||||||||
| 余额,2018年12月31日 | 3,060,000 | $ | 3,060 | 5,940,000 | $ | 5,940 | $ | 869,400 | $ | 369,775 | $ | (106,389 | ) | $ | 210,593 | $ | 1,352,379 | |||||||||||||||||||
| 净收入 | - | - | - | - | - | - | 945,468 | - | 945,468 | |||||||||||||||||||||||||||
| 法定储备金的拨付 | - | - | - | - | - | 77,456 | (77,456 | ) | - | - | ||||||||||||||||||||||||||
| 外币换算损失 | - | - | - | - | - | - | - | (26,787 | ) | (26,787 | ) | |||||||||||||||||||||||||
| 余额,2019年12月31日 | 3,060,000 | $ | 3,060 | 5,940,000 | $ | 5,940 | $ | 869,400 | $ | 447,231 | $ | 761,623 | $ | 183,806 | $ | 2,271,060 | ||||||||||||||||||||
| 净亏损 | - | - | - | - | - | - | (164,029 | ) | - | (164,029 | ) | |||||||||||||||||||||||||
| 外币换算收益 | - | - | - | - | - | - | - | 132,207 | 132,207 | |||||||||||||||||||||||||||
| 余额,2020年12月31日 | 3,060,000 | $ | 3,060 | 5,940,000 | $ | 5,940 | $ | 869,400 | $ | 447,231 | $ | 597,594 | $ | 316,013 | $ | 2,239,238 | ||||||||||||||||||||
| * | 追溯重述,以于2021年3月27日进行1,000比1的远期拆分和股票发行(请参阅附注13) |
随附的注释是这些合并财务报表的组成部分。
| F-5 |
香颂国际控股
合并现金流量表
| 在结束的年度 12月31日, |
||||||||
| 2020 | 2019 | |||||||
| 经营活动产生的现金流量: | ||||||||
| 净收入(亏损) | $ | (164,029 | ) | $ | 945,468 | |||
| 为使净收入(亏损)与经营活动所产生的现金净额相一致而进行的调整: | ||||||||
| 折旧及摊销 | 485,826 | 459,886 | ||||||
| 处置设备的损失(收益) | 273 | (16,582 | ) | |||||
| 呆账准备金 | - | - | ||||||
| 经营租赁使用权资产的摊销 | 1,387,154 | 1,786,147 | ||||||
| 营业资产和负债的变化: | ||||||||
| 应收账款,净额 | (217,961 | ) | 210,407 | |||||
| 库存 | (94,227 | ) | (35,869 | ) | ||||
| 预付费用及其他流动资产 | 46,881 | 28,680 | ||||||
| 长期保证金 | (222,806 | ) | (9,818 | ) | ||||
| 长期预付费用 | 55,347 | (176,221 | ) | |||||
| 应付账款 | 181,852 | (209,782 | ) | |||||
| 递延收入 | 964,663 | 473,946 | ||||||
| 应付税款 | (73,994 | ) | 60,463 | |||||
| 其他流动负债 | 27,689 | (243,034 | ) | |||||
| 经营租赁负债 | (1,130,991 | ) | (1,840,174 | ) | ||||
| 经营活动所产生的现金净额 | 1,245,677 | 1,433,517 | ||||||
| 投资活动产生的现金流量: | ||||||||
| 购买财产和设备 | (574,333 | ) | (636,499 | ) | ||||
| 处置设备的收益 | - | 58,275 | ||||||
| 应收关联方款项 | - | 1,896,008 | ||||||
| 投资活动提供(用于)的现金净额 | (574,333 | ) | 1,317,784 | |||||
| 筹资活动产生的现金流量: | ||||||||
| 短期银行贷款收益 | 2,175,000 | 2,172,000 | ||||||
| 偿还短期银行贷款 | (2,168,388 | ) | (2,171,180 | ) | ||||
| 长期银行贷款收益 | 209,291 | - | ||||||
| 从关联方收到的预付款(向关联方付款) | (791,036 | ) | 813,352 | |||||
| 递延发行费用的付款 | (274,246 | ) | (194,282 | ) | ||||
| 筹资活动提供(用于)的现金净额 | (849,379 | ) | 619,890 | |||||
| 汇率波动对现金及现金等价物的影响 | 413,812 | (43,487 | ) | |||||
| 现金及现金等价物和限制现金的净增加额 | 235,777 | 3,327,704 | ||||||
| 年初的现金及现金等价物和限制现金 | 3,885,291 | 557,587 | ||||||
| 年末现金及现金等价物和限制现金 | $ | 4,121,068 | $ | 3,885,291 | ||||
| 年初现金及现金等价物和限制现金的对账 | ||||||||
| 现金及现金等价物 | $ | 3,874,288 | $ | 546,584 | ||||
| 限制现金 | 11,003 | 11,003 | ||||||
| 年初的现金及现金等价物和限制现金 | $ | 3,885,291 | $ | 557,587 | ||||
| 年终现金及现金等价物和限制现金对账 | ||||||||
| 现金及现金等价物 | $ | 4,098,546 | $ | 3,874,288 | ||||
| 限制现金 | 22,522 | 11,003 | ||||||
| 年末现金及现金等价物和限制现金 | $ | 4,121,068 | $ | 3,885,291 | ||||
| 补充现金流量信息 | ||||||||
| 支付所得税的现金 | $ | 103,160 | $ | 6,730 | ||||
| 支付利息的现金 | $ | 113,848 | $ | 143,878 | ||||
| 非现金投资和融资活动 | ||||||||
| 购买财产和设备的应付款项 | $ | 7,283 | $ | - | ||||
| 为换取经营租赁负债而获得的使用权资产 | $ | 4,687,623 | $ | 2,278,883 | ||||
随附的注释是这些合并财务报表的组成部分。
| F-6 |
香颂国际控股及其子公司
合并财务报表附注
注1—组织和业务说明
Ron Holding Limited(「公司」)根据开曼群岛法律于2019年7月26日成立为控股公司。自2020年12月18日起,公司更名为香颂国际控股(“香颂国际”)。香颂国际拥有于2019年8月13日根据英属维尔京群岛(“BVI”)法律注册成立的有限责任公司Deen Global Limited(“Deen Global”)的100%股权。Deen Global拥有Jenyd Holdings Limited(“Jenyd”)的100%股权,Jenyd Holdings Limited是一家根据香港法律法规于2019年9月13日注册成立的商业公司。
香颂国际(Chanson International),迪恩全球(Deen Global)和杰尼德(Jenyd)目前未从事任何积极的业务运营,而仅作为控股公司。
新疆和睦家贸易有限公司(“新疆和睦家”)是一家于2009年8月7日在中华人民共和国(“中国”)注册成立的公司,注册资本为人民币600万元(约合88万美元)。于2019年9月27日,新疆和睦家的原股东签署了股份转让协议,并将其在新疆和睦家的100%所有权转让给Jenyd,因此新疆和睦家成为外商独资企业(“WFOE”)和Jenyd的全资子公司。
新疆和睦家在中国新疆自治区经营一家烘焙连锁店,品牌名称为“George Chanson”。”该连锁店目前由乌鲁木齐市的四家直接拥有的高端面包店和23家以个人拥有的企业组织的面包店组成,称为和睦家集团(每个都是“UFG实体”,统称为“UFG实体”)在新疆地区。UFG实体由新疆和睦家的原始股东拥有,但根据这些UFG实体的所有者与新疆和睦家之间签署的一系列合同协议进行运营。
2015年4月17日,新疆和睦家在纽约州注册成立了全资子公司George Chanson(NY)Corp.(以下简称“Chanson NY”),该公司拥有并经营Chanson23rd Street LLC(以下简称“Chanson23rd Street”),位于曼哈顿熨斗区中心的一家现代欧式咖啡馆和餐厅,专门制作法式维也纳风味餐厅和糕点。2020年2月20日,公司董事长李刚先生成立了纽约有限责任公司Chanson355Greenwich LLC(“Chanson Greenwich”),随后于2020年9月28日将其在Chanson Greenwich的会员权益转让给了Chanson NY。转让后,香颂格林威治成为香颂纽约的全资子公司。尚森·格林威治(Chanson Greenwich)是曼哈顿另一家精品咖啡馆,目前正在装修中,计划于2021年夏季开业。
重组
关于首次公开募股,本公司已对其法律结构进行了重组(“重组”)。此次重组涉及香颂国际(Chanson International)、迪恩环球(Deen Global)和杰尼德(Jenyd)的合并,双方签署了一份股份转让协议,将新疆和睦家的股权从原始股东手中转让给杰尼德,以及新疆和睦家与UFG实体业主签订的一系列合同协议。重组后,香颂国际成为新疆和睦家的最终控股公司,并对UFG实体拥有有效的控制权。
新疆和睦家于2020年5月2日与22个UFG实体的所有者签订了一系列合同安排,并于2020年6月17日,2020年10月14日和2020年11月6日与三个新成立的UFG实体的所有者签订了一系列合同安排,分别。这些协议包括独家服务协议,质押协议,看涨期权协议,经营权代理和授权书协议以及配偶同意书(统称为“VIE协议”)。根据上述VIE协议,新疆和睦家拥有向UFG实体提供与业务运营相关的咨询服务(包括运营和管理咨询服务)的专有权。上述所有合同安排均使新疆和睦家有义务承担这些UFG实体的业务活动造成的所有损失风险,并使新疆和睦家有权获得其所有剩余回报。从本质上讲,新疆和睦家已经获得了对UFG实体的有效控制。因此,公司认为,根据财务会计准则委员会(“FASB”)会计准则编纂(“ASC”)810合并,这些UFG实体应被视为可变利益实体(“VIE”)。以下,新疆和睦家直接拥有的四家面包店以及通过VIE协议控制的UFG实体统称为“中国商店”。”
| F-7 |
香颂国际控股及其子公司
合并财务报表附注
注1—组织和业务说明(续)
重组(续)
本公司及其全资子公司和VIE在重组前后由相同的股东有效控制,因此重组被视为在共同控制下。本公司及其子公司和VIE的合并已在随附的合并财务报表中以第一期开始时的历史成本入账。
重组后,本公司的合并财务报表包括以下实体:
| 实体名称 | 日期 公司注册 |
的地方 公司注册 |
的百分比 所有权 |
主要活动 | |||||
| 香颂国际 | 七月26,2019 | 开曼群岛 | 父母,100% | 投资控股 | |||||
| 迪恩全球 | 2019年8月13日 | 英属维尔京群岛 | 100% | 投资控股 | |||||
| 杰尼德 | 九月13,2019 | 香港 | 100% | 投资控股 | |||||
| 新疆和睦家 | 2009年8月7日 | 中华人民共和国 | 100% | 咨询和信息技术支持;向客户销售烘焙产品 | |||||
| 25个UFG实体* | 2012至2020年 | 中华人民共和国 | VIE | 向客户出售烘焙产品 | |||||
| 尚森·尼 | 2015年4月17日 | 纽约 | 100% | 控股公司。咨询和信息技术支持 | |||||
| 香颂23街 | 2015年12月18日 | 纽约 | 100% | 提供餐饮服务,并向客户销售烘焙产品和饮料产品 | |||||
| 尚森·格林威治 | 2020年2月20日 | 纽约 | 100% | 提供餐饮服务,并向客户销售烘焙产品和饮料产品。新成立–尚未运营 |
VIE合同安排
UFG实体由公司通过合同安排控制,而不是由公司或其任何子公司直接拥有股权。
VIE是指股权投资总额不足以在没有额外次级财务支持的情况下为其活动提供资金的实体,或者其股权投资者缺乏控制性财务权益的特征,例如通过投票权,有权获得该实体的预期剩余收益,或有义务吸收该实体的预期损失。在VIE中拥有控制性财务权益的可变权益持有人(如果有)被视为VIE的主要受益人,并且必须合并。
新疆和睦家被视为在UFG实体中拥有控制性财务权益并成为其主要受益人,因为它具有以下两个特征:
| ● | 指导UFG实体开展对此类实体的经济表现影响最大的活动的权力,以及 |
| ● | UFG实体承担对此类实体可能具有重大意义的损失的义务和从UFG实体获得利益的权利。 |
根据与UFG实体的合同安排,UFG实体向新疆和睦家支付的服务费等于其所有税后净利润。同时,新疆和睦家有义务承担全部损失。此类合同安排的设计目的是使UFG实体的运营有利于新疆和睦家,并最终有利于公司。
| F-8 |
香颂国际控股及其子公司
合并财务报表附注
注1—组织和业务说明(续)
与VIE结构相关的风险
本公司认为,与其VIE及其各自所有者的合同安排符合中国法律法规,并具有法律约束力。但是,中国法律制度的不确定性可能会限制公司执行此类合同安排的能力。如果发现法律结构和合同安排违反中国法律法规,中国政府可以:
| ● | 吊销公司中国子公司和VIE的业务和经营许可证; |
| ● | 终止或限制公司中国子公司与VIE之间任何关联方交易的运营; |
| ● | 通过订立合同安排来限制公司在中国的业务扩展; |
| ● | 对公司的中国子公司和VIE可能无法遵守的罚款或其他要求; |
| ● | 要求公司或公司的中国子公司和VIE重组相关的所有权结构或运营;要么 |
| ● | 限制或禁止公司将公开发行的收益用于为公司在中国的业务和运营提供资金。 |
如果中国政府采取上述任何行动,则公司开展咨询服务业务的能力可能会受到负面影响。结果,公司可能无法在其合并财务报表中合并其VIE,因为它可能失去对VIE及其各自所有者施加有效控制的能力,并且可能失去从VIE获得经济利益的能力。但是,本公司认为此类行动不会导致本公司及其中国子公司和VIE的清算或解散。公司VIE(UFG实体)的财务状况,运营和现金流量对合并资产负债表上显示的总资产和负债以及收入,支出至关重要,以及在综合业务报表和其他全面收益(亏损)中列示的净收入(亏损)以及在合并现金流量表中列示的来自经营,投资和融资活动的现金流量。截至2020年12月31日和2019年12月31日止年度,公司未向VIE提供任何财务支持。消除公司间交易和余额后,VIE的以下财务报表金额和余额包含在随附的合并财务报表中:
| 2020年12月31日 | 十二月31,2019 | |||||||
| 流动资产 | $ | 3,852,672 | $ | 1,331,795 | ||||
| 非流动资产 | 4,001,163 | 3,779,962 | ||||||
| 总资产 | $ | 7,853,835 | $ | 5,111,757 | ||||
| 流动负债 | $ | 4,500,201 | $ | 2,860,762 | ||||
| 非流动负债 | 1,385,054 | 1,279,682 | ||||||
| 负债总额 | $ | 5,885,255 | $ | 4,140,444 | ||||
在结束的年度 12月31日, |
||||||||
| 2020 | 2019 | |||||||
| 净收入 | $ | 7,831,994 | $ | 6,711,182 | ||||
| 净收入 | $ | 1,288,630 | $ | 1,681,854 | ||||
| F-9 |
香颂国际控股及其子公司
合并财务报表附注
附注2—重要会计政策摘要
陈述基础和合并原则
随附的合并财务报表是根据美利坚合众国普遍接受的会计原则(“美国公认会计原则”)以及美国证券交易委员会(“SEC”)的规则和规定编制的,并一直适用。管理层认为,已包括为公允列报所必需的所有调整(包括正常的经常性应计费用)。随附的合并财务报表包括公司及其子公司和VIE的财务报表。所有公司间余额和交易在合并时抵销。
估计数的使用
在按照美国公认会计原则编制合并财务报表时,管理层做出的估计和假设会影响资产和负债的报告金额以及财务报表日或有资产和负债的披露以及报告期内收入和支出的报告金额。这些估计是基于截至合并财务报表日期的信息。管理层需要做出的重大估计包括但不限于应收账款的估值,财产和设备的使用寿命,长期资产的可收回性,或有负债所需的准备金以及收入确认。实际结果可能与这些估计有所不同。
现金及现金等价物
现金包括手头的货币和银行持有的可以不受限制地增加或提取的存款。本公司在中国拥有大量银行账户。中国银行账户中的现金余额不受联邦存款保险公司(“FDIC”)或其他计划的保险。美国银行的现金余额由FDIC提供保险,但有某些限制。本公司认为自购买之日起三个月或更短原始期限的所有高流动性投资工具均为现金等价物。
限制现金
受限制现金是指留在银行并存放在银行的资金,用作保证金,无法满足公司的一般流动性需求。
应收账款,净额
应收账款按原始发票金额减去无法收回账户的估计备抵确认和结转。
本公司根据个人账户分析和历史收款趋势确定呆账准备金的充足性。当有客观证据表明公司可能无法收取应付款项时,本公司为可疑应收款计提准备金。备抵是基于管理层对个人风险敞口的特定损失的最佳估计以及收款历史趋势的准备金。备抵记入应收账款余额,相应费用记入综合业务报表和综合收益(亏损)。实际收到的金额可能与管理层对信用价值和经济环境的估计有所不同。在管理层确定不太可能收款后,将拖欠的帐户余额从呆账准备金中冲销。截至2020年12月31日和2019年12月31日,由于公司认为所有应收账款均可完全收回,因此未记录备抵。
租赁
本公司遵循FASB ASC第842号《租赁》(“主题842”)。本公司租赁办公空间,面包店商店设施和员工宿舍,根据主题842归类为经营租赁。根据主题842,承租人必须在开始日期对所有租赁(短期租赁除外,通常初始期限为12个月或更短)确认以下内容:(i)租赁负债,这是承租人的义务由租赁产生的租赁付款,以折现方式计量;(ii)使用权(“ROU”)资产,该资产代表承租人在租赁期内使用或控制特定资产的权利。
在开始日期,本公司以尚未支付的租赁付款的现值确认租赁负债,并使用租赁中隐含的利率折现,或者,如果无法轻易确定该利率,公司与基础租赁相同期限的增量借款利率。使用权资产最初按成本确认,该成本主要包括租赁负债的初始金额,加上产生的任何初始直接成本,主要包括经纪佣金,减去收到的任何租赁激励措施。每年对所有使用权资产进行减值审查。截至2020年12月31日和2019年12月31日,ROU租赁资产没有减值。
| F-10 |
香颂国际控股及其子公司
合并财务报表附注
附注2—重要会计政策摘要(续)
租赁(续)
为了应对与COVID-19大流行的影响有关的大量预期租赁特许权,以及由此产生的主题842中应用租赁修改要求的预期成本和复杂性,FASB于2020年4月发布了员工问答-主题842和主题840:与COVID-19大流行的影响有关的租赁优惠的会计处理,作为解释指南,以提供应对危机的明确性。FASB工作人员表示,实体可以选择考虑与COVID-19大流行的影响有关的租赁特许权,这与如何解释这些特许权是一致的,就好像这些特许权的可执行权利和义务存在于原始合同。因此,对于此类租赁特许权,主体将无需重新评估每份现有合同,以确定是否存在可强制执行的特许权权利和义务,并且主体可以选择将主题842中的租赁修改指南应用于这些合同。可以选择与COVID-19大流行的影响有关的特许权,这导致修改后的合同所需的总付款与原始合同所需的总付款基本相同或少于总付款。
根据与其许多房东达成的协议的性质,本公司已将租金优惠视为现有租赁合同的可执行权利和义务的一部分,而未将优惠视为租赁修改。截至本报告发布之日,公司已收到总计643,974美元的租赁优惠,其中截至2020年12月31日止年度收到598,990美元。本公司将特许权解释为负的可变租赁付款,并相应减少了租赁负债。本公司继续按直线法确认其在相关租赁条款下的租赁费用。
库存
公司的库存包括成分材料,制成品,包装材料和其他材料。存货按加权平均以成本或可变现净值中的较低者列示。成本包括成分材料的成本,直接人工以及相关的生产费用。成本超过每项存货的可变现净值的任何差额,均确认为存货价值的减值准备。可变现净值是正常业务过程中的估计售价减去完成和销售产品的任何成本。本公司会定期评估存货的可变现净值调整,并根据各种因素(包括账龄和到期日)(如适用)将过时或超过预测使用量的存货的账面价值减少至其估计的可变现净值,考虑到历史和预期的未来产品销售。截至2020年12月31日和2019年12月31日止年度,未记录任何库存储备,因为未发现滞销,陈旧或损坏的库存。
财产和设备
物业和设备按成本减去累计折旧及摊销列示。财产和设备的折旧及摊销在其预期使用寿命内使用直线法提供,如下所示:
| 使用寿命 | ||
| 面包房生产设备 | 5-8年 | |
| 办公设备和家具 | 4-5年 | |
| 运输车辆 | 5年 | |
| 租赁权益改善 | 使用寿命和租赁期限中的较小者 |
维护和修理支出不会实质性延长资产的使用寿命,而是在发生时从支出中扣除。大幅延长资产使用寿命的重大更新和改善支出被资本化。已报废或出售资产的成本和相关累计折旧从各自账户中删除,任何损益在综合业务报表中确认,全面收益(亏损)在其他收入或支出中确认。
长期资产减值
每当事件或情况变化表明资产的账面价值可能无法收回时,就会对寿命有限的长期资产(主要是财产和设备)进行减值审查。如果使用资产及其最终处置产生的估计现金流量低于资产的账面价值,则该资产被视为已减值并减记至其公允价值。截至2020年12月31日和2019年12月31日,这些资产没有减值。
| F-11 |
香颂国际控股及其子公司
合并财务报表附注
附注2—重要会计政策摘要(续)
收入确认
本公司遵循ASC606,《与客户的合同收入》(“ASC606”)进行收入确认。ASC606建立了报告有关实体向客户提供商品或服务的合同所产生的收入和现金流量的性质,金额,时间和不确定性的信息的原则。核心原则要求主体在履行履约义务时确认收入,以反映向客户转移商品或服务的金额,该金额应反映其期望有权收取的对价,以换取已确认的商品或服务。
该公司目前通过其面包店/咖啡馆商店以及在线销售产生收入。本公司在将相关食品和其他产品交付给客户并履行所有履约义务后确认烘焙/CAF销售收入。收入扣除从客户收取并汇给税务机关的任何折扣,销售激励措施,营业税和增值税后确认。
在中国的商店中,本公司出售没有到期日的会员卡,并且本公司不会从未偿还的卡余额中扣除非使用费。会员卡可以在公司的任何商店地点重新下载和赎回。加载到这些卡中的金额最初记录为递延收入。当在商店兑换会员卡时,公司确认收入并减少递延收入。尽管公司继续兑现所有为付款而出示的会员卡,但管理层确定,对于某些长期不活动(“破损”)的卡,赎回的可能性很小,根据公司的历史记录,这是上次使用后的五年赎回模式。会员卡破损在综合业务报表和综合收益(亏损)中记作收入。截至2020年12月31日和2019年12月31日止年度,会员卡破损并不重要。
在中国商店,公司维持客户忠诚度计划,在该计划中,客户在购买或重新加载一定数量的会员卡时可获得免费现金券。这些现金代金券通常不会过期,但在特殊场合发放的某些代金券除外,这些代金券通常说明到期日,只能换成某些季节性产品或特色蛋糕。本公司在发行会员卡和免费现金券时,在递延收入中建立相应的负债。本公司根据会员卡和现金凭单的面值按比例分配收到的对价。收入在兑换会员卡和现金券时按分配的金额确认,此时,公司将产品交付给客户并降低了递延收入。当管理层确定赎回的可能性很小时,未赎回的现金凭证将在其到期日(如果有)或发行后五年(如果没有规定的到期日)确认为收入。
合同余额和剩余履约义务
当控制权转移给客户与收到对价之间的时间差异发生时,通常会产生合同余额。截至2020年12月31日和2019年12月31日,公司没有合同资产。截至2020年12月31日和2019年12月31日,公司的合同负债分别反映在其递延收入为4,657,000美元和3,410,303美元的合并资产负债表中,主要包括客户对会员卡的付款以及公司客户忠诚度计划下现金凭证的公允价值。这些金额代表截至资产负债表日公司未履行的履约义务。截至2020年12月31日和2019年12月31日止年度确认的已包括在期初递延收入中的收入金额分别为2,936,748美元和1,864,535美元。截至2020年12月31日,未赎回的会员卡和现金券总额为4,657,000美元。当客户在商店购买中兑换会员卡或现金券时,公司将确认收入。根据公司的历史经验,预计赎回的很大一部分将在2020年12月31日之后的前两年进行,其余部分将在第三年至第五年之间进行。
收入分类
公司按地理区域划分收入,因为公司认为它最好地描述了收入和现金流量的性质,金额,时间和不确定性如何受到经济因素的影响。公司截至2020年12月31日和2019年12月31日止年度的收入分类在合并财务报表附注12中披露。
| F-12 |
香颂国际控股及其子公司
合并财务报表附注
附注2—重要会计政策摘要(续)
金融工具的公允价值
公允价值定义为在计量日市场参与者之间在有序交易中出售资产所收取的价格或转移负债所支付的价格。三级公允价值层次结构优先考虑用于计量公允价值的输入。层次结构要求实体最大程度地使用可观察的输入并最小化不可观察的输入的使用。用于计量公允价值的三个输入级别如下:
| ● | 级别1-估值方法的输入是活跃市场中相同资产或负债的报价(未调整)。 |
| ● | 级别2-估值方法的输入包括活跃市场中类似资产和负债的报价,不活跃市场中相同或相似资产的市场报价,可观察到的报价以外的输入,以及从可观察的市场数据得出或证实的输入。 |
| ● | 级别3-无法观察到估值方法的输入。 |
除非另有披露,否则公司金融工具的公允价值,包括现金及现金等价物,应收账款,净额,预付费用及其他流动资产,短期银行贷款,应付关联方的应付账款,应付税款,营业租赁负债,流动和其他流动负债,根据资产和负债的短期性质,近似于截至2020年12月31日和2019年12月31日各自资产和负债的公允价值。长期经营租赁负债的公允价值近似于其记录价值,因为其规定的利率近似于当前可用的利率。
外币换算
本公司中国子公司和VIE的功能货币为人民币(“人民币”),本公司美国子公司的功能货币为美元(“美元”)。公司合并财务报表中的人民币金额已转换为报告货币美元。本公司的资产和负债按每个报告期结束日的汇率折算。权益按历史汇率折算。收入和支出账户在本报告所述期间按平均汇率折算。由此产生的折算调整在其他全面收益(亏损)下报告。由于现金流量是根据平均转换率换算的,因此现金流量表中报告的与资产和负债有关的金额不一定与资产负债表中相应余额的变化一致。外币交易和余额的换算产生的损益反映在经营成果中。
人民币不能自由兑换成外币,所有外汇交易必须通过授权机构进行。没有任何陈述表明人民币金额可以或可以按照翻译中使用的汇率转换为美元。
下表概述了在本报告中创建合并财务报表时使用的货币汇率:
| 12月31日, 2020 |
12月31日, 2019 |
|||||||
| 年终即期汇率 | 1美元=人民币6.5326元 | 1美元=人民币6.9680元 | ||||||
| 平均利率 | 1美元=人民币6.9020元 | 1美元=人民币6.9088元 | ||||||
所得税
本公司根据有关税务机关的法律核算当期所得税。当资产和负债的税基与其在合并财务报表中报告的金额之间存在暂时性差异时,确认递延所得税。递延所得税资产和负债使用预期适用于预期可收回或结算这些暂时性差异的年度的应纳税所得额的已制定税率计量。税率变化对递延所得税资产和负债的影响在包括颁布日期在内的期间的收入中确认。必要时设立估价备抵,以将递延所得税资产减至预期实现的数额。
不确定的税收状况只有在“很可能”在税收审查中维持该税收状况时才被确认为利益。确认的金额是最大的税收优惠金额,大于检查时可能实现的50%。对于不符合“很可能”测试的税收头寸,不会记录任何税收优惠。与少缴所得税有关的罚款和利息在发生期间分类为所得税费用。截至2020年12月31日和2019年12月31日止年度,未发生与所得税有关的罚款或利息。本公司认为在2020年12月31日和2019年12月31日没有任何不确定的税收准备。
| F-13 |
香颂国际控股及其子公司
合并财务报表附注
附注2—重要会计政策摘要(续)
所得税(续)
公司在中国的经营子公司受中国所得税法的约束。公司在美国的运营子公司受美国税法的约束。截至2020年12月31日,公司中国子公司截至2016年12月31日至2020年12月31日的纳税年度仍开放供中国税务机关进行法定审查,截至2018年12月31日至12月31日的纳税年度,公司美国子公司的2020年仍开放供美国税务机关进行法定审查。
增值税(“VAT”)
公司的子公司新疆和睦家及其三个分支机构是一般纳税人。根据新的中国税法,在2019年4月1日之前,适用的增值税税率为16%,在2019年4月1日之后,适用的增值税税率为13%。增值税在发生时作为收入的扣除额报告。增值税一般纳税人的实体可以将支付给供应商的合格进项增值税与其出口增值税负债抵销。UFG实体是作为个人拥有的企业成立的,其增值税税率通常较低,为3%,中国地方税务机关有权根据具体情况评估和确定其增值税义务或豁免。16个UFG实体目前免征增值税,而其中9个UFG实体目前的增值税税率为3%,由当地税务机关确定。他们的增值税资格需要定期重新评估,并且他们可能会失去或恢复税务机关根据具体情况确定的免税地位。
每股收益(亏损)
公司根据ASC260,每股收益(“ASC260”)计算每股收益(亏损)(“EPS”)。ASC260要求具有复杂资本结构的公司提出基本和稀释后的每股收益。基本每股收益以净收入除以该期间已发行普通股的加权平均数计量。稀释后的潜在普通股(例如,可转换证券,期权和认股权证)对每股的稀释作用,就好像它们在所呈报的期间开始时或发行日期(如果较晚)已转换一样。具有反稀释作用的潜在普通股(即增加每股收益或减少每股亏损的普通股)不包括在稀释每股收益的计算中。截至2020年12月31日和2019年12月31日,没有稀释股。
综合收益(亏损)
综合收益(亏损)由净收入(亏损)和其他综合收益(亏损)两部分组成。将以人民币表示的财务报表折算为美元所产生的外币折算损益,在综合业务报表的其他综合收益(亏损)和综合收益(亏损)中列示。
风险与不确定性
政治和经济风险
本公司的业务位于中国和美国。因此,公司的业务,财务状况和经营成果可能会受到中国和美国的政治,经济和法律环境以及中国和美国经济总体状况的影响。公司的业绩可能会受到中国和美国政治,法规和社会状况变化的不利影响。尽管公司未因这些情况而遭受损失,并认为其遵守现有法律和法规,包括注释1中披露的组织和结构,但这种经验可能并不表示未来的结果。
外币兑换风险
公司的大部分收入和费用交易均以人民币计价,公司及其子公司的大部分资产和负债均以人民币计价。人民币不能自由兑换成外币.在中国,法律要求某些外汇交易只能由授权的金融机构按照中国人民银行(“PBOC”)设定的汇率进行。公司在中国以人民币以外的其他货币进行的汇款必须通过中国人民银行或其他中国外汇监管机构处理,这些机构需要某些证明文件才能进行汇款。
信用风险
截至2020年12月31日和2019年12月31日,公司的现金中有3,184,855美元和2,243,810美元存放在中国的金融机构,目前尚无规则或法规要求此类金融机构在银行倒闭时维持保险以覆盖银行存款。截至2020年12月31日和2019年12月31日,公司现金中的844,516美元和1,594,587美元存放在美国金融机构中,这些机构由FDIC提供保险,但有某些限制。本公司在此类帐户中未遭受任何损失。
截至2020年12月31日和2019年12月31日止年度,公司的大量资产位于中国,公司的大量收入来自其位于中国的子公司和VIE。
| F-14 |
香颂国际控股及其子公司
合并财务报表附注
附注2—重要会计政策摘要(续)
风险和不确定性(续)
应收账款通常是无抵押的,并且来自从客户那里获得的收入,因此面临信用风险。通过公司对客户信誉的评估以及对未偿余额的持续监控,可以减轻风险。
浓度
截至2020年12月31日和2019年12月31日止年度,没有任何单一客户占公司收入的10%以上。
截至2020年12月31日,两名客户分别占公司总应收账款余额的15.1%和12.6%。截至2019年12月31日,一名客户占公司总应收账款余额的10.7%。
截至2020年12月31日和2019年12月31日止年度,一个供应商分别占公司总购买量的21.5%和20.9%。
最近的会计公告
2019年12月,FASB发布了ASU No.2019-12,所得税(主题740):简化所得税会计,作为其降低会计准则复杂性的举措(“简化举措”)的一部分。简化计划的目标是确定,评估和改进美国公认会计原则的领域,这些领域的成本和复杂性可以降低,同时保持或提高提供给财务报表用户的信息的有用性。利益相关者提交了本ASU中可能简化的特定领域,作为简化计划的一部分。对于公共企业实体,此更新中的修订自2020年12月15日之后的会计年度以及该会计年度内的过渡期生效。公司于2021年1月1日采用了该ASU,采用该ASU对其合并财务报表没有重大影响。
除上述声明外,没有新发布的会计准则会对公司的合并财务状况,经营报表和现金流量产生重大影响。
附注3–净应收账款
该公司的应收账款主要包括向当地公司客户销售烘焙产品所产生的余额,这些余额已开票,但截至资产负债表日尚未收回。应收账款包括以下内容:
| 2020年12月31日 | 十二月31,2019 | |||||||
| 应收账款 | $ | 713,389 | $ | 455,668 | ||||
| 减:呆账准备金 | - | - | ||||||
| 应收账款,净额 | $ | 713,389 | $ | 455,668 | ||||
截至2020年12月31日和2019年12月31日,由于公司认为所有应收账款均可完全收回,因此未记录备抵。随后收取了2020年12月31日余额的约75%(54万美元)。剩余约18万美元的余额预计将在2021年12月31日之前收取。
注4—库存
库存包括以下内容:
| 2020年12月31日 | 十二月31,2019 | |||||||
| 成分材料 | $ | 338,414 | $ | 296,741 | ||||
| 包装及其他材料 | 32,353 | 28,461 | ||||||
| 成品 | 98,603 | 25,893 | ||||||
| 库存 | $ | 469,370 | $ | 351,095 | ||||
| F-15 |
香颂国际控股及其子公司
合并财务报表附注
注5—租赁
本公司以不可撤销的经营租赁方式租赁办公空间,面包店商店设施和员工宿舍,租期为1至15年。本公司考虑在确定租赁期限以及ROU资产和租赁负债的初始计量时合理确定会行使的那些续签或终止选择权。租赁费用在租赁期内按直线法确认。初始期限为12个月或更短的租赁不记录在资产负债表上。
本公司在合同开始时确定合同是租赁还是包含租赁,以及该租赁是否符合融资租赁或经营租赁的分类标准。如果有的话,公司会使用租赁中隐含的利率将租赁付款折现至现值;但是,公司的大多数租赁均未提供易于确定的隐含利率。因此,本公司根据其增量借款利率的估计对租赁付款进行折现。
公司的租赁协议不包含任何重大的残值担保或重大的限制性契约。
下表列出了资产负债表中记录的与经营租赁相关的资产和负债。
| 12月31日, 2020 |
12月31日, 2019 |
|||||||
| ROU租赁资产 | $ | 10,824,945 | $ | 8,346,190 | ||||
| 经营租赁负债–当前 | $ | 1,105,664 | $ | 901,797 | ||||
| 经营租赁负债–非流动 | 9,253,187 | 6,770,538 | ||||||
| 经营租赁负债共计 | $ | 10,358,851 | $ | 7,672,335 | ||||
截至2020年12月31日和2019年12月31日,所有经营租赁的加权平均剩余租赁期限和折现率如下:
| 12月31日, 2020 |
12月31日, 2019 |
|||||||
| 剩余租赁期限和折现率: | ||||||||
| 加权平均剩余租赁期限(年) | 8.03 | 9.93 | ||||||
| 加权平均折现率* | 4.57 | % | 4.81 | % | ||||
| * | 本公司在中国和美国的租赁合同分别使用了6.98%和3.75%的增量借款利率。 |
截至2020年12月31日和2019年12月31日止年度,公司发生的经营租赁费用总额分别为1,749,258美元和1,835,263美元。
以下是截至2020年12月31日的租赁负债到期年表:
| 2021 | $ | 1,581,450 | ||
| 2022 | 1,542,110 | |||
| 2023 | 1,370,910 | |||
| 2024 | 1,353,710 | |||
| 2025 | 1,203,926 | |||
| 此后 | 5,443,090 | |||
| 租赁付款总额 | 12,495,196 | |||
| 减:推算利息 | (2,136,345 | ) | ||
| 租赁负债的现值 | $ | 10,358,851 |
| F-16 |
香颂国际控股及其子公司
合并财务报表附注
注6—物业及设备净额
物业及设备净额由以下部分组成:
| 12月31日, 2020 |
12月31日, 2019 |
|||||||
| 面包房生产设备 | $ | 821,873 | $ | 774,925 | ||||
| 汽车 | 56,602 | 29,596 | ||||||
| 办公设备和家具 | 414,664 | 389,188 | ||||||
| 租赁权益改善 | 3,582,866 | 3,110,918 | ||||||
| 小计 | 4,876,005 | 4,304,627 | ||||||
| 减:累计折旧 | (1,553,334 | ) | (1,139,416 | ) | ||||
| 物业及设备净额 | $ | 3,322,671 | $ | 3,165,211 | ||||
截至2020年12月31日和2019年12月31日止年度,折旧费用分别为485,826美元和459,886美元。
关于公司截至2020年12月31日和2019年12月31日从华夏银行获得的1500万元人民币短期贷款,公司以其账面净值分别为302,434美元和284,025美元的固定资产作为该贷款的抵押品(请参阅附注7)。
注7—银行贷款
| a. | 短期银行贷款 |
于2019年4月11日,公司附属公司新疆和睦家与华夏银行订立贷款协议,借入1500万元人民币(截至2019年12月31日为2,138,962美元)作为营运资金,为期一年,到期日为2020年4月11日。该贷款的固定利率为6.98%。贷款随后在到期时全额偿还。2020年5月11日,新疆和睦家与华夏银行签署了新的贷款协议,借入1500万元人民币(截至2020年12月31日为2,289,038美元)作为营运资金,为期一年,到期日为2021年5月11日。该贷款的优惠固定利率为4.98%。贷款随后在到期时全额偿还。这两笔贷款由新疆和睦家法定代表人Baolin Wang女士和新疆融资担保有限公司(“XJ融资担保”)担保。为了让XJ Financing Guaranty在银行背书担保,公司控股股东李刚先生及其妻子Ying Xiong女士与XJ Financing Guaranty共同签署了个人担保协议,并将其住宅物业作为XJ Financing Guaranty的抵押品。此外,新疆和睦家将其在中国的所有设备和两家面包店的经营权作为XJ Financing Guaranty的抵押品。李刚先生控制的三个关联实体还与XJ Financing Guaranty签订了担保协议。
| b. | 长期银行贷款 |
2020年4月29日,公司的子公司香颂23街(Chanson23rd Street)根据美国小企业管理局(“SBA”)薪资保护计划(“PPP”)从国泰银行获得了总计209,291美元的贷款,这是冠状病毒援助的一部分,2020年3月27日颁布的《救济和经济安全法》(“CARES法”)。根据SBA PPP贷款的条款,如果满足某些条件,并且贷款收益用于符合条件的费用,例如工资成本,福利,租金和公用事业,则最高可免除本金和应计利息的100%。CARES法案。贷款按1%的利率计息,未获豁免的本金和应计利息的任何部分必须在2022年4月29日之前偿还。公司于2021年2月底提出了免除贷款本金和利息的申请,该申请随后于2021年5月获得银行和SBA的批准。
对于上述贷款,公司截至2020年12月31日和2019年12月31日止年度的利息支出分别为113,848美元和152,382美元。
附注8—关联方交易
| a. | 应收关联方款项 |
截至2020年12月31日,应付关联方的款项为6,316美元,是李刚先生为公司运营提供的预付款。这些应付款项是无抵押的,不计息的,应要求支付。李刚先生代表公司发生的所有费用和负债都及时记录在公司的合并财务报表中。截至本报告之日,应付关联方的款项已随后偿还。
| b. | 其他关联方交易s |
若干关联方就本公司向华夏银行借入的贷款提供担保(见附注7)。
| F-17 |
香颂国际控股及其子公司
合并财务报表附注
注9—税收
| (a) | 企业所得税(“CIT”) |
开曼群岛
根据开曼群岛现行税法,本公司的收入或资本收益无需缴税。此外,本公司向其股东支付股息将不征收开曼群岛预扣税。
英属维尔京群岛
Deen Global是在英属维尔京群岛注册成立的离岸控股公司,根据英属维尔京群岛法律,无需对收入或资本利得征税。
香港
Jenyd在香港注册成立,并须在香港缴纳16.5%的利得税。但是,截至2020年12月31日和2019年12月31日止年度,Jenyd未在香港产生或源自香港的任何应评税利润,因此,在这些期间未计提香港利得税准备金。
中华人民共和国
根据《中国企业所得税法》(“EIT”),国内企业和外商投资企业(“FIE”)通常应遵守25%的统一企业所得税税率,而优惠税率,免税期或豁免可以根据具体情况授予。公司的子公司新疆和睦家及其三个分支机构在中国注册成立。截至2020年12月31日和2019年12月31日止年度,新疆和睦家及其所有三个分支机构均符合小型微利企业的资格。根据《中华人民共和国企业所得税法》,并根据国家税务总局于2019年1月18日发布的《关于实施中小企业普惠性所得税减免政策有关问题的公告》,自1月1日起,2019年至2021年12月31日,一旦企业满足某些要求并被确定为小型微利企业,其应纳税所得额不超过人民币100万元的部分按5%的税率降低,而人民币100万元至300万元之间的部分按10%的税率降低。
UFG实体是个人拥有的企业,不受中国《企业所得税法》的约束。国家税务总局于2014年12月19日通过了《个体工商户个人所得税计算办法》(以下简称“办法”),并于2014年12月27日颁布,并于2018年6月15日进行了修订。根据《办法》第七条规定,个体工商户的生产经营所得,其应纳税所得额为各纳税年度的收入总额减去成本、费用、税金、亏损和其他支出后的余额,以及对前几年损失的允许赔偿。UFG实体适用的个人拥有企业的所得税通常可以在实际基础上或视为基础上评估。因此,UFG实体的所得税是按当地税务机关评估的应纳税净收入(“TNI”)的一定百分比作为固定税率征收的。截至2020年12月31日止年度,这些UFG实体中的11个应按TNI的1%缴纳所得税,每月人民币33,000元至120,000元。截至2019年12月31日止年度,其中八家UFG实体应缴纳的所得税为TNI的1%或1.5%,每月为人民币15,000元至人民币123,000元。这些UFG实体的其余部分免征所得税。截至2020年12月31日和2019年12月31日止年度,UFG实体的免税总额分别为3,480美元和3,420美元。截至2020年12月31日,公司UFG实体截至2016年12月31日至2020年12月31日的纳税年度仍开放供中国税务机关进行法定审查。此外,公司UFG实体的TNI和税率将由当地税务机关定期重新评估。如果地方税务机关确定UFG实体的所得税应按较高的TNI或较高的税率征收,则公司将有义务为UFG实体支付额外的所得税。随着业务的持续增长,公司预计这些UFG实体的税率将来可能会根据过去的表现在年度评估中提高。
| F-18 |
香颂国际控股及其子公司
合并财务报表附注
注9—税收(续)
| (a) | 企业所得税(“CIT”)(续) |
美国
公司在美国的子公司应缴纳21%的美国联邦公司所得税。
所得税拨备的构成部分如下:
在结束的年度 12月31日, |
||||||||
| 2020 | 2019 | |||||||
| 当期税收准备 | ||||||||
| 开曼群岛 | $ | - | $ | - | ||||
| BVI | - | - | ||||||
| 香港 | - | - | ||||||
| 中华人民共和国 | 14,584 | 59,686 | ||||||
| 美国 | - | - | ||||||
| $ | 14,584 | $ | 59,686 | |||||
| 递延税项准备 | ||||||||
| 开曼群岛 | $ | - | $ | - | ||||
| BVI | - | - | ||||||
| 香港 | - | - | ||||||
| 中华人民共和国 | - | - | ||||||
| 美国 | - | - | ||||||
| - | - | |||||||
| 所得税规定 | $ | 14,584 | $ | 59,686 | ||||
该公司的净递延所得税资产由以下部分组成:
| 12月31日, 2020 |
12月31日, 2019 |
|||||||
| 净营业亏损 | $ | 1,483,207 | $ | 1,138,512 | ||||
| 递延所得税资产共计 | 1,483,207 | 1,138,512 | ||||||
| 评估津贴 | (1,483,207 | ) | (1,138,512 | ) | ||||
| 递延所得税资产,净额 | $ | - | $ | - | ||||
公司在美国的业务产生了累计净营业亏损(“NOL”),这可能会减少未来的联邦应税收入。截至2019年12月31日,累计NOL为5,421,486美元。截至2020年12月31日止年度,美国业务产生了1,641,406美元的额外NOL,截至2020年12月31日,累计NOL为7,062,892美元,其中约2,882,465美元将于2037年到期,其余余额将无限期结转。
本公司定期评估实现递延所得税资产的可能性,并在其认为一部分不会实现的范围内通过评估备抵减少递延所得税资产的账面价值。管理层考虑新的正面和负面证据,这些证据可能会影响公司未来递延所得税资产的实现,包括其最近的累计收益经验,对未来收入的预期,可用于税收报告目的的结转期以及其他相关因素。该公司认为,由于美国业务未来收益的不确定性,其递延所得税资产很可能无法实现。截至2020年12月31日和2019年12月31日,公司分别为其递延所得税资产提供了100%的备抵。
| F-19 |
香颂国际控股及其子公司
合并财务报表附注
注9—税收(续)
| (a) | 企业所得税(“CIT”)(续) |
截至2020年12月31日和2019年12月31日止年度,根据中国法定所得税率计算的所得税拨备与公司实际所得税拨备之间的差异对帐如下:
在结束的年度 12月31日, |
||||||||
| 2020 | 2019 | |||||||
| 根据中国法定税率计算的所得税费用(收益) | (37,361 | ) | 251,288 | |||||
| 中国实体的优惠税率和免税影响(a) | (358,406 | ) | (465,888 | ) | ||||
| 利率差异对美国子公司的影响 | 65,656 | 43,886 | ||||||
| 估价备抵的变化 | 344,695 | 230,400 | ||||||
| 实际所得税拨备 | 14,584 | 59,686 | ||||||
| (a) | 截至2020年12月31日和2019年12月31日止年度,公司的子公司新疆和睦家及其三个分支机构的优惠税率为5%。截至2020年12月31日止年度,地方税务机关对11个UFG实体进行了评估,按每月人民币33,000元至120,000元的TNI的1%计算固定金额的所得税。截至2019年12月31日止年度,当地税务机关对八个UFG实体进行了评估,按TNI的1%或1.5%(从人民币15,000元至人民币123,000元)计算固定金额的所得税每月。UFG的其余实体免征所得税。截至2020年12月31日和2019年12月31日止年度,由于优惠税率和免税而节省的税款分别为358,406美元和465,888美元,优惠税率和免税的每股影响分别为0.04美元和0.05美元。 |
应付税款包括以下各项:
| 12月31日, 2020 |
12月31日, 2019 |
|||||||
| 应付所得税 | $ | 32,249 | $ | 102,044 | ||||
| 应付增值税 | 4,216 | 7,151 | ||||||
| 其他应付税款 | 19,885 | 17,209 | ||||||
| 应付税款总额 | $ | 56,350 | $ | 126,404 | ||||
附注10–股东权益
普通股
香颂国际是一家于2019年7月26日根据开曼群岛法律成立的公司。在进行1,000比1的远期拆分和股票发行之前(请参见注释13),法定普通股数量为50,000股,每股面值1美元,已发行100股普通股。发行这100股普通股以及1,000比1的远期拆分和股票发行被视为公司重组的一部分,并追溯适用,就好像交易发生在所呈报的期初一样(请参阅注释1)。
法定储备
本公司之中国附属公司须根据根据中国公认会计原则(「中国公认会计原则」)厘定之税后净收入,拨出若干储备金,包括法定盈余公积及酌情盈余公积。法定盈余公积的拨款必须至少为根据中国公认会计原则确定的税后净收入的10%,直到公积等于该实体注册资本的50%为止。酌情性盈余公积的拨款由董事会酌情决定。法定准备金可以用于弥补上一年度的亏损(如果有),也可以用于一般业务扩展和生产或增加注册资本,但不能作为现金股利分配。截至2020年12月31日和2019年12月31日,法定准备金余额分别为447,231美元和447,231美元,等于实体注册资本的50%。
限制净资产
公司的中国子公司和VIE以贷款,预付款或现金股利的形式向公司转让部分净资产(相当于其法定准备金和股本)的能力受到限制。在中国组织的实体支付股息受到限制,程序和手续的约束。中国的法规目前仅允许从根据中国会计准则和法规确定的累计利润中支付股息。截至2020年12月31日和2019年12月31日,受限制净资产总额分别为1,325,631美元和1,325,631美元。
| F-20 |
香颂国际控股及其子公司
合并财务报表附注
注11–承诺与或有事项
或有事项
本公司不时是在日常业务过程中发生的各种法律诉讼的当事方。当这些事项很可能发生且可以合理估计该金额时,本公司应计与这些事项相关的成本。与或有损失有关的法律费用在发生时支销。截至2020年12月31日和2019年12月31日,没有针对公司的法律索赔和诉讼。
注12–分部报告
根据ASC280,分部报告,经营分部定义为企业的组成部分,可获得有关该组成部分的单独财务信息,并由首席经营决策者(“CODM”)或决策小组定期评估,以决定如何分配资源和评估绩效。本公司使用“管理方法”确定可报告的经营分部。管理方法将公司CODM用于制定运营决策和评估绩效的内部组织和报告视为确定公司可报告部门的来源。管理层(包括CODM)通过不同服务的收入来审查运营结果。根据管理层的评估,公司已确定其有两个经营部门。
下表分别列出了截至2020年12月31日和2019年12月31日止年度的细分信息:
| 截至2020年12月31日止年度 | ||||||||||||
| 中国 | 联合 州 |
总计 | ||||||||||
| 收入 | $ | 8,973,742 | $ | 1,339,770 | $ | 10,313,512 | ||||||
| 收益成本 | 4,410,288 | 753,890 | 5,164,178 | |||||||||
| 毛利 | $ | 4,563,454 | $ | 585,880 | $ | 5,149,334 | ||||||
| 净收入(亏损) | $ | 1,477,377 | $ | (1,641,406 | ) | $ | (164,029 | ) | ||||
| 利息支出净额 | (108,852 | ) | - | (108,852 | ) | |||||||
| 所得税准备金 | 14,584 | - | 14,584 | |||||||||
| 折旧及摊销 | $ | 276,981 | $ | 208,845 | $ | 485,826 | ||||||
| 资本支出 | $ | 262,284 | $ | 312,049 | $ | 574,333 | ||||||
| 总资产 | 8,798,180 | 12,339,199 | 21,137,379 | |||||||||
| 负债总额 | $ | 10,185,536 | $ | 8,712,605 | $ | 18,898,141 | ||||||
| 截至2019年12月31日止年度 | ||||||||||||
| 中国 | 联合 州 |
总计 | ||||||||||
| 收入 | $ | 10,203,075 | $ | 2,374,060 | $ | 12,577,135 | ||||||
| 收益成本 | 4,699,333 | 1,204,123 | 5,903,456 | |||||||||
| 毛利 | $ | 5,503,742 | $ | 1,169,937 | $ | 6,673,679 | ||||||
| 净收入(亏损) | $ | 2,042,611 | $ | (1,097,143 | ) | $ | 945,468 | |||||
| 利息支出净额 | (148,902 | ) | - | (148,902 | ) | |||||||
| 所得税准备金 | 59,686 | - | 59,686 | |||||||||
| 折旧及摊销 | $ | 256,227 | $ | 203,659 | $ | 459,886 | ||||||
| 资本支出 | $ | 572,581 | $ | 63,918 | $ | 636,499 | ||||||
| 总资产 | 7,585,663 | 9,862,062 | 17,447,725 | |||||||||
| 负债总额 | $ | 8,659,505 | $ | 6,517,160 | $ | 15,176,665 | ||||||
| F-21 |
香颂国际控股及其子公司
合并财务报表附注
注13–后续事件
2021年3月27日,公司股东和董事会批准(i)按1,000股换1股的比例对公司普通股进行远期拆分,以将法定普通股从50,000股增加到50,000,000股并将当时已发行的面值$1的100股普通股细分为面值$0.00 1的100,000股普通股(“1,000比1远期拆分”);(ii)创建A类普通股和B类普通股;(iii)发行A类普通股以及向现有股东发行的B类普通股,以将本次发行完成前已发行和流通的普通股总数从100,000股增加到9,000,000股(“股票发行”)。公司认为,1,000比1的远期拆分和股票发行应被视为公司重组的一部分,并根据ASC260进行追溯会计处理。本公司已追溯重述了所有呈报期间的所有股份和每股数据。因此,截至2020年12月31日和2019年12月31日,公司拥有44,000,000股面值$0.00 1的法定A类普通股,其中3,060,000股已发行在外流通,截至2020年12月31日和2019年12月31日,公司拥有6,000,000股面值$0.00 1的法定B类普通股,其中5,940,000股B类普通股已发行在外。截至2020年12月31日和2019年12月31日,公司总计拥有50,000,000股面值0.00 1美元的法定普通股,其中9,000,000股已发行在外。
于2021年5月31日,本公司附属公司新疆和睦家与华夏银行订立贷款协议,借入人民币1,000万元(1,531,000美元)作为营运资金,为期一年,到期日为2022年5月31日。该贷款的固定利率为5.54%。这笔贷款由新疆和睦家法定代表人Baolin Wang女士担保,新疆融保担保。为了让XJ Financing Guaranty在银行背书担保,公司控股股东李刚先生及其妻子Ying Xiong女士同意与XJ Financing Guaranty共同签署个人担保协议,并将其住宅作为XJ Financing Guaranty的抵押品。此外,新疆和睦家同意将其在中国的所有设备和两家面包店的经营权作为XJ Financing Guaranty的抵押品。李刚先生控制的三个关联实体也同意与XJ Financing Guaranty签署担保协议。截至本报告之日,双方正在签署相关担保协议。
公司评估了截至2021年6月2日(即这些合并财务报表的发布日期)的后续事件,并得出结论,除上述披露外,没有其他后续事件需要在财务报表中进行调整或披露。
附注14–母公司的简明财务信息
根据SX法规第12-04(a),5-04(c)和4-08(e)(3)条的要求,当限制净资产时,应提交母公司的简明财务信息。截至最近完成的会计年度结束时,合并子公司的资产超过合并净资产的25%。本公司根据该要求对合并子公司的受限净资产进行了测试,并得出结论,该测试适用于本公司,因为本公司中国子公司的受限净资产和VIE超过了本公司合并净资产的25%。因此,此处包含母公司的简明财务报表。
出于上述测试的目的,合并子公司和VIE的受限净资产是指截至最近一个会计年度结束时,公司在合并子公司净资产中所占的比例份额(公司间抵销后)不得由子公司和VIE以贷款,预付款的形式转让给母公司,或未经第三方同意的现金股息。
母公司的简明财务信息是使用与公司合并财务报表中规定的会计政策相同的会计政策编制的,不同之处在于母公司使用权益法核算对子公司和VIE的投资。此类投资在简明资产负债表中列为“对子公司和VIE的投资”,而相应的损益在简明收益表中列为“子公司和VIE的收益权益”。
脚注披露包含与公司运营有关的补充信息,因此,这些声明应与公司合并财务报表的注释一起阅读。通常根据美国公认会计原则编制的财务报表中通常包含的某些信息和脚注披露已精简或省略。
本公司在呈报的期间内未支付任何股息。截至2020年12月31日和2019年12月31日,本公司没有重大或有事项,重大长期债务准备金或担保,但在合并财务报表中单独披露的除外(如有)。
| F-22 |
香颂国际控股及其子公司
合并财务报表附注
附注14–母公司的简明财务信息(续)
香颂国际控股
母公司资产负债表
| 12月31日, 2020 |
12月31日, 2019 |
|||||||
| 资产 | ||||||||
| 非流动资产 | ||||||||
| 对子公司和VIE的投资 | $ | 2,239,238 | $ | 2,271,060 | ||||
| 总资产 | $ | 2,239,238 | $ | 2,271,060 | ||||
| 负债和股东权益 | ||||||||
| 负债 | $ | - | $ | - | ||||
| 承诺与或有事项 | ||||||||
| 股东权益 | ||||||||
| 普通股,面值$0.00 1,已授权50,000,000股;截至2020年12月31日和2019年12月31日,已发行和流通的股票分别为9,000,000股:* | ||||||||
| A类普通股,面值$0.00 1,已授权44,000,000股;截至2020年12月31日和2019年12月31日,已发行和流通的股票分别为3,060,000股 | 3,060 | 3,060 | ||||||
| B类普通股,面值$0.00 1,已授权6,000,000股;截至2020年12月31日和2019年12月31日分别发行和发行了5,940,000股 | 5,940 | 5,940 | ||||||
| 普通股与额外实收资本 | 869,400 | 869,400 | ||||||
| 留存收益 | 1,044,825 | 1,208,854 | ||||||
| 累计其他综合收益 | 316,013 | 183,806 | ||||||
| 股东权益总额 | 2,239,238 | 2,271,060 | ||||||
| 负债总额和股东权益 | $ | 2,239,238 | $ | 2,271,060 | ||||
| * | 追溯重述,以实现1,000比1的远期拆分和股票发行(见附注13) |
| F-23 |
香颂国际控股及其子公司
合并财务报表附注
附注14–母公司的简明财务信息(续)
香颂国际控股
母公司经营报表和综合收益(亏损)
| 在结束的年度 12月31日, |
||||||||
| 2020 | 2019 | |||||||
| 子公司和VIE的收益(亏损)权益 | $ | (164,029 | ) | $ | 945,468 | |||
| 净收入(亏损) | (164,029 | ) | 945,468 | |||||
| 外币换算调整 | 132,207 | (26,787 | ) | |||||
| 综合收益(亏损) | $ | (31,822 | ) | $ | 918,681 | |||
香颂国际控股
母公司现金流量表
| 在结束的年度 12月31日, |
||||||||
| 2020 | 2019 | |||||||
| 经营活动产生的现金流量: | ||||||||
| 净收入(亏损) | $ | (164,029 | ) | $ | 945,468 | |||
| 调整以调节净经营活动产生的现金流量: | ||||||||
| 子公司和VIE的收益(亏损)权益 | 164,029 | (945,468 | ) | |||||
| 经营活动所用现金净额 | - | - | ||||||
| 现金变动 | - | - | ||||||
| 年初现金 | - | - | ||||||
| 年末现金 | $ | - | $ | - | ||||
| F-24 |
在【】之前,所有进行这些证券交易的交易商,无论是否参与本次发行,都可能需要交付招股说明书。此外,交易商还有义务在担任承销商时以及就其未售出的配售或认购提供招股说明书。
3,000,000股A类普通股
香颂国际控股
招股说明书日期【】
第二部分
招股说明书中不需要的信息
项目6。董事和高级职员的赔偿。
开曼群岛法律并不限制公司章程可以规定对高级职员和董事进行赔偿的程度,除非开曼群岛法院认为任何此类规定违反公共政策,例如,对民事欺诈或犯罪后果提供赔偿。我们的经修订和重述的公司章程将在本次发行完成之时或之前生效,规定在法律允许的范围内,我们应赔偿每位现任或前任秘书,董事(包括候补董事),以及我们的任何其他高级管理人员(包括投资顾问或管理人或清算人)及其个人代表,反对:
(a)现任或前任董事(包括候补董事),秘书所招致或承受的所有诉讼,程序,费用,收费,开支,损失,损害赔偿或负债,或与我们的业务或事务有关的人员,或执行或履行现有或前任董事(包括候补董事),秘书或高级职员的职责,权力,权限或酌处权的人员;和
(b)但不限于上述(a)款,现任或前任董事(包括候补董事),秘书或高级管理人员为辩护(无论是成功还是以其他方式)任何民事,刑事辩护而产生的所有成本,费用,损失或负债,行政或调查程序(无论是否受到威胁,(待决或已完成),涉及我们或我们在开曼群岛或其他地方的任何法院或法庭的事务。
但是,此类现任或前任董事(包括候补董事),秘书或高级职员因其自身的不诚实行为而引起的任何事项均不得获得赔偿。
在法律允许的范围内,我们可以通过预付款,贷款或其他方式支付或同意支付现任或前任董事(包括候补董事),秘书产生的任何法律费用,或我们的任何高级管理人员就上述任何事项提出的条件是,董事(包括候补董事),秘书或高级管理人员必须偿还我们支付的款项,直至最终发现不承担赔偿董事的责任(包括候补董事),秘书或该人员承担这些法律费用。
根据赔偿协议(其形式作为本注册声明的附件10.2提交),我们将同意赔偿我们的董事和高级管理人员因其作为董事而提出的索赔而产生的某些责任和费用或官员。
包销协议的形式将作为本注册声明的附件1.1提交,还将规定对我们以及我们的管理人员和董事进行赔偿。
在根据上述规定允许董事,高级管理人员或控制我们的人对根据《证券法》产生的责任进行赔偿的范围内,我们获悉,SEC认为,这种赔偿违反了《证券法》所表达的公共政策,因此无法执行。
项目7。最近未注册证券的销售。
在过去的三年中,我们发行了以下未根据《证券法》注册的证券。我们相信根据《证券法》第D条或《证券法》第4(2)条,根据《证券法》的规定,以下每项发行均免于注册,涉及不涉及公开发行的交易或依赖《证券法》中有关发行人在离岸交易中销售的S规则。没有承销商参与这些证券的发行。
| 证券/购买者 | 发行日期 | 数量 证券* |
考虑因素 | |||||||
| 普通股** | ||||||||||
| 丹东环球有限公司 | 七月26,2019 | 93,000 | $ | 93 | ||||||
| 海利环球有限公司 | 七月26,2019 | 3,000 | $ | 3 | ||||||
| Yetta Global Limited | 七月26,2019 | 2,000 | $ | 2 | ||||||
| YVAN环球有限公司 | 七月26,2019 | 2,000 | $ | 2 | ||||||
| A类普通股 | ||||||||||
| 丹东环球有限公司 | 2021年3月27日 | 2,610,000 | $ | 2,610 | ||||||
| Yetta Global Limited | 2021年3月27日 | 178,000 | $ | 178 | ||||||
| YVAN环球有限公司 | 2021年3月27日 | 178,000 | $ | 178 | ||||||
| B类普通股 | ||||||||||
| 丹东环球有限公司 | 2021年3月27日 | 5,400,000 | $ | 5,400 | ||||||
| 海利环球有限公司 | 2021年3月27日 | 267,000 | $ | 267 | ||||||
| C&C Capital Investments LLC | 2021年3月27日 | 267,000 | $ | 267 | ||||||
| * | 证券数量反映了我们的股东和董事会于2021年3月27日批准的普通股每1,000股远期拆分。 |
| ** | 2021年3月27日,我们的股东批准将Danton Global Limited持有的90,000股已发行普通股重新指定为90,000股A类普通股,将Yetta Global Limited持有的2,000股已发行普通股重新指定为2,000股A类普通股,Yvan Global Limited持有的2,000股已发行普通股转换为2,000股A类普通股,Haily Global Limited持有的3,000股已发行普通股转换为3,000股B类普通股。 |
II-1
项目8。展品和财务报表时间表。
| (a) | 展品 |
请参阅本注册声明第II-5页开始的展览索引。
| (b) | 财务报表明细表 |
省略了附表,因为其中要求提供的信息不适用或显示在合并财务报表或其附注中。
项目9。承诺。
签名后的注册人在此承诺在承销协议规定的截止日期向承销商提供承销商要求的面额和名称的证书,以允许立即交付给每个购买者。
在根据第6条所述的规定允许注册人的董事,高级管理人员和控制人对根据《证券法》产生的责任进行赔偿的范围内,或在其他方面,已告知注册人,证券交易委员会认为,这种赔偿违反了《证券法》所表达的公共政策,因此无法执行。如果对此类责任提出了赔偿要求(注册人为成功辩护任何诉讼,诉讼或程序而由注册人的董事,高级管理人员或控制人支付或支付的费用除外)该董事,与所注册证券有关的高级管理人员或控制人,除非其律师认为此事已通过控制先例解决,否则注册人将,将其赔偿是否违反《证券法》所表达的公共政策的问题提交给具有适当管辖权的法院,并以该问题的最终裁决为准。
签名后的注册人特此保证:
(1)为了确定《证券法》规定的任何责任,根据规则430A,作为本注册声明一部分提交的招股说明书形式中省略的信息并包含在注册人根据《证券法》第424(b)(1)或(4)或497(h)条提交的招股说明书形式中,自宣布之日起,应视为本注册声明的一部分。有效。
(2)为了确定《证券法》规定的任何责任,每项包含招股说明书形式的事后生效的修正案均应视为与其中提供的证券有关的新的注册声明,并且当时发行的此类证券应被视为其真实的初始发行。
(3)为了确定《证券法》对任何购买者的责任,根据规则424(b)提交的每份招股说明书均作为与发行有关的注册声明的一部分,但不包括根据规则430B提交的注册声明或根据规则430A提交的招股说明书,自生效后首次使用之日起,应被视为注册声明的一部分并包含在注册声明中。但是,前提是在注册声明或招股说明书中作为注册声明一部分的声明,或在通过引用并入或视为通过引用并入注册声明或招股说明书中作为注册声明一部分的文件中的声明均不会,对于在首次使用之前具有销售合同时间的购买者,取代或修改紧接首次使用之日之前在注册声明或招股说明书中作为注册声明一部分或在任何此类文件中做出的任何声明。
(4)为了确定《证券法》规定的注册人在证券的初始发行中对任何购买者的任何责任,签名的注册人承诺根据本注册声明在签名的注册人的首次证券发行中承担责任,无论采用何种承销方式将证券出售给购买者,如果通过以下任何一种方式将证券出售或出售给购买者,签名后的注册人将是买方的卖方,并将被视为向买方提供或出售此类证券:
(i)与根据规则424要求提交的要约有关的任何初步招股说明书或签名的注册人的招股说明书;
(ii)与由签名的注册人或代表签名的注册人准备或由签名的注册人使用或提及的要约有关的任何自由书面招股说明书;
(iii)与要约有关的任何其他自由书面招股说明书的一部分,其中包含有关由签名的注册人或代表签名的注册人提供的签名的注册人或其证券的重要信息;和
(iv)签名的注册人向购买者提出的要约中的任何其他通讯。
II-2
签名
根据1933年《证券法》的要求,注册人证明其有合理的理由相信其符合填写F-1表格的所有要求,并已适当地促使本注册声明由以下机构代表其签署:签名人,于2021年6月2日在中华人民共和国乌鲁木齐市正式授权。
| 香颂国际控股 | ||
| 通过: | /s/程晨 |
|
| 程晨 | ||
| 首席执行官兼董事 | ||
| (首席执行官) | ||
根据1933年《证券法》的要求,以下人员以指定的身份和日期签署了本注册声明。
| 签名 | 标题 | 日期 | ||
| /s/程晨 | 首席执行官兼董事 | 2021年6月2日 | ||
| 姓名:程晨 | (首席执行官) | |||
| /s/蔡继红 | 首席财务官 | 2021年6月2日 | ||
| 姓名:蔡继红 | (首席会计和财务官) | |||
| 李刚 | 董事会主席 | 2021年6月2日 | ||
| 姓名:李刚 |
II-3
在美国的授权代表签名
根据经修订的1933年《证券法》,签名人(香颂国际控股公司在美利坚合众国的正式授权代表)已于2021年6月2日在纽约签署了本注册声明或其修正案。
| 程晨 | ||
| 授权美国代表 | ||
| 通过: | /s/程晨 | |
| 姓名:程晨 | ||
| 职称:首席执行官兼董事 |
II-4
展览指数
II-5
| 21.1** | 子公司 | |
| 23.1* | 弗里德曼律师事务所的同意 | |
| 23.2** | Ogier的同意书(包含在图表5.1中) | |
| 23.3* | Dentons的同意书(包含在图表99.7中) | |
| 99.1** | 注册人的商业行为和道德守则 | |
| 99.2** | 弗若斯特沙利文(北京)有限公司上海分公司的同意。 | |
| 99.3** | 杜勇的同意 | |
| 99.4** | 王志远的同意 | |
| 99.5** | 聂寿华的同意 | |
| 99.6** | 刘宇晨的同意 | |
| 99.7* | 中华人民共和国注册人法律顾问Dentons关于某些中国法律事项和VIE协议有效性的意见 |
| * | 随此提交。 |
| ** | 先前提交。 |
| *** | 通过修改提交。 |
II-6